Лекции (862469), страница 5
Текст из файла (страница 5)
Косточкин. Надежность авт. Двигателей и силовых установок
Функции, выполняемые АСС (см. начало лекции – транспортировка, загрузка детали, обработка, измерение)
Вероятности выполнения отдельных функций для столбца i за время t можно определить по формуле, полученной на основе сложения вероятностей несовместимых событий и умножения вероятностей независимых событий.
*
– вероятность выполнения i-ой функции
- вероятность безотказной работы элемента или узла подсистемы
- вероятность отказа элемента подсистемы j по отказу вида
за время t при выполнении iой функции
Выполнение первой функции
- загрузка детали на гибкий производственный модуль
Дано:
Вероятность безотказной работы.
Лекция 12
Определить (рассчитать, оценить) необходимое число позиций АСС
– число позиций АСС, ГПС
ГПС – «взаимозаменяемые» и «взаимодополняющие»
Рисунок 1
Сможет ли система обработать другие детали (которые будут обрабатывать в 2016 году). ГПС становится менее эффективной, чем для той партии деталей, для которой была спроектирована
Взаимозаменяемые станки – n одинаковых станков для повышения производительности. Количество станков определяется тактом линии
– цикл обработки
- такт линии
Взаимодополняющие станки – для реализации более сложного технологического процесса и для обработки детали, имеющие разнообразные элементы поверхности, которые не могут быть обработаны только на одном станке
Проектирование связано с надежностью.
P(t) – вероятность безотказной работы ГПС
Т.В. – технологические возможности АСС
n – число позиций АСС
Рисунок 2
Стоимость проектных работ очень высокая при разработке гибких производственных систем.
В 2000 году было проанализировано порядка 500 различных ГПС.
Большая часть ГПС от 2 до 8 позиций
Рисунок 3
Раздаточный 10.10.2012 (знать)
Существует ГОСТ 20237-(84) регламентирует расчет надежности восстанавливаемых объектов.
Кривые усталости (кривые Велера)
Рисунок 4
N – число циклов до разрушения
(чередование участков)
Экспериментальное определение надежности
- коэффициент технического использования. Учитывает простои, связанные с надежностью этой технологической машины.
учитывает отсутствие заготовок, организационные потери
Нормальное распределение вероятности безотказной работы
Для вероятности безотказной работы станочного оборудования характерно нормальное распределение вероятности безотказной работы.
Рисунок 5
М – среднее кинематическое ожидание безотказной работы
– среднеквадратическое отклонение
Эмпирические данные по отказам цилиндрической пружины (сжатие/разжатие пружины)
| Количество циклов (тысяч) | |
| 1 | 190 |
| 2 | 245 |
| 3 | 265 |
| 4 | 300 |
| 5 | 320 |
| 6 | 370 |
| 7 | 400 |
Рисунок 6
Расчет надежности в домашнем задании
B - Потери, приходящиеся на 1 минуту бесперебойной работы
- система управления
– время участия iого инструмента в обработке изделия (время резания)
– стойкость инструмента
- число деталей, которые можем обработать за период стойкости
– время смены инструмента
учитывает потери времени при аварийной смене инструмента с помощью S
S - Наработка на отказ периода стойкости инструмента
| Спиральное сверло | S=15 (каждое 15 сверло ломается) |
| Расточной резец | S=40 |
| Фреза | S=60 |
| Зенкер | S=30 |
Потери по оборудованию записывали ранее 0,1…0,15 (связаны с коэффициентом технического использования)
Лекция 13
ПАСК – проектирование. Проектирование – научно-техническое предсказание.
При проектировании существует альтернативы (есть много вариантов).
Срок службы оборудования 6…8…10 лет
Есть несколько альтернатив, которые надо рассмотреть и выбрать какой вариант лучше.
Квалиметрия – наука, которая оценивает качество технического изделия по ряду параметров.
Автоматический цех по производству карданных подшипников
//почему подшипник название? Раньше бревном передавали вращение. Вставляли в его концы дуб (название шип). А опора под ним подшипник.
Используются автоматические линии из специального оборудования.
Используются 5АЛ
Производительность каждой 5…7 млн/год
Рисунок 1
-
Заготовительный участок
-
Участок химико-технологической и термической обработки
-
Прессовый участок
-
Токарный участок
-
Участок термической обработки
-
Шлифовальный участок
-
Участок контроля
-
Участок сборки и упаковки
Такт примерно 20 секунд
Изготовление подшипника начинается с рубки прутка на прессе. Имеется обгонная муфта (толкает пруток только в одну сторону). Муфта совершает возвратно поступательное движение. Сама движется вправо, захватывает заготовку и с ней движется влево. После рубки остаются крупные заусенцы.
Рисунок 2
2ая операция осадка. Ударяем по блину и получается 40 мм (это нужно, чтобы убрать заусенцы)
Рисунок 3
3я операция снятие внутренних напряжений. Отжиг детали – 850…900oС. Деталь проходит через индуктор и снимаются внутренние напряжения (после транспортера). ТВЧ – свой индуктор.
Рисунок 4
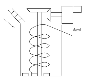
4ая операция охлаждение детали в специальном холодильнике. Деталь подается на верх спирали и спускается вниз. Внутренняя часть совершает колебания (туда-сюда), чтобы двигалась деталь.
Рисунок 4
5 – химико-термическая обработка. Для улучшения вытягиваемости стаканчика.
Рисунок 5
Имеется сосуд со спиралью Архимеда. Вверху конический привод и двигатель. Происходит вращение спирали Архимеда. Детали падают вниз. Насыщение осуществляется засчет того, что детали падают в фосфорсодержащие соли. Спираль Архимеда вытягивает их вверх и подает на следующую позицию.
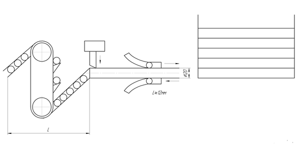
6 – вытяжка. Матрица неподвижная, а пуансон совершает возвратно-поступательные движения. Пуансон имеет конусность (но минимальный). Как подать заготовку? Выгружается с помощью толкателя в отводящий от пресса лоток.
Рисунок 6
7 – промывка стаканчика от нежелательных загрязнений (горячей водой). Поверх участка кожух.
Рисунок 7
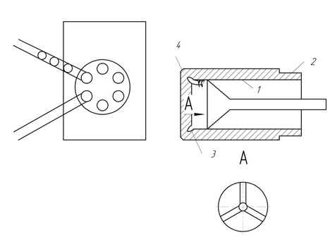
8 – токарная обработка. Используется шестишпиндельный токарный автомат.
Рисунок 8
Обработка поверхности 1 с помощью трехперого зенкера – обточка внутренней поверхности. Этот зенкер имеет 3 режущих лезвия. Обработка поверхности 2 осуществляется от поперечного суппорта. 3 операция – прорезка канавок. 4 – можно снять фаски.
Как изготавливаются тела качения? Подается пруток между 2 волками. Волки зашлифованы так, чтобы менялся диаметр. И в конце происходит отрезание.
Рисунок 9
9 – операция термической обработки корпусов
Рисунок 10
Операция ТО осуществляется с одновременной с газовой цементацией изделия.
Справа цепной привод. Имеются подшипники. Со всех сторон нагреватели. Печь вращается с помощью привода с небольшой скоростью. Внутри детали совершают движение – винт Архимеда.
Газ подается для цементации.
10 – операция промывки
11 – операция высокотемпературного отпуска. Делает деталь более вязкой
12 – бесцентровая шлифовка подшипников
Рисунок 11
Опорный круг расположен под небольшим углом к опорному кругу. Это надо, чтобы на подшипнике появлялись составляющая скорости V, которая будет перемещать подшипник от А к B.
Загрузка подшипников тоже осуществляется автоматически. Имеется лоток.
Рисунок 12
При перемещении влево ползушки на призму падает один подшипник, когда перемещается вправо, то толкает столбик подшипников в сторону шлифовальных кругов. Ползушка играет только отсекателя по одной детали.
Лекция 14
Подготовиться к лабе номер 5 (к декабрю) – взять диск у Баланды. Имитационное моделирование АСС. Порешать задачи
6ого 12.00 будет 5ая лаба
13 – внутренняя шлифовка
Осуществляется на специальном внутришлифовальном аппарате.
Есть шлифовальный круг для внутренней шлифовке.
Рисунок 1
После ввода круга в раб. пол. На автомат надевают измерительную скобу.
Измерительная скоба (внизу зубчик) – устройство, которое приводится в движение специальным механизмом
М.П. – механизм привода
Сильфон механически связан с прецизионным сопротивлением.
















