Лекции (862469), страница 10
Текст из файла (страница 10)
Лекция 26
Сортировка шариков по размерам осуществляется на 2х цилиндрах, которые расположены под углом друг к другу.
Схемно-сортировочные машины
Рисунок 1
Происходит предварительная разбраковка тел вращения (падают в нужные ячейки) (диаметр 6-8)
Ровный шарик образуетя при обрабтке в окислах, потом полирование в кожухе
И окончательный контроль по 2-3 мкм.
Сборка подшипников осуществляется с помощью селективного метода, потому что он непосредственно связан с измерениями.
Внутрь наружного кольца подшипника укладывают сепаратор. Затем вставляют внутреннее кольцо с помощью отсекателя/автооператора. Далее измерение диаметра. Сдвигают внутреннее кольцо, загружают подшипники, назад кольцо. Вставляем верхний сепаратор.
Рисунок 2
Комплектовочные системы – автоматическое средство измерения, которое определяет пару комплектующих деталей, обеспечивающих оптимальное функционирование соединений (оптимальные посадки)
Дупликсация – измеряются размеры детали, входящие в размерную цепь и автоматически вычисляются размеры компенсирующих прокладок или компенсирующих элементов, что повышает качество сборки.
Датчик электроконтактный двухпредельный.
Рисунок 3
Модель 233
Цена деления 0,001 мм
Диапазон измерения 0,4 мкм
Нестабильность срабатывания контактов: 0,0005
Смещение настройки после 25 000 измерений +- 0,0005
Измеритиельные усилия 30-60
Рисунок 4
Импортное устройство
Цена деления 500 мкр-0,05 мкр
Лекция 27
Автоматизация сборочных работ
Книга Гибкие сборочные системы
Под редакцией Хегинботама
В.В. Косилов. Технологические основы проектирования автоматического сборочного оборудования. М. Машиностроение 1976
Трудоемкость сборочных работ в машиностроении и приборостроении составляет 25-30% всех трудозатрат при изготовлении изделия.
90-85% вручную
Трудности автоматизации сборочных работ
-
Отработка на технологичность конструкции собираемого изделия и его деталей с точки зрения автоматизации сборки
-
Унификация и агрегатирование методов сборки, сборочных механизмов, устройств, методов ориентирования, соединения и крепления деталей
-
Качество собираемых изделий, точность размеров, взаимного положения поверхностей, частоты поверхности и т.д.
-
Экономическая целесообразность автоматизации сборки при заданной программе выпуска.
Рисунок 1
Норма 250 000 штук
Можно собирать насос разными способами. 6 вариантов последовательности сборки
Оснащение сборочного места механическими полуавтоматическими устройствами для выполнения сборочных операций.
Полуавтоматическая – часть работ выполняется вручную, а большая часть автоматически.
Предварительная обработка конструкции собираемого изделия на технологичность сборки предусматривает:
-
Возможность расчленения на сборочные единицы (подузлы, узлы, детали и т.д.)
-
Доступность выполнения крепежных работ
-
Необходимость дополнительной обработки деталей (снятие заусенцев, сортировка, мойка, смазка и т.д.)
-
Взаимозаменяемость деталей и подсборок
-
Устранение в собираемом изделии всяческих заделок, регулировок, пригонок
-
Собираемые детали должны иметь простые, симметричные формы, наличие управляющих элементов, фасок и других конструктивных особенностей, обеспечивающих быструю ориентацию, подачу и установку деталей на место при сборке.
Для автоматизации сборки определенный цикл работ
-
Выбор наивыгоднейших схем базирования и ориентации собираемых деталей. При этом сборка может быть подетальная (изделие собирается из отдельных деталей) или поузловая.
-
Разработка подающих, исполнительных, ориентирующих и базирующих механизмов, механизмов и способов закрепления деталей при сборке и т.д. При сборке усилия базирования, закрепления как правило меньше, чем усилия при механической обработке. Основное требования к ним – точность закрепления детали.
-
Разработка унифицированных сборочных агрегатов: станины и стойки, транспортные средства, которые перемещают собираемые изделия с одной позиции на другую
-
Бункерные загрузочные устройства. В них могут храниться крепежные элементы и другие простые. Бункерные загрузочные устройства часто производят предварительную ориентацию.
-
Механизмы и устройства поштучной выдачи
-
Разработка и использование сборочных роботов. Сборка деталей типа вал-втулка (в подшипник вставляем тела качения; в одну деталь вставляем другую). Сборка засчет штабелирования или стабелирования (на одну деталь накладываю вторую, третью, четвертую).
-
Использование отработанных и опробованных алгоритмов и программ управления, применение современных датчиков и систем управления.
Принципиальная схема сборочного автомата
Рисунок 2
1 - автоматически загрузочное бункерное устройство
2 – лоток
Детали могут подаваться с предварительной ориентацией (кольцо в плоскости,а не вертикально) или с окончательной ориентацией (в какую сторону будет направлено отверстие).
3 – устройство окончательной ориентации (заусенцы вверх или вниз – если вниз, то натыкаются на штырь и переворачивается)
4 – накопитель (магазин) предназначен для образования заделов собираемой детали
5 - питатель (подает детали)
6 – сборочное приспособление
7 – механизм закрепления (похож на гидро или пневмо цилиндр)
Лекция 28
Условия собираемости деталей при сборке
Задача собираемости 2х изделий решается на основе составлена и анализа размерных цепей – линейных и угловых
– угловой поворот
– наклон в вертикальной плоскости
– наклон в горизонтальной плоскости
Смещение торца Т1 относительно торца Т2 было бы меньше зазоров в сопряжении
//проверка индикатором какая перпендикулярность относительно плоскости стола
Замыкающим звеном является смещение детали относительно оси втулки.
Угловые смещения приводится к линейным смещениям.
- замыкающие звенья размерных цепей, характеризующее точность относительного расположения собираемых деталей в пространстве
Типовая технологическая схема сборки шатунно-поршневой группы двигателя внутреннего сгорания
Рисунок 1
Сборка пальца с поршнем и шатуном
Рисунок 2
Подача поршневых колец – ставятся с помощью конусов.
Установка стопорных колец в вытачку в корпус
Рисунок 3
Сборка комплекта колец
Рисунок 4
Оправка разжимает кольца (они становятся больше диаметром) до диаметра поршня и зажимаем кольца. Далее вставляем шатун и поршень – разжатие. И колечки обхватывают расточки.
Рисунок 5
Завинчивание крышки, маркировка шатуна с крышкой, отвинчивание (чтобы одеть на коленчатый вал), съем крышки
Далее эта шатунно-поршневая группа поступает на сборку
Типовая компоновка автоматической сборочной линии
Самостоятельно
Лекция 29
Управление в автоматизированных станочных системах
Управляющие вычислительные комплексы для промышленной автоматизации под редакцией Прохорова и Сюзева, учебное пособие. Издательство МГТУ им. Н.Э. Баумана. Москвса, 2012.
Управление вычислительными комплексами. Москва.: Финансы и статистика. 2003 г. Учебное пособие
АСУ – автоматизированное станочное оборудование
АСУП – предприятием
АСУТП – технологическим процессом
Управление - основа рациональной деятельности человека, предприятия, государства
Управление производится потоками материалов, энергией, информацией и т.д.
В настоящее время наметилось преобразование пост индустриального общества в информационное.
Базовой основой автоматизированного управления являются технические и программные средства вычислительной техники – промышленный управляющий вычислительный комплекс (УВК)
Система малых управляющих вычислительных машин (СМ ЭВМ) – 60-70ые годы. Стало стандарт УВК (80-90-00)
ИНЭУМ им. И.С.Брука. Институт электронных управляющих машин.
СМ ЭВМ содержит:
-
Базовые модели мини и микро ЭВМ
-
Базовый ряд процессоров различной производительности
-
Широкая номенклатура ОЗУ, ПЗУ
-
Устройство связи сопряжения с объектом, устройство отображения информации, периферийное устройство и т.д.
-
Телекоммуникационные средства
-
Технические средства внутри машины и межмашинные связи
Упрощенная структурная схема УВК
Рисунок 1
1 – блок центрального процессора (ЦП)
1’ – порты ввода/вывода
2’ – арифметико-логическое устройство (АЛУ)
3’ – таймер
4’ – контроллер прерывания
5’ – контроллеры периферийных устройств
6’ – внутренняя память (ОЗУ и ПЗУ)
2 – внешняя память ОЗУ, ПЗУ
3 – видеотерминал
4 – принтер
5 – ЦАП – АЦП
6 – устройство дискретного ввода/вывода
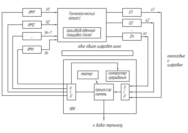
Схема включения АВК в замкнутый контур управления
Рисунок 2
y1, …, yn – управляющие сигналы
х1…хn – измеряемые параметры технологического процесса
Di – датчики
ИМ – исполнительные механизмы
УСО – устройство связи с объектом
Государственная система промышленных приборов и средств автоматизации
Средства централизованного контроля и регулирования
Регулируемый микропроцессорный контроллер Ремиконт-100
Производственная площадь (производственная площадка) – место расположения управляемого технологического оборудования
Традиционная централизованная система управления
(4-20 мА)
Рисунок 3
















