6 (728033)
Текст из файла
ЛЕКЦИЯ 6
Обратная связь
Сегодня мы исследуем на первый взгляд очень вредное явление – обратную связь.
Что такое обратная связь? Это очень просто. Во всех устройствах, где есть вход и выход, есть какие-то паразитные влияния выходных сигналов на входные сигналы. Кажется, с этим надо бороться. Но сначала давайте посмотрим, к чему это приводит.
На рис. показано усилительное устройство с одним входом и одним выходом (треугольник), наличие обратной связи показано прямоугольником, и эта обратная связь добавляется или отнимается от входного сигнала:
Пусть сначала часть выходного сигнала (В<1) вычитается из входного сигнала. Тогда это отрицательная обратная связь (ООС), и на входе усилителя будет сигнал
Но К – коэффициент усиления усилителя, и конечно, он больше единицы. Поэтому
Из этих двух уравнений можно исключить Uвх0, получится:
Теперь можно сгруппировать входное и выходное напряжение и найти их отношение, т.е. коэффициент усиления с обратной связью:
Таким образом, видно, что при наличии ООС Кос всегда меньше или равен К0 (последнее будет, когда В=0, т.е. обратной связи нет).
Итак, вредность ООС очевидна – она уменьшает коэффициент усиления. Посмотрим всё же внимательнее на знаменатель. Там произведение ВК0 может быть любой величиной, в том числе и большой (значительно больше 1). Но тогда единицей можно в знаменателе пренебречь. И К0 сократится, останется:
Итак, мы видим, что коэффициент усиления в этом случае совершенно не зависит от исходного коэффициента К0, а определяется некоторой случайной величиной В.
Но вот какая особенность. К0 – величина довольно неопределённая. Во первых, она сильно зависит от - коэффициента усиления транзисторов по току, во вторых – сильно зависит от температуры, и вообще довольно нестабильная величина. А В можно сделать специально и довольно точно. Так как В <1, то не требуется усилитель в ООС, то есть можно обойтись, например, резисторами. Итак, В можно сделать заданной с точностью 10-4 ...10-6 , а К0 – с точностью до 100% или хуже. То есть если сделать обратную отрицательною связь специально, то можно улучшить точность задания коэффициента усиления за счёт уменьшения самого усиления (1/В больше, чем единица, но меньше, чем К0 ).
Теперь посмотрим более точно, во сколько же раз можно улучшить точность коэффициента усиления. Для этого нужно продифференцировать выражение для Кос по К0 :
Величину F=1+BК0 называют глубиной обратной связи. Это именно та величина, в которую уменьшается коэффициент усиления при ООС. Чтобы уменьшить влияние этого фактора, умножим полученную формулу на F:
Итак, влияние любой нестабильности К0 на Кос уменьшается в F раз, то есть в глубину отрицательной обратной связи.
Позже мы подробнее рассмотрим влияние ООС на Кос.
А сейчас напишем явное выражение для Uвх0 :
Непосредственно на входе усилителя при большой глубине ООС напряжение очень маленькое.
Теперь рассмотрим случай положительной обратной связи (ПОС) – это когда на входе прибавляется часть выходного сигнала. В окончательной формуле изменится только знак:
Возможны три случая:
-
BK0<1. Ясно, что это когда Кос>K0. Казалось бы, это очень полезный случай – коэффициент усиления увеличился, его можно сделать сколь угодно большим. Но как мы видели раньше при обсуждении ООС, обычно коэффициент усиления усилителя плоховат (не очень стабилен), а при увеличении его за счёт ПОС он становится совсем нестабильным. Поэтому этот случай совсем не используется.
-
BK0=1. В этом случае формула вообще не справедлива, так как в знаменателе получается 0, а на 0 делить нельзя. Нужно заново рассмотреть вывод формулы, чтобы учесть что-то что мы не учли при её выводе. Но мы этого делать не будем, скажем только, что случай бесконечно большого коэффициента усиления соответствует условию генерации сигнала – усилитель превращается в генератор. Вот это как раз используется: практически всегда, когда надо сделать генератор синусоидальных, прямоугольных или других периодических сигналов, берут хороший усилитель и делают ПОС, удовлетворяющую указанному условию.
-
BK0>1. Ясно, что подсчитать результат по формуле можно, К0<0. Но подозрение на применимость осталось, ведь что-то мы не учли. Более внимательное рассмотрение показывает, что это тоже ситуация, когда получается из усилителя генератор.
Больше мы ПОС рассматривать не будем, а вернёмся к рассмотрению ООС. При этом будем считать, что это не вредное, а очень полезное явление, и возникает не случайно, а сделано нарочно. Поэтому будем заранее считать, К0 не очень стабильная величина, но очень большая. А за счёт применения ООС мы добиваемся улучшения стабильности усилителя с некоторой потерей коэффициента усиления.
Амплитудно-частотная характеристика
Рассмотрим амплитудно-частотную характеристику усилителя (АЧХ). Очевидно, что для этого нужно построить зависимость амплитуды (коэффициента усиления) от частоты в двойном логарифмическом масштабе. Почему? Потому что сложные зависимости амплитуды от частоты в двойном логарифмическом масштабе превращаются в простые. Пример представлен на рис., верхняя кривая:
Для одиночного каскада, у которого верхнее и нижнее ограничение по частоте обычно связано с одной RC- цепочкой, нарастание и спад коэффициента усиления связано с частотой пропорционально (рост пропорционален f, спад обратно пропорционален f). В двойном логарифмическом масштабе и то и другое будет идти по прямой, наклонённой под 450 к горизонтали. Другое удобство заключается в том, что двойной логарифмический масштаб полезен при больших изменениях частот и коэффициентов усиления.
Ещё нам надо будет искать сигнал, равный 0,7 от Кмакс. Это значит, что нужно отступить вниз от Кмакс на один и тот же шаг вне зависимости от того, чему равен Кмакс.
Итак, у нас есть кривая К0, это верхняя кривая на рис., которая описывает частотные свойства усилителя без обратной связи. Надо отступить от максимального значения К0 на уровень 0,7 – этот уровень и определяет нижнюю и верхнуюю частотные границы, а их разность - f0 это полоса частот.
Что же будет при использовании ООС? Надо применить уже известную формулу. Если ВК0>>1, то Кос=1/В. В противном случае Кос
Улучшится также и сама частотная характеристика. Например, у нас плохая, неравномерная характеристика, как на рис. ниже.
Очевидно, неравномерности частотной характеристики уменьшатся в F раз.
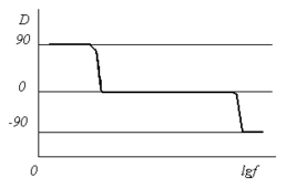
Известно, что при наличии амплитудно-частотной неравномерности имеется ещё и фазо-частотная неравномерность. Например, для характеристики на последнем рис. фазовая характеристика будет как на верхнем рис. При применении ООС кривая сгладится так, что там, где ООС действует (глубина обратной связи велика), там фаза будет стремится к нулю, см. рис.
П
онять это можно из следующих рассуждений. Если мы учитываем в формуле для коэффициента усиления также и сдвиг фаз, то это комплексные коэффициенты усиления. Напишем уравнение для комплексных коэффициентов усиления, обозначив комплексные величины точкой сверху:
Д
авайте построим теперь на комплексной плоскости вычисление Кос.; пусть K0. – коэффициент усиления, очень большой, велика длина, и имеет некоторый угол, отображающий фазу. ВK0. немного меньше и совпадает с ним по фазе, а 1+ВK0. будет только немного отличаться, так как 1 мало. Теперь надо K0. поделить на 1+ВK0. При делении компелксных чисел модули делятся, а фазы вычитаются. Поэтому Doc
исключая отсюда х и пренебрегая синусом (считаем, что углы малые), получим
откуда
Итак, сдвиг фазы при наличии ООС уменьшается в глубину обратной связи F.
До сих пор мы нигде не учитывали, что усиление по напряжению. Можно было бы сказать, что коэффициент усиления по току, и всё осталось бы точно так же. То есть всё, что мы обсудили про положительное влияние ООС, будет справедливо и для усилителей токов. Но есть параметры усилителей, которым это не всё равно. Это – входное и выходное сопротивления. Для того, чтобы понять, как влияет ООС на них, рассмотрим четыре разных случая.
-
Последовательная обратная связь по напряжению. Что это значит? Попросту это значит, что часть выходного напряжения снимается с нагрузки и прибавляется к входному напряжению. Составим таблицу:
| Вход | Выход |
| Напряжение | Напряжение |
В этом случае
после преобразования:
мы видим, что входное сопротивление увеличивается в глубину обратной связи.
Выходное сопротивление наоборот уменьшается в F раз:
-
Последовательная обратная связь по току. На входе сигнал подаётся по напряжению, с выхода он снимается пропорциональный току.
| Вход | Выход |
| Напряжение | Ток |
В этом случае входное сопротивление также растёт
Иначе обстоит дело в выходным сопротивлением:
где Roc – сопротивление, с которого снимается сигнал, пропорцинальный выходному току. Так что в этом случае мы видим, что и входное, и выходное сопротивление велики, примерно в F раз больше, чем у обычного усилителя.
-
Параллельная обратная связь по току. В этом случае часть выходного тока подаётся на вход и вычитается из входного тока. Поэтому результат будет как в таблице.
| Вход | Выход |
| Ток | Ток |
Входное сопротивление уменьшается:
а выходное сопротивление увеличиваеься:
-
Параллельная обратная связь по напряжению. В этом случае на входе прибавляется ток, а с выхода снимается напряжение.
| Вход | Выход |
| Ток | Напряжение |
В этом случае и входное, и выходное сопротивления уменьшаются примерно в F раз:
Мы уже убедились, что ООС при больших коэффициентах усиления (от 1000 до 1000 000) и глубокой обратной связью F > 100 очень полезна: хоть коэффициент усиления и становится меньше, но зато улучшаются частотные свойства, линейность усилителя, фазовые характеристики и т.д. Но бывает, что при охвате ООС усилителя с большим числом каскадов часто возникает самовозбуждение, и усилитель превращается в генератор.
Почему это происходит? Дело в том, что ООС – это когда сдвиг фазы между входом и выходом составляет 1800. Но усилителей с бесконечно большой полосой частот не бывает – где-то бывает спад частотной характеристики. При этом известно, что если в двойном логарифмическом масштабе рост или спад идёт под углом в 450 , то добавляется или отнимается сдвиг фазы 900. А если усилитель двухкаскадный, то будет 1800. Но в сумме это уже 3600 – то-есть получается вместо ООС ПОС – положительная обратная связь. Если при этом и коэффициент усиления больше 1, то получится генератор. Эту ситуацию иллюстрирует рис. Есть простой метод борьбы с этим явлением. Нужно в выходном каскаде усилителя поставить ёмкость, так, чтобы она ограничивала коэффициент усиления так, чтобы спад характеристики был под 450 при большом коэффициенте усиления.
Характеристики
Тип файла документ
Документы такого типа открываются такими программами, как Microsoft Office Word на компьютерах Windows, Apple Pages на компьютерах Mac, Open Office - бесплатная альтернатива на различных платформах, в том числе Linux. Наиболее простым и современным решением будут Google документы, так как открываются онлайн без скачивания прямо в браузере на любой платформе. Существуют российские качественные аналоги, например от Яндекса.
Будьте внимательны на мобильных устройствах, так как там используются упрощённый функционал даже в официальном приложении от Microsoft, поэтому для просмотра скачивайте PDF-версию. А если нужно редактировать файл, то используйте оригинальный файл.
Файлы такого типа обычно разбиты на страницы, а текст может быть форматированным (жирный, курсив, выбор шрифта, таблицы и т.п.), а также в него можно добавлять изображения. Формат идеально подходит для рефератов, докладов и РПЗ курсовых проектов, которые необходимо распечатать. Кстати перед печатью также сохраняйте файл в PDF, так как принтер может начудить со шрифтами.
















