2 (728028)
Текст из файла
Электропроводность полупроводников
Электрический ток – это перенос электрических зарядов. Известно, что электрические заряды присущи элементарным частицам. Причём бывают положительные и отрицательные заряды. Так, атомы состоят из положительно заряженных ядер и отрицательно заряженных электронов. Самый малый заряд у электрона. Электроны притягиваются к ядру. У ядра атома заряд больше, но он кратен заряду электрона. В целом атомы нейтральны, так как число электронов равно заряду ядра. Но иногда электрон может быть оторван от атома. Обычно это легко делается при высоких температурах. Например, в радиолампе разогретый катод испускает электроны (котрые в 2000 раз легче атомов), и они участвуют в переносе тока от катода к аноду.
В твёрдых телах ситуация более сложная, так как электроны не свободны. Известно, что в отдельном атоме электрон находится в поле притяжения положительного заряда. Это можно представить себе как потенциальную яму, см. рис. слева. На рис. показана зависимость энергии от координаты для одного атома слева и для кристалла справа. В случае одного атома это просто уменьшение энергии от нуля в бесконечности до минус бесконечности в центре ядра. В потенциальной яме в случае очень малых частиц, когда применимы законы квантовой механики, всё не так, как в классической механике. Существует дискретный ряд разрешённых энергий, с которыми могут существовать электроны в атоме. Причём по принципу Паули на каждом энергетическом уровне может находиться только один электрон. А в случае кристалла, когда атомы расположены строго периодически и на очень близком расстоянии друг от друга, картина принимает вид как на рис. справа (здесь, конечно, изображена одномерная ситуация, а не трёхмерная, для простоты). Видно, что из-за перекрытия потенциальных ям их высота понизилась, за исключением крайних потенциальных ям. Квантовая механика говорит, что в случае очень малых расстояний частицы (в данном случае электроны) могут преодолевать потенциальный барьер, не получая дополнительной энергии. Но вероятность того, что они преодолеют этот барьер, обратно пропорциональна ширине и высоте барьера, и даже в экспоненциальной форме. Поэтому только на атомном уровне сказывается квантовый эффект, который называется туннельным эффектом.
В результате электрон без всякой дополнительной энергии может проникнуть из одного атома в другой, соседний, затем в третий и т.д. Другими словами, электроны обобществляются. Но принцип Паули запрещает находиться на одном энергетическом уровне более чем одному электрону. Это приводит к тому, что каждый энергетический уровень в атоме расщепляется на энергетическую зону, которая состоит из такого числа уровней, сколько атомов в данном куске кристалла. Это очень много, в одном см3 атомов примерно 1023 . Приближённо можно считать, что энергетические зоны сплошные.
Число зон в кристалле должно соответствовать числу уровней в атоме. Но ширина зоны зависит от глубины уровня. Чем он глубже, тем меньше ширина уровня, потому что тем больше преодолеваемый в туннельном эффекте барьер. Самые глубокие уровни практически не расщепляются. Самые верхние заполненные уровни расщепляются больше всего, они имеют наибольшую ширину. В полупроводниках наиболее интересными являются верхняя заполненная зона и следующая пустая зона. Поэтому потенциальные ямы атомов обычно не рисуют, а из зон рисуют только эти две:
Символом Ev обозначают верхнюю границу последней заполненной зоны, потолок валентной зоны, а символом Ec – нижнюю границу первой пустой зоны, дно зоны проводимости. Символом Eg = Ec - Ev обозначается ширина запрещённой зоны.
Итак, мы видим, что в твёрдом теле есть заряженные частицы – электроны, и они могут двигаться по твёрдому телу. Оказывается, всё не так просто. Так например, многие твёрдые тела являются металлами, и они хорошо проводят ток; другая ситуация с диэлектриками, которые плохо проводит ток. Есть ещё и полупроводники, занимающие среднее положение между металлами и диэлектриками. Разобраться в этом позволяет зонная теория электропроводности.
В диэлектриках электронов столько, что они полностью заполняют валентную зону, а зона проводимости пуста, там электронов нет. Поэтому зона проводимости ток не проводит, а валентная зона может ток проводить, но не проводит, потому что все состояния электронов в точности симметричны, и если есть состояние с импульсор р, то найдётся и состояние с импульсом
-р, каждое из этих состояний переносит ток, но направления этих токов противоположны, и в сумме переносимый ток равен нулю. Если валентная зона полностью заполнена, то каждый электрон проводит свой маленький ток, а весь кристалл никакого тока не проводит.
Иная картина наблюдается в металлах, где электронов столько, что они заполняют валентную зону только наполовину. При нулевой температуре (по Кельвину, т.е. –273оС) все нижние состояния заполнены электронами, а все верхние – пустые. Но расстояния между состояниями очень малы, и малейшее возмущение системы, например, приложение маленького напряжения может вызвать смещение электронов из равновесного состояния, и нарушить симметрию в распределении электронов по скоростям. Таким образом довольно легко возникает электрический ток, т.е. имеется электропроводность.
При более высоких температурах возникает некоторое размытие электронов по состояниям, а именно имеется функция распределения Ферми-Дирака:
F(E) – вероятность занятия уровня с энергией E электроном, EF - некая константа, имеющая размерность энергии и называемая уровнем Ферми. Эта функция выглядит следующим образом:
З
десь функция F располагается горизонтально, а её аргумент E – вертикально. Левая сплошная линия – F(E)=0; правая пунктирная линия - F(E)=1. При Е>E2 вероятность заполнения состояний электронами равна нулю – тока нет. При E
Иначе обстоит дело с диэлектриками и полупроводниками. Электронов хватает только для того, чтобы заполнить несколько зон, в том числе и валентную, а остальные, в том числе и зона проводимости, оказываются пустыми. Ясно, что пустые зоны электричества не проводят. Но не проводят его и полностью заполненные, так как в силу симметрии кристалла все маленькие токи уравновешивают друг друга.
Но это справедливо только при нулевой температуре по Кельвину (-2730С). При более высоких температурах, и тем более при комнатных температурах, тепловые колебания атомов кристалла часть своей энергии передают электронам, что приводит к распределению по энергиям согласно функции Ферми-Дирака. Часть электронов (малая) приобретает энергию, достаточную для того, чтобы преодолеть запрещённую зону и попасть в следующую зону – зону проводимости. Эта ситуация иллюстрируется рисунком:
На левом рис. представлена плотность состояний в зависимости от Е. При нулевой энергии она очень мала, точнее равна 2 из-за того, что спин электрона равен +/- ½, т.е. в одном состоянии будет два электрона с разными спинами. С ростом энергии плотность состояний пропорциональна квадрату энергии, отсчитанной от уровня Ec (или Ev –E для валентной зоны).
На втором рис. представлена фукция Ферми-Дирака. А на следующем рис. представлено произведение этих двух фукций, которое и представляет собой зависимость конценрации электронов от энергии. Видно, что электронов в зоне проводимости мало, так как вероятность заполнения состояния существенно меньше 1. Значит, они могут двигаться практически как в вакууме, почти что не взаимодействуя друг с другом.
Совсем другое можно сказать о валентной зоне: здесь вероятность заполнения состояния практически равна 1, т.е. почти все состояния заполнены электронами. В этом случае трудно описать их движение, так как они практически всегда мешают друг другу, ведь электроны могут куда-то переместиться, только если там свободное состояние, а почти все состояния заполнены.
Поэтому договорились описывать состояния пустых мест – "дырок", которых мало (не путать с отверстиями). Они, дырки, могут двигаться как бы независимо, почти не сталкиваясь, и их движение можно тоже описывать довольно просто, так же, как и движение электронов в зоне проводимости. Их концентрация описывается произведением числа состояний на разницу между 1 и функцией Ферми-Дирака, см. третий рис. в валентной зоне.
На последнем рис. представлена зависимость энергии от координаты. На дне зоны проводимости есть некоторое количество электронов, у потолка валентной зоны есть некоторое количество дырок. Они, в отличие от электронов, имеют положительный заряд. Так как электроны рождаются при выходе из валентой зоны в зону проводимости электрона, количество их строго равно количеству дырок.
Функция Ферми-Дирака описывает равновесное состояние электронов. Если при какой-то температуре (например комнатной) электронов нет, то будет происходить термогенерация электронов и дырок, и постепенно они распределятся по функции Ферми-Дирака. Скорость генерации зависит от температуры и от ширины запрещённой зоны и практически не зависит от концентрации электронов и дырок.
Есть также обратный процесс – рекомбинация электронов и дырок: предположим, что при случайном движении электрон встретился с дыркой. Электрон из зоны проводимости попадёт в какое-то состояние в валентной зоне, при этом куда-то выделится разноть энергий и разность импульсов, а электрон и дырки взаимоуничтожатся, аннигилируют, или, как говорят в электронике, рекомбинируют. Скорость этого процесса пропорциональна произведению пр, где п – концентрация электронов (обычно в см-3), и р – концентрация дырок (тоже в см-3).
Так как с ростом времени п и р растут при генерации электронов и дырок, этот процесс увеличивает скорость рекомбинации электронов и дырок, и в конце концов она становится равной скорости генерации. Это означает достижение состояния, характеризующегося функций Ферми-Дирака. Таким образом мы видим, что генерация электронов и дырок всегда существует, и всегда существует рекомбинация, просто в равновесии они строго равны друг другу.
Концентрация электронов в зоне проводимости определяется формулой:
г
де NC – эффективная плотность состояний в зоне проводимости. Аналогично:
где NV - эффективная плотность состояний в валентой зоне. Мы знаем, что концентрации электроной и дырок одинаковы, т.е. n=p=ni , кроме того,
В этой формуле наиболее сильно всё зависит от членой в экспоненте. Так например, при комнатной температуре получается:
| Eg, эв | ni, см-3 | |
| германий | 0,66 | 2*1013 |
| кремний | 1,12 | 1010 |
| арсенид галлия | 1,42 | 106 |
Хорошо видно, что при неболшьших изменениях ширины запрещённой зоны сильно изменяется концентрация носителей заряда. Так, у германия в одном кубическом см будет 2*1013 электронов или дырок, а у арсенида галлия – всего 106, т.е. в 10 миллионов раз меньше. Поэтому между диэлектриками и полупроводниками нет принципиальной разницы, а есть только количественная – у диэлектриков просто ширина запрещённой зоны немного шире 1,6 эв.
До сих пор мы имели ввиду абсолютно чистые кристаллы, не имеющие никаких примесей. На самом деле примеси есть и играют очень большую роль. Чистые полупроводники называются собственными, а с примесями – примесными. Рассмотрим наиболее простые примеси, отличающиеся от атомов кремния и германия на одну валентность (валентность кремния и германия 4).
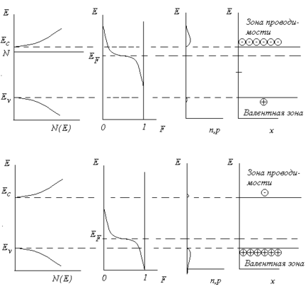
Если имеется примесь с 5 электронами на внешней орбите, то в связях с кремнием или германием участвуют 4 электрона, а пятый – лишний, он легко отрывается от атома примеси и может свободно двигаться по кристаллу. Таким образом, в полупроводнике появляются лишние электроны, а вследствие рекомбинация количество дырок уменьшается. Происходит сдвиг уровня Ферми вверх, равновесные концентрации электронов и дырок меняются, а их произведение остаётся прежним, см. рис. При этом примесь, отдающая один электрон, дазывается донором.
При введении в полупроводник другой примеси, 3-х валентной, происходит иная ситуация: для четырёхкратной связи атомам полупроводника нехватает одного электрона. Поэтому полупроводник отдаёт один электрон, количество электронов уменьшается, а вследствие рекомбинации количество дырок растёт. Это иллюстрирует нижний рис. Такие примеси называются акцепторами.
Полупроводник с донорной примесью называется электронным, или полупроводником n – типа, а полупроводник с акцепторной примесью называется дырочным, или p – типа. Существенно, что большинство полупроводниковых приборов использует контакт полупроводников n- и p- типов, поэтому не стараются использовать чистые полупроводники, а наоборот, делают примесные полупроводники.
Теперь рассмотрим электропроводность зоны проводимости. Обычно свободный электрон описывается
п
араболической дисперсионной кривой (зависимостью энергии от импульса), см рис.
Для электрона в кристалле всё выглядит по другому. Правда, вблизи нулевых значений импульса энергия тоже похожа на параболу, но вдали от нуля это скорее синусоида, т.е. периодическая кривая. Это отличие принципиальное. У свободного электрона при приложении электрического поля энергия его всё время растёт, а у электрона в кристалле она растёт только до некоторого значения, а затем падает. Скорость электрона определяется производной от энергии по импульсу. У параболы скорость всё время растёт (здесь мы не рассматриваем теории относительности, и поэтому не учитываем конечности скорости электрона, которая не может быть больше скорости света). У синусоиды скорость электрона в начале растёт, затем достигает максимума (самый крутой участок кривой) далее падает и достигает нуля, затем начинает изменяться в отрицательную сторону и т.д. Получается, что в следствие периодической зависимости дисперсионной кривой, скорость электрона должна всё время менять направление, и в целом он не должен двигаться.
Но это не так. В кристаллах очень много различных дефектов: электроны и дырки могут сталкиваться, фононы (тепловые колебания) могут взаимодействать с электронами и дырками, заряженные и нейтральные примеси влияют на движение электронов и дырок, фотоны и другие частицы также сталкиваются с ними. Всё это ограничивает свободное движение электронов. Получается, что только электрон немного разогнался, как тутже произошло его столкновение с чем-нибудь, и он потерял скорость. Происходит так, как на картинке:
Далее о токе
Потом о дырочном токе
Эффективная масса и подвижности
Диффузионный электр. и дырочный ток
Диффузионная длина
Характеристики
Тип файла документ
Документы такого типа открываются такими программами, как Microsoft Office Word на компьютерах Windows, Apple Pages на компьютерах Mac, Open Office - бесплатная альтернатива на различных платформах, в том числе Linux. Наиболее простым и современным решением будут Google документы, так как открываются онлайн без скачивания прямо в браузере на любой платформе. Существуют российские качественные аналоги, например от Яндекса.
Будьте внимательны на мобильных устройствах, так как там используются упрощённый функционал даже в официальном приложении от Microsoft, поэтому для просмотра скачивайте PDF-версию. А если нужно редактировать файл, то используйте оригинальный файл.
Файлы такого типа обычно разбиты на страницы, а текст может быть форматированным (жирный, курсив, выбор шрифта, таблицы и т.п.), а также в него можно добавлять изображения. Формат идеально подходит для рефератов, докладов и РПЗ курсовых проектов, которые необходимо распечатать. Кстати перед печатью также сохраняйте файл в PDF, так как принтер может начудить со шрифтами.
















