4 (728030)
Текст из файла
ЛЕКЦИЯ 4
Биполярные транзисторы
На прошлой лекции мы рассмотрели работу одного р-п перехода (диода). Однако известно, что гораздо большее применение имеют полупроводниковые приборы с большим числом слоёв разного типа электропроводности, расположенных в разном сочетании. Сегодня мы рассмотрим биполярный транзистор.
Принцип действия биполярного транзистора заключается в том, что 2 р-п перехода расположены настолько близко друг к другу, что происходит взаимное их влияние, вследствие чего они усиливают электрические сигналы.
Как показано на рис., это три области – п-, р- и п. (В принципе может быть и наоборот: р-, п-, р-; все рассуждения относительно такого транзистора будут одинаковы, различие только в полярностях напряжений, такой транзистор называется р-п-р, а мы для простоты будем рассматривать п-р-п, изображённый на рис.)
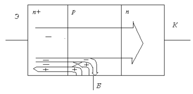
Итак, на рис. изображены три слоя: с электронной электропроводностью, причём сильной, что обозначает плюс - эмиттер, дырочной - база, и снова электронной, но более слабо легированной (концентрация электронов самая малая) – коллектор. Толщина базы, т.е. расстояние между двумя р-п переходами, равное Lб , очень мала. Она должна быть меньше диффузионной длины электронов в базе. Это от единиц до десятка мкм. Толщина базы должна быть не более единиц мкм. (Толщина человеческого волоса 20-50 мкм. Отметим также, что это близко к пределу разрешения человеческого глаза, так как мы не можем видеть ничего меньшего, чем длина волны света, т.е. примерно 0,5 мкм). Все остальные размеры транзистора не более примерно 1 мм.
К слоям прикладывают внешнее напряжение так, что эмиттерный р-п переход смещён в прямом направлении, и через него протекает большой ток, а коллекторный р-п переход смещён в противоположную сторону, так что через него не должен протекать ток. Однако вследствие того, что р-п переходы расположены близко, они влияют друг на друга, и картина меняется: ток электронов, прошедший из эмиттерного р-п перехода, протекает дальше, доходит до коллекторного р-п перехода и электрическим полем последнего электроны втягиваются в коллектор. В результате у хороших транзисторов практически весь ток коллектора равен току эмиттера. Потери тока очень незначительны: проценты и даже доли процента.
Рассмотрим более внимательно составляющие токов в биполярном транзисторе п-р-п типа. Это изображено на рис.:
Верхний ток (большая толстая стрелка с минусом) – это ток электронов из эмиттера в коллектор. В эмиттере электронов много, поэтому этот ток большой. Когда электроны входят в базу, то дальше они движутся за счёт диффузии (электрического поля в базе нет) – слева электронов много, а справа – мало. Значит, они движутся слева направо. А в конце базы они попадают в область электрического поля коллекторного р-п перехода, которое вытягивает электроны из базы в коллектор. Так как это поле велико, концентрация электронов в базе непосредственно у коллекторного р-п перехода практически равна нулю. Поэтому градиент концентрации электронов в базе очень велик – слева их очень много, справа – почти нуль, а длина базы очень мала:
г
де n0 - концентрация электронов в базе слева (у эммитера), очень велика.
Поэтому диффузионный ток очень велик. А дрейфого тока нет.
На самом деле он есть, но очень маленький. Действительно, напряжение к базе прикладывается, но сбоку, и маленькое (не больше одного вольта). А напряжённость электрического поля рассчитывается как отношение напряжения к расстоянию, на котором это напряжение прикладывается. В нашем случае расстояние – это толщина транзистора в направлении, перпендикулярном направлению диффузионного тока, и эта толщина в 10...1000 раз больше Lб. Поэтому дрейфовый ток существенно меньше диффузионного, второй маленький электронный ток на рис., который показан тоненькой линией, сворачивающей к базовому контакту.
Второй маленький ток электронов – это те электроны, которые встретились в базе с дырками и рекомбинировали. Дырки, необходимые для этого, могут притечь только из базового контакта, так как в коллекторе и в эмиттере их нет. Этот ток вначале обозначен минусом, а далее он встречается с дырочным током, который обозначен плюсом, и выходит из базового контакта (второй маленький точёк).
Третий маленький ток – это диффузионный ток дырок из базы в эмиттер. Он гораздо меньше диффузионного тока электронов (из эмиттера в базу), потому что электронов в эмиттере гораздо больше, чем дырок в базе (напомним, что эмиттер – наиболее сильно легированная область п-р-п транзистора). Это обозначено тоненьким дырочным током, который также может начаться только на базовом контакте, а заканчивается на эмиттерном контакте.
Итак, есть три маленьких тока, которые неизбежно должны проходить из базы в эмиттер: это дрейфовый ток электронов (мал по сравнению с диффузионным), ток рекомбинации (мал, потому что мала толщина базы) и дырочный ток диффузии (мал, потому что мала концентрация дырок в базе по сравнению с концентрацией электронов в эмиттере). И есть большой диффузионный ток электронов из эмиттера в базу, который идёт к коллекторному р-п переходу, и его электрическим полем протягивается в коллектор. Отношение коллекторного тока к базовому – это главный коэффициент, который показывает усилительные возможности транзистора:
Т
ак как I к>>Iб , эта величина большая, т.е. транзистор усиливает ток. Обычно составляет 10 – 300, в редких случаях (у очень широкополосных транзисторов) может быть меньше (порядка 2...5), или больше, 5 000...10 000 у супербетатранзисторов.
Итак, у транзистора ток базы очень мал, поэтому ток эмиттера практически весь преобразуется в ток коллектора, и только небольшая часть его преобразуется в ток базы:
связано с Iк/Iэ формулой:
Конечно, очень близко к единице, но <1.
Итак, понятно, откуда берётся усиление в транзисторе по току: если к базе прикладывать маленький ток, то в эмиттере и коллекторе будут протекать токи, в и раз большие.
Но в электронике гораздо чаще используются усилители по напряжению. Как это получается?
Обычно управляют транзистором, прикладывая ток или напряжение к эмиттерному р-п переходу, смещённому в прямом направлении. При этом падение напряжения на нём не очень велико – порядка контактной разности потенциалов 0,6...0,7 В. А значит, переменная часть напряжения вообще лежит в пределах 0,1 В.
Выходной ток, которым является ток коллектора, вообще не зависит от напряжения на коллекторе, если только оно нулевое или обратное (чтобы в коллекторном р-п переходе было тянущее поле). Поэтому если подключить коллектор к источнику напряжения через сопротивление, то ток Iк, протекающий через это сопротивление и зависящий только от напряжения на входе, будет выделять напряжение на этом сопротивлении, тем большее, чем больше сопротивление.
Ясно, что максимальное выходное напряжение равно напряжению источника Eп, которое может быть 5...15 В, или даже больше. Пусть Eп=10 В, тогда
Итак, мы поняли, из-за чего возникает коэффициент усиления по напряжению. Теперь рассмотрим это более подробно с учётом конкретных схем включения транзистора.
Обычно в схемах биполярные транзисторы изображаются так:
Как видно, схематическое изображение совсем не похоже на их действительную конструкцию. Но так принято. Кружок символизирует корпус транзистора. Индексом "б" обозначен контакт к базе, "к" обозначает контакт к коллекторной области, а "э" – к эмиттерной области. Направление стрелки у эмиттерного контакта определяет тип транзистора (п-р-п или р-п-р).
Входом усилительного каскада является эмиттерный р-п переход, т.е. контакты б-э. При нормальном смещении это прямое напряжение для эмиттерного р-п перехода, т.е. вольтам-перная характеристика (ВАХ) выглядит так:
Е
сли транзистор открыт, то напряжение на р-п переходе примерно равно 0,6 В. Если оно меньше на 0,1 В, то ток падает. Подсчитаем, во сколько раз падает ток, если напряжение уменьшается на 0,1 В. Вспомним, что кТ/q=0.026 В, поэтому изменение тока можно приближённо подсчитать по формуле:
Т.е. ток упадёт примерно в 50 раз, и можно будет считать, что через транзистор ток не протекает.
Теперь рассмотрим выходные характеристики п-р-п транзистора, т.е. ВАХ на коллекторе. Сначала будем считать, что транзистор включён по схеме с общей базой:
Мы видим, что к эмиттерному р-п переходу приложено прямое смещение: плюс к базовому контакту, а минус к эмиттерному контакту. К коллекторному р-п переходу приложено обратное смещение. В этом случае у хорошего транзистора коллекторный ток лишь незначительно меньше эмиттерного. Значит, вольамперные характеристики должны быть горизонтальными:
Это левый рисунок. Здесь представлены четыре линии для четырёх токов эмиттера. На самом деле они выглядят немного не так – см. правый рисунок. Во-первых при отрицательном напряжении (а это будет прямое смещение для коллекторного р-п перехода) ток быстро падает. А при положительном напряжении токи коллектора всё-таки немного нарастают, что происходит из-за того, что с ростом напряжения увеличивается обратное смещение на коллекторном р-п переходе, при этом увеличивается его область объёмного заряда, а значит уменьшается нейтральная часть базы. Это и приводит к тому, что полный коллекторный ток постепенно нарастает. В конце наступает резкий рост тока, связанный с пробоем коллекторного р-п перехода.
Чаще используется схема с общим эмиттером. В этом случае кривые немного сдвигаются вправо:
В этом случае в базу и в эмиттер подаются напряжения одного знака, но в базу подаётся не больше 0,7 В, а в коллектор – 5...15 В.
Если в коллекторную цепи включить резистор, то напряжение будет уменьшаться при больших токах, и может достичь нуля. В этом случае наступит режим насыщения: напряжение на колекторном переходе станет прямым, ток пойдёт из коллектора в базу и из эмиттера в базу, ток в коллекторной цепи прекратится, а в базе начнётся накопление электронов. Это так называемый режим насыщения.
Режим насыщения очень неприятен, так как из-за этого накопления носителей в базе резко ухудшается быстродействие транзистора.
В схеме с общей базой этого не происходит.
Отметим также, что нарастание тока коллектора с ростом напряжения на коллекторе можно охарактеризовать величиной дифференциального сопротиления коллектора:
Дифференциальное коллекторное сопротивление у схемы с общим эмиттером (ОЭ) во много раз меньше, чем у схемы с общей базой (ОБ).
Теперь рассмотрим более подробно три наиболее типичные схемы включения транзистора: с общим эмиттером (ОЭ), с общим коллектором (ОК) и с общей базой (ОБ). Общим называется тот контакт, который либо прямо связан с землёй, либо через низкое сопротивление источника питания. А на остальных контактах будут входной и выходной сигнал.
В схеме ОЭ входной сигнал подаётся на базу, а выходной сигнал снимается с коллектора. Схема и выходные характеристики изображены на рис.:
Видно, что схема стала очень сложной. Однако главное, что здесь есть – это резистор Rк , который определяет коэффициент усиления по напряжению, и который составляет от единиц килоом до мегома (чем больше этот резистор, тем больше усиление). Все остальные элементы более или менее условны.
Прежде всего Rэ необходимо для термостабилизации транзистора. Это осуществляется за счёт обратной связи по постоянному току, которую мы обсудим позже. Сэ – конденсатор, который шунтирует этот резистор на рабочих частотах, так что при переменном сигнале резистора нет. Этот конденсатор – несколько мкФ. Обычно это электролитический конденсатор.
Ср – разделительные конденсаторы, которые отделяют постоянную составляющую сигнала на входе и выходе схемы от внешних сигналлов. Обычно это несколько мкФ.
Rб1 – важный резистор, управляющий работой транзистора, служит для задания рабочей точки. Этот резистор задаёт постоянную составляющую тока базы. Его значение зависит от величины Rк .
Rб2 – практически ненужный резистор, просто он ставится для предохранения транзистора от сгорания. Его значение должно быть большим, так как стоит он параллельно входу и может его закоротить. Обычно это 1 или несколько килоом, так как входное сопротивление транзистора мало.
Rн – сопротивление нагрузки, лучше, если оно большое, так как оно подключено параллельно выходу транзистора, и если оно будет малым, выходной сигнал упадёт.
Uвх – сигнал на входе транзистора. Как видно, на входе много различных деталей – резисторов и конденсаторов. Но на рабочих частотах сопротивления конденсаторов малы, и они хорошо пропускают сигналы. А два параллельных резистора Rб1 и Rб2 достаточно велики по сравнению с входным сопротивлением транзистора. Поэтому учтём только это входное сопротивление.
Обычно собственно сопротивления транзистора обозначаются малыми буквами:
rб – сопротивление базовой области транзистора, обычно очень мало – от нескольких Ом до десятков Ом;
rэ – сопротивление эмиттерной области (десятые или сотые доли Ом) и эмиттерного р-п перехода, обычно смещённого в прямом напрявлении. При открытом транзисторе это в пределах 10...100 Ом.
Оценим сопротивление rэ из формулы для ВАХ р-п перехода при прямом смещении:
(как обычно, при прямом смещении единицей пренебрегаем). Будем оценивать дифференциальную величину rэ. Продифференцируем формулу по U:
Видно, что сопротивление р-п перехода зависит только от тока, который через него протекает. Так при токе в 1 мА при комнатной температуре (примерно 3000К) получается 0,026В/10-3 = 26 Ом, а при 10 мА получится 2,6 Ом.
Но сопротивление базы как входное сопротивление транзистора определяется сложнее. Дело в том, что ток базы должен увеличиться в +1 раз (это отношение Iэ/Iб). Поэтому и напряжение, упавшее на эмиттерном р-п переходе, увеличится в это же число раз:
И
так, входное сопротивление транзистора будет сильно зависеть от , rб и rэ, а также от тока, протекающего через эмиттер. Но это величина не очень большая: если считать, что а ток равен 1 мА, то это примерно 2,6 кОм, при токе 10 мА – это 260 Ом, при большем токе уже надо добавлять сопротивление базы.
На вход подаётся напряжение Uвх. Ток, протекающий через базу транзистора, равен:
Ч
ерез коллектор протекает ток Iк = Iб. Вычислим потенциал на коллекторе. Теперь найдём коэффициент усиления по напряжению Кu=Uвых/Uвх, но так как это затруднительно, будем искать дифференциальный коэффициент усиления:
Видно, что коэффициент усиления по напряжению отрицательный, т.е. выходной сигнал в противофазе с входным, и довольно велик, так как Rk >>rвх и >10.
Интересно также провести графическое исследование схемы. Это позволяет сделать правый рис., где показано семейство выходных ВАХ.
Предположим, что мы решили найти коллекторное напряжение с помощью графического метода. Для простоты считаем, что Rэ = 0 Rн = бескон. Очевидно:
Справа стоит функция Uк(Iк), семейство этих функция имеется у нас на графике. Слева тоже какая-то функция от Iк. Но это прямая, так называемая нагрузочная прямая. Она определяется напряжением питания и сопротивлением коллектора. Две точки, через которые проходит эта прямая, это:
| Iк | Uк |
| 0 | Eп |
| Eк/Rк | 0 |
Нагрузочная прямая тоже изображена на рис. Её пересечение с одной из кривых семейства – это и есть графическое решение нашей задачи. И это решение более правильное, чем наше предыдущее, так как оно учитывает настоящие графики транзистора.
Пусть входные токи таковы, что работают первая и третья кривые семейства. .....
Теперь рассмотрим другую схему включения транзистора:
Здесь на входе транзистора всё точно также, как и в предыдущей схеме. А в коллекторе и эмиттере всё не так! Коллектор соединён прямо с источником питания, выходное напряжение берётся с резистора эмиттера.
Во первых, это сильно сказывается на входном сопротивлении схемы:
Е
сли входное сопротивление равно 3 кОм, а =300, то по формуле получается примерно 1 МОм, т.е. очень много.
Почему так получается? Из-за обратной связи. Дело в том, что на транзистор действует разность потенциалов между базой и эмиттером: чем больше эта разность, тем больше ток через эмиттерный р-п переход, тем больше падение напряжения на резисторе Rэ , но тем меньше разность потенциалов на эмиттерном р-п переходе. Обратная связь – 100-процентная. Можем вычислить дифференциальный коээфициент усиления путём дифференцирования соответствующих уравнений. Поличим:
Если rэ = 30 Ом, а Rэ = 3 кОм, то Кuд =1/(1+30/3000)=0,99. Видно, что Кuд меньше 1, но очень близко к ней.
Выходное сопротивление сильно уменьшается по сравнению с Rэ .
Кажется, такое устройство не очень то требуется, так как коэффициент усиления меньше 1. Но тот факт, что у схемы с ОЭ как раз плохие параметры из-за того, что у ОЭ низкое входное сопротивление и высокое выходное, не получается использовать несколько схем с ОЭ, так как каждая следующая схема будет закорачивать выходной сигнал предыдущей. Если же между схемами с ОЭ использовать схемы с ОК, то высокое выходное сопротивление ОЭ согласуется с очень высоким входным сопротивлением схемы ОК, а низкое выходное сопротивление схемы ОК согласуется с не очень низким входным сопротивлением следующей схемы ОЭ.
Это происходит потому, что при единичном усилении по напряжению схема с ОК имеет довольно большой коэффициент усиления по току (примерно . Часто такие схемы называются эмиттерными повторителями.
Существуют ещё и схемы с общей базой. Они используются довольно редко, поэтому мы их не рассматриваем.
Ниже мы приводим таблицу сравнительных данных по этим схемам.
| rвх | rвых | Ku | Ki | Kp | Замечания | |
| ОЭ | среднее | высокое | Большое | Большое | Очень большое | Часто использ. |
| ОК | очень большое | очень низкое | 1 | Большое | Большое | Не часто использ. |
| ОБ | малое | очень высокое | Большое | 1 | Большое | Редко использ. |
Характеристики
Тип файла документ
Документы такого типа открываются такими программами, как Microsoft Office Word на компьютерах Windows, Apple Pages на компьютерах Mac, Open Office - бесплатная альтернатива на различных платформах, в том числе Linux. Наиболее простым и современным решением будут Google документы, так как открываются онлайн без скачивания прямо в браузере на любой платформе. Существуют российские качественные аналоги, например от Яндекса.
Будьте внимательны на мобильных устройствах, так как там используются упрощённый функционал даже в официальном приложении от Microsoft, поэтому для просмотра скачивайте PDF-версию. А если нужно редактировать файл, то используйте оригинальный файл.
Файлы такого типа обычно разбиты на страницы, а текст может быть форматированным (жирный, курсив, выбор шрифта, таблицы и т.п.), а также в него можно добавлять изображения. Формат идеально подходит для рефератов, докладов и РПЗ курсовых проектов, которые необходимо распечатать. Кстати перед печатью также сохраняйте файл в PDF, так как принтер может начудить со шрифтами.
















