11 (682880), страница 8
Текст из файла (страница 8)
При появлении в газовой смеси кислорода единичный объем этой смеси втягивается в воздушный зазор, подвергается действию теплового поля термоанемометра, теряя при этом свои магнитные свойства, и вытесняется более холодным газом, продолжающим поступать в воздушный зазор магнитной системы. При этом вдоль термоанемометра образуется поток газа (термомагнитная конвекция), скорость которого тем выше, чем выше парамагнетизм этого газа или концентрация кислорода в этой смеси.
Поток термомагнитной конвекции охлаждает первую секцию термоанемометра и передает часть тепла второй секции термоанемометра, изменяя тем самым градиент температур. При этом сопротивление первой секции термоанемометра падает, а второй — возрастает. Разность сопротивлений секций термоанемометра является функцией концентрации молекулярного кислорода в газовой смеси.
а — с внутренней конвекцией; б — с внешней конвекцией: 1 — термоанемометр, расположенный под магнитными полюсами; 2 — термоанемометр, расположенный под ложными немагнитными наконечниками
Измерение термомагнитных усилий термоанемометрическим способом получило наибольшее применение. Термоанемометры, использующиеся для этих целей, разделяют на термоанемометры с внутренней конвекцией (рис. 11, а) и внешней конвекцией (рис. 11,6). Термоанемометры с внешней конвекцией представляют собой цилиндрический капилляр, на внешней поверхности которого намотана платиновая спираль, защищенная от воздействия АГС покрытием, обычно остеклованием.
Принцип действия газоанализатора с термоанемометрами с внешней концентрацией аналогичен ранее описанному. При наличии в АГС кислорода единичный объем этого газа втягивается в воздушный зазор магнитной системы, подвергается воздействию теплового поля термоанемометра 1, расположенного под полюсами магнита, нагревается, теряет свои магнитные свойства и вытесняется более холодным газом, втягивающимся в неоднородное магнитное поле рабочего зазора магнитной системы. Образовавшийся поток термомагнитной конвекции FM охлаждает первый термоанемометр и частично передает свое тепло второму термоанемометру 2, расположенному под ложными немагнитными наконечниками измерительной камеры. Электрическое сопротивление первого термоанемометра уменьшается, а второго возрастает. По их разности судят о концентрации кислорода в. АГС.
Использование термомагнитного метода при конструировании газоанализаторов для определения концентрации кислорода связано с неоднозначностью функциональной связи между фактически измеряемой и искомой величиной. Эта неоднозначность вызвана зависимостью показаний прибора от свойств не только определяемого компонента АГС — кислорода, но и свойств реальной смеси. С другой стороны, поскольку измерение магнитной восприимчивости кислорода затруднительно ввиду ее малого значения, а использование косвенных методов измерения предполагает сложную цепь преобразования магнитной восприимчивости в поток термомагнитной конвекции с последующим его измерением термоанемометрическим способом, это приводит к дополнительным затруднениям и связанным с ними методическим погрешностям.
На показания газоанализаторов влияют: неопределяемые компоненты пробы АГС, температура и давление пробы АГС. Перед разработчиками аналитических приборов стоят задачи обеспечения стабильности параметров при длительной эксплуатации; оптимальных динамических характеристик; необходимой технелогичности конструкций; универсальности, исключающей многообразие конструкций измерительных камер, схемных решений и т. п.
Указанные задачи реализуют разнообразными средствами, главные из которых — создание специфичной конструкции измерительной камеры и чувствительного элемента, а также оригинальных схемных решений.
Для устранения (уменьшения) влияния температуры и давления пробы АГС на показания прибора возможны следующие варианты: стабилизации параметров и компенсация влияния.
Стабилизация параметров позволяет использовать простые и надежные конструкции измерительных камер, упрощает технологию изготовления и наладки газоанализаторов. Реализация компенсационных способов устранения (уменьшения) влияния давления и температуры приводит к созданию сложных многокамерных конструкций измерительных систем с одновременным усложнением электрических схем приборов, а также технологии изготовления и наладки.
К первой категории измерительных камер относится кольцевая измерительная камера. Чувствительный элемент — трубчатый термоанемометр, совмещающий в себе нагревательный элемент и терморезистор.
Конструкция кольцевой измерительной камеры позволяет создавать многошкальные приборы, нижний предел измерения которых начинается с нуля: 0—1,0—2, 0—5, 0—10, 0—15, 0—21, О—50, 0—100 % (об.) — при горизонтальном расположении термоанемометра, а также шкалы с подавленным нулем: 15—30, 20—50, 50—100, 80—100, 90—100, 95—100, 98—100% (об.) — при наклонном (вертикальном) расположении термоанемометра.
В кольцевой измерительной камере сравнительно легко устраняется влияние неопределяемых компонентов, для этого обеспечивают необходимую тепловую симметрию термоанемометра при нулевом значении концентрации кислорода в пробе АГС.
В газоанализаторах МГК-14М, ГТМК-ПМ, ГТМК-12М и ГТМК-16М в начальной части диапазона влияние неопределяемых компонентов не наблюдается и достигает в конце диапазона ±5 % относительно верхнего предела диапазона при замене 10 % одного неопределяемого компонента 10 % другого. Это позволяет использовать кольцевые измерительные камеры в условиях, когда анализу подлежат сложные многокомпонентные газовые смеси, характеризующиеся значительными колебаниями концентраций неопределяемых компонентов. В настоящее время газоанализаторы с кольцевыми камерами широко используют в различных отраслях науки и техники, прежде всего в химии, металлургии и энергетике. Указаные газоанализаторы дешевы, надежны и отвечают современным требованиям метрологического обеспечения.
К недостаткам кольцевых камер относят большую зависимость показаний приборов от положения в пространстве, что исключает их эксплуатацию на подвижных объектах: судах, самолетах, поездах и т. п.
В том случае, когда диапазон давлений, в котором работают стабилизаторы давления (регуляторы абсолютного давления), недостаточен, применяют газоанализаторы, принцип действия которых основан на компенсации потока термомагнитной конвекции тепловой конвекцией. Применение кольцевых камер при этом не является оптимальным. Это второй недостаток кольцевой камеры.
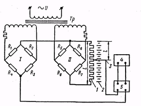
Многокамерные системы созданы главным образом для устранения влияния давления и температуры пробы АГС компенсационными способами. Представляют интерес конструктивные и схемные решения, реализованные в газоанализаторе типа МН (рис. 12).
В газоанализаторе в качестве измерительной схемы использованы два моста: рабочий I и сравнительный II.
Рабочий мост собран из чувствительных элементов R1— R4, расположенных в камере, через которую пропускается проба АГС. Сравнительный мост собран из чувствительных элементов R5 — R8, размещенных в камере, через которую пропускается сравнительный газ — атмосферный воздух. Потоки пробы АГС и сравнительного газа на выходе из камер объединяются, достигается равенство давлений в обеих камерах, встроенных в латунный блок.
Рис. 12. Схема газоанализатора типа МН: I, II — рабочий и сравнительный мосты; 1 — реохорд; 2 — шкала; 3 — подвижной квнтакт (поводок) реохорда; 4 — реверсивный двигатель; 5 — усилитель
Обозначим напряжение в диагонали съема моста I через
U1, в диагонали съема моста II —
U2, а напряжение, снимаемое с участка реохорда I —
U3. Напряжения
U1 и
U2 сдвинуты по фазе на 180°. Усилитель переменного тока 5управляет реверсивным двигателем 4, перемещающим подвижный контакт 3 реохорда 1 и механически связанную с ним стрелку (указатель) шкалы 2 до тех пор, пока напряжение на выходе усилителя не станет равным нулю. В момент равновесия схемы напряжение
Ul компенсируется равным ему и сдвинутым по фазе на 180° напряжением
U1. Положение подвижного контакта 3 реохорда 1, а следовательно, и положение указателя шкалы 2 определяются как отношение
U1/
U2.
Действительно, в момент равновесия схемы
U1=
Ul =
U2(l/z), откуда l=z(
U1/
U2) где z — длина реохорда, а l — расстояние от подвижного контакта 3 реохорда 1.
Так как при изменении давления и температуры пробы АГС, а также напряжения питания прибора
U1 и
U2 меняются по одному и тому же закону, то показания газоанализатора не зависят от указанных факторов.
В многокамерных газоанализаторах используются чувствительные элементы с наружной конвекцией, размещаемые между полюсами магнитов и ложными наконечниками.
Если рассмотренные схемные и конструктивные решения многокамерных систем в какой-то мере устраняют влияние давления и температуры пробы АГС, то они не предотвращают влияние неопределяемых компонентов пробы АГС. Положение усугубляется тем, что на чувствительные элементы действуют не только упорядоченные потоки термомагнитной конвекции, но и огромные потоки тепловой конвекции, сила которых определяется плотностью газа, т. е. переменной величиной, зависящей от состава пробы АГС. Причем если для кольцевых камер в отсутствие кислорода поток тепловой конвекции равен нулю и влияние плотности отсутствует, то в рассматриваемых многокамерных системах поток тепловой конвекции не связан с наличием кислорода в пробе АГС, он всегда имеет определенное значение и влияние плотности максимально. Для многокамерных систем характерно большое число модификаций, различающихся не только шкалами, но и, что более важно, конструкциями камер и схемными решениями.
На базе многокамерных систем возможно создание модификации для использования на подвижных объектах.
Потоки термомагнитной конвекции, охлаждающие рабочие ЧЭ, имеют противоположные направления. Потоки свободной тепловой конвекции, возникающие при наклоне камеры, суммируются с одним из потоков термомагнитной конвекции и частично компенсируются другим потоком.
Таким образом, поскольку измеряемый эффект представляет собой сумму эффектов, реализуемых рабочими ЧЭ, то теоретически погрешность от влияния наклона камеры должна компенсироваться. Практически же в газоанализаторах, в которых используется описанная конструкция камеры, например в газоанализаторе МН-5112 (переносный), допустимое значение угла наклона, при котором возникает погрешность, не превышающая основную, составляет 45°.















