11 (682880), страница 6
Текст из файла (страница 6)
Анализатор обеспечивает непрерывное поддержание оптимального процесса горения, снижает стоимость комплексных эколого-технологических ремонтно-наладочных испытаний, гарантирует максимальное энерго- и ресурсосбережение.
Применение анализатора 151ЭХО2 на котле ДКВР-10/13 позволило получить годовой экономический эффект 12000 у.е. На котле в "Винницаэнерго", сжигающем 86000 м/куб. газа в сутки, применение анализатора 151ЭХ02 позволило повысить к.п.д. на 5 % и сэкономить за год 130000 у.е.
Комитетом Украины по стандартизации, метрологии и сертификации был выдан сертификат соответствия А-М1/2-266-98. Прибор внесен в Государственный реестр средств измерительной техники, допущенных к применению в Украине за № УД45-98.
| Диапазон измерений, объемная доля кислорода, % | 0,25-10 |
| Предел допускаемой основной приведенной погрешности, % | 2,5 |
| Время установления показаний, с | 15 |
| Максимальная температура в месте установки зонда, °С | 600 |
| Питание от сети переменного тока, В/Гц | 220/50 |
| Потребляемая мощность, ВА, не более | 250 |
| Масса комплекта (ПИП. БП, ПП и монтажные части), кг, не более | 30 |
| Выходной сигнал с цифровой индикацией, мА В | 0-5;4-20; 0-10 |
| Длина погружаемой части ПИП, м | 0,5; 1: 1,5 |
Технические характеристики
О2-АДГ-1 - Анализатор кислорода в дымовых газах
НАЗНАЧЕНИЕ
О2-АДГ-1 современный автоматический газоанализатор, предназначенный для непрерывного измерения концентрации свободного кислорода в газовой среде с целью технологического и экологического контроля. Наиболее целесообразно его использование в системах автоматического контроля и регулирования процессов сжигания топлива.
ОБЛАСТЬ ПРИМЕНЕНИЯ
Теплоэнергетика, металлургия, нефтехимия, производство строительных материалов, коммунально-бытовой сектор и другие отрасли, где используются топливосжигающие агрегаты, работающие на различных видах топлива.
ПРИНЦИП ДЕЙСТВИЯ
Метод ЭДС с использованием ионопроводящих твердых электролитов, селективных по кислороду.
ОСНОВНЫЕ ТЕХНИЧЕСКИЕ ХАРАКТЕРИСТИКИ
Пределы измерения концентрации кислорода,% об.............0,1-10(0,1-21)
Погрешность измерения,%......................................................+/- 2,0
Время реагирования,с..............................................................20
Выходной сигнал на вторичный прибор
- постоянного тока, мА ............................................................ 0-5
- постоянного напряжения,В................................................... 0-10
Напряжение питания (переменный ток)................................ 220
Потребляемая мощность, Вт................................................. 60
Режим работы .........................................................................непрерывный
Температура окружающей среды,°С:
-у блока первичного преобразователя ............................... -30...+70
-у измерительного блока ..................................................... 0...+50
Расход анализируемого газа, л/час. ......................................15
Характеристика анализируемого газа:
- температура,°С................................................................... до +600
- пылесодержание, мг/м3 ........................................................ до 10,0
Исполнение ...........................................................................погружной зонд с датчиком
Длина погружной части, м ....................................................... до 1,5
Габариты прибора, мм.........................................................120х120х350; 200х250х180
Масса блоков, кг................................................................. не более 1,5;1,6
Срок службы, лет ................................................. 8
КОМПЛЕКТНОСТЬ
Конструктивно газоанализатор состоит из двух блоков:
-
первичного преобразователя (с зондом)
-
измерительного блока с цифровой индикацией.
УСЛОВИЯ ЭКСПЛУАТАЦИИ
Анализатор прост и надежен в эксплуатации и ремонте, не требует специальнойподготовки персонала, не нуждается в пробоотборе и пробоподготовке. Его датчик может быть установлен как на газоходе, так и на шунтовой трубе. В приборе предусмотрены полуавтоматическая проверка работы всех измерительных каналов и калибровка.
ЭФФЕКТИВНОСТЬ
Экономический эффект применения анализатора дымовых газов О2-АДГ-1 обусловлен экономией не менее 3-5% топлива за счет эффективного контроля присосов по газовому тракту котла.Срок окупаемости прибора по этому показателю 6-12 месяцев.
Научно-производственная фирма "У Р А Н" гарантирует Вашему предприятию быструю поставку анализатора О2-АДГ-1, внедрение и сервисное обслуживание на высоком уровне и самых выгодных условиях.
Использование топливных элементов.
В основе действия топливного элемента лежит реакция окисления водорода кислородом с выделением тепла:
2H2+O2→2H2O + Q.(18)
Эту реакцию можно проводить таким образом, чтобы в реакционной системе возникал электрический ток, т. е. осуществлялось направленное движение заряженных частиц (электронов). Для этого необходимо создать замкнутую электрическую цепь, состоящую из электролита (источника ионов) и двух электродов, к одному из которых подводится водород, а к другому — кислород. В такой электрохимической ячейке происходят следующие процессы:
2H2 + 4OH- →4Н2О + 4е-
4е-+О2+2Н2О→4ОН-(19)
В сумме эти две реакции дают реакцию (18).
Основными элементами топливного элемента являются: анод, катод и электролит, т. е. те же элементы, что и в любом электрохимическом анализаторе.
При определении концентрации газов и паров с помощью топливных элементов электролитом могут служить как жидкие электролиты, так и твердые . При использовании твердого носителя ионов, например синтетической полимерной ионообменной мембраны, устраняются недостатки, присущие ячейкам с жидким электролитом. Наличие в полимерной структуре мембраны неподвижных ионных групп и одновременно находящихся в равновесии с ними и способных к обмену подвижных ионов, используемых для переноса тока, способствуют тому, что концентрация ионов в отмытой мембране и ее проводимость не изменяются в процессе работы ячейки длительное воемя. Упрощаетсятакже изготовление электродов, так как роль последних могут выполнять металлические сетчатые электроды, прижатые к боковым поверхностям мембраны с обеих ее сторон.
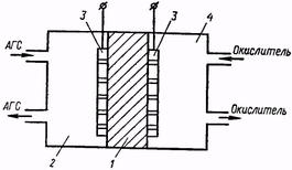
Рис. 9. Схема топливного элемента, используемого в качестве газоанализатора;
/—ионообменная мембрана; 2, 4—рабочая и сравнительная камеры; 3—электроды
Схема топливного элемента, используемого для определения концентрации газообразных веществ, показана на рис. 9. Ионообменную мембрану 1 вместе с плотно прижатыми к ней с обеих сторон металлическими активными сетчатыми электродами 3 помещают в камеру и таким образом разделяют ее на две части: рабочую 2 и сравнительную 4. В рабочую камеру 2 поступает проба АГС, содержащая определяемый компонент, а в сравнительную подается чистый газ, являющийся восстановителем или окислителем.
При определении концентрации молекулярного кислорода в сравнительную камеру можно подавать, например водород.
При одновременной подаче с постоянными скоростями пробы АГС с одной стороны и чистого газа (окислителя или восстановителя) с другой — на границе раздела мембрана — активированные электроды возникает электрохимическая реакция «холодного горения» (реакция происходит при комнатной температуре) определяемого компонента, сопровождаемая появлением разности потенциалов между электродами. Эта разность потенциалов, или электрического тока, является функцией концентрации определяемого компонента пробы АГС.
Оптические методы.
Молекулярный кислород в ближней ИК-области спектра (от 0,75 до 15 мкм) не поглощает излучение, в видимой области спектра молекулярный кислород слабо поглощает; в УФ-области спектра молекулярный кислород имеет полосы поглощения от 195 до 130 нм.
В области от 130 до ПО нм молекулярный кислород прозрачен, а от 110 до 30 нм лежит область сплошного поглощения молекулярного кислорода. Максимум поглощения излучения молекулярного кислорода расположен на длине волны около 145 нм .
Оптико-акустические газоанализаторы
Оптико-акустические газоанализаторы по принятой классификации следует отнести к оптическим. Они основаны на измерении степени поглощения газом прерывистого потока инфракрасной рдиации. Излучения инфракрасной области спектра поглощаются газами, молекулы которых состоят из двух или большего числа различных атомов и ионов. В теплоэнергетике их применяют для измерений СО2; СО; СН4.
Оптико-акустический эффект состоит в следующем: при воздействии на газ (находящийся в замкнутом объеме) прерывистым потоком инфракрасной радиации происходит пульсация температуры, а следовательно, и давления этого газа. Эта пульсация, воздействуя на микрофон, вызывает «звучание» газа.
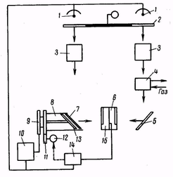
На рис. 10 приведена принципиальная схема газоанализатора. Инфракрасное излучение от двух источников 1 направляется по двум каналам (рабочему и сравнительному),
проходя при этом через обтюратор 2,который шесть раз в секунду прерывает оба потока одновременно. Прерывистые потоки излучения проходят через фильтровые камеры 3 заполненные
обычно данной смесью газа, из которой исключен анализируемый компонент. Наличие фильтровых камер обеспечивает уменьшение погрешности за счет возможного частичного наложения
спектров поглощения анализируемой и не анализируемой составляющей газовой смеси. Далее поток радиации, направленный по рабочему каналу, проходит рабочую камеру 4, через которую непрерывно пропускается анализируемая газовая смесь. Анализируемая составляющая газа поглощает часть энергии, определяемой поглощающей способностью этого газа. Остаток лучистой энергии после отражения от пластины 5 поступает в правую область луче приемника 6. Лучистый поток, проходящий по сравнительному каналу, после фильтровой камеры 3 попадает в компенсационную камеру 8. Компенсационная камера заполнена анализируемой составляющей смеси. На поверхности этой камеры имеются окна из специального стекла (Li+F) 7 свободно пропускающего инфракрасные лучи. Внутри компенсационной камеры имеется отражательное зеркало, которое направляет лучистый поток в левую область луче приемника 6. Если в правую и левую области луче приемника поступают различные по величине прерывистые потоки излучения, то конденсаторный микрофон 15, помещенный в луче приемнике, создает звуковой сигнал, который после усиления усилителем 14 воздействует на реверсивный двигатель 12. Реверсивный двигатель с помощью редуктора 11 перемещает отражательное зеркало 13 до тех пор, пока поток сравнительного канала не уравняется с потоком, поступающим в луче приемник по рабочему каналу. При равенстве этих потоков звучание микрофона прекращается. Перемещение отражательного зеркала внутри уравнительной камеры вызывает изменение ее объема, т. е. изменение пути движения газа, что приводит к изменению поглощения лучистой энергии. Одновременно с редуктором перемещается движок реохорда 9 вторичного прибора 10.
П
одобные газоанализаторы выпускают для диапазонов от 0÷1% до 0÷100% по объему анализируемого компонента с основной погрешностью от ±2,5 до ±5% от верхнего предела измерения.
-
Рис. 10. Принципиальная схема оптико- акустического газоанализатора
Macс-спектрометрический метод
Сущность метода состоит в том, что ионизованные атомы и молекулы вещества разделяются по значениям отношения т/е (т — масса, е — заряд иона) и раздельно регистрируются. Из полученного масс-спектра определяются значения масс и концентраций компонентов в пробе АГС.
Mace-спектрометрический метод — один из важнейших и универсальных методов анализа состава, в котором используется основная характеристика вещества — масса молекулы или атома.
Количественный масс-спектрометрический анализ основан на пропорциональности интенсивности всех линий масс-спектра каждого из веществ пробы АГС его парциальному давлению в области ионизации:















