11 (682880), страница 2
Текст из файла (страница 2)
Достаточно точно о составе атмосферы печи (полноте сжигания топлива) можно судить по результатам анализа продуктов сгорания, отбираемых в конце печи, или для печей большой мощности в конце каждой зоны . По найденному содержанию О2, СО, Н2, СН4 и N2 может быть рассчитан действительный коэффициент расхода воздуха. Разность между рассчитанным и заданным значением явится корректирующим сигналом регулятору Со. Применение указанного способа требует обеспечения представительности проб продуктов сгорания, отбираемых для автоматического анализа, решения задачи очистки и охлаждения пробы, а также минимума запаздываний в импульсной линия и собственно газоанализаторе. Динамические характеристики современных автоматических газоанализаторов на порядок больше динамических характеристик объекта управления, что приводит при непосредственном регулировании Со по результатам анализа: к большим и знакопеременным динамическим погрешностям. Представительный импульс может быть сформирован только по большому количеству отдельных измерений и, характеризуя тенденцию изменения действительного значения Со, может использоваться в качестве корректирующего сигнала.
Если в печи осуществляется полное сжигание топлива, то достаточно контролировать только содержание O2 в продуктах горения . Такой анализ может быть выполнен с достаточным быстродействием и без применения сложных устройств отбора и подготовки пробы с помощью датчика с твердым электролитом (твёрдоэлектролитной ячейки), пропускающего ионы О2. Э.д.с., развиваемая дат» ком, зависит от его температуры и концентрация О2, максимальная чувствительность достигается, когда эта концентрация близка к нулю. Для датчика, выполненного из циркония, допустимая рабочая температура равна 2000°С, что позволяет располагать его в любом участке тракта отходящих газов, а также и непосредственно в рабочем пространстве печи, вблизи факела. В первом случае температуру, а следовательно, и градировочную характеристику датчика стабилизируют с помощью дополнительного электроподогрева по сигналу ТП, смонтированной в одном корпусе с датчиком. Во втором случае датчик одновременно используется для стабилизации температуры рабочего пространства (его ТП подключается на вход регулятора топлива) и для регулирования Со. При этом регулирование Со начинается после того, как температура датчика и рабочего пространства достигает заданного значения.
Малые размеры и высокое быстродействие датчика с твердым электролитом позволяют осуществить контроль качества сжигания топлива не только в каждой зоне, но и в каждой горелке н значительно расширить диапазон работы системы регулирования Со, одновременно упрощая эту систему.
Чтобы уменьшить кратковременные колебания Со, связанные с запаздыванием показаний расходомеров или с прекращением регулирования, вызванным отклонением температуры датчика от заданного значения, в систему может быть введен импульс от исполнительного механизма (И.М.), перемещающего регулирующим органом (Р.О.) на трубопроводе топлива. Подключенный через дифференциатор к регулятору расхода воздуха этот импульс обеспечивает одновременный поворот обоих P.O., что приведет к одновременному изменению расходов топлива и воздуха. Оставшееся отклоните Со от заданного значения будет устранено по сигналам расходомеров или сигналу вышедшего на заданную температуру датчика с твердым электролитом.
Управление сжиганием топлива может выть осуществлено также с помощью экстремальных систем регулирования, в которых в результате непрерывного поиска определяется значение Со, обеспечивающее максимальную при данном расходе
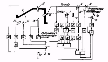
Рис2
топлива температуру в области, контролируемой датчиком. На рис. 2 показана принципиальная схема локальной системы, позволяющей реализовать описанные выше способы управления режимом сжигания топлива.
Измерение расхода воздуха выполняется с помощью диафрагмы/ и дифманометра 1 (ДМ-Э). Поправка к показаниям расходомера формируется с помощью ТП 2(ТХА-151), нормирующего преобразователя 3 (Ш-72) и блока нелинейного преобразования 4 (БНП). Вычисление расхода воздуха, приведенного к стандартным условиям, выполняется блоком умножения 5 (БВО), сигнализация достижения минимального расхода, еще обеспечивающего устойчивую работу горелок — блоком б (БСГ).
Величина заданного Со устанавливается на выносном задатчике 7 (РЗД), выходной сигнал которого суммируется с сигналами коррекции в сумматоре блока 8 (БВО). Там же осуществляется деление вычисленного расхода воздуха на скорректированное значение Со. Расход топлива измеряется с помощью
диафрагмы 11 и дифманометра 9 (ДМ-Э) . Для формирования импульса, уменьшающего запаздывание, служат датчик положения вала И.М. 10 (МЭО 25/100) при P.O. IV
и дифференциатор 11 (ЭД). С помощью преобразователя 12 (БНП) реализуется зависимость, в соответствии с которой изменяются параметры динамической настройки регулятора 13 (РБИ-3) при изменении тепловой нагрузки. Для перехода на дистанционное управление служит блок 14 (БРУ-У), соединенный через пускатель 75 (ПРБ-74) с двигателем 16 (МЭО 25/100), перемещающим P.O. III.
Теплота сгорания топлива контролируется датчиком 17 (КГ-7093.01), корректирующий импульс формируется во вторичном приборе 18 (КГ-7093.02). Коррекция задания при изменении тепловой нагрузки осуществляется с помощью блока 19 (БНП). Корректирующий импульс по содержанию О^ в продуктах сгорания зоны печи V может поступать в зависимости от положения переключателя 111 либо от комплекта, состоящего из устройства отбора и подготовки пробы 20, автоматического газового анализатора 21 (МН-5106) и интегратора 22 (БПИ), либо от датчика с твердым электролитом 23 в комплекте с преобразователем 24 (Циркон), либо, наконец, от датчика 25, расположенного в пламени горелки VI, и преобразователя 26. В последнем случае ТП датчика 25 через преобразователь 27 подключается на вход регулятора температуры рабочего пространства. Заданная концентрация О2 в месте установки соответствующего датчика вводится с помощью задатчика 28 (РЗД).
Экстремальное регулирование выполняется с помощью датчика 29 (ТЕРА-50) и экстремального регулятора 30 (ЭРБ), подключаемого через ключи 111 и П2 к сумматору блока 8 или через ключ П2 непосредственно к блоку 14 в зависимости от типа выходного сигнала регулятора 30.
При переводе переключателя Я в положение а, Ъ и d элементы схемы 1, 2, 3, 4, 5, 6, 7, делитель блока 8, элементы 9, 17, 18, 19, 20, 21 и 22 непосредственно в регулировании могут не участвовать.
Наладка системы на объекте состоит в определении исходных параметров динамической настройки регулятора 13, выполняемом по известным методикам на основании кривой разгона, снятой при тепловой нагрузке порядка 70-80% от максимальной; настройке блока 12 для обеспечения постоянного характера переходного процесса в широком диапазоне изменения тепловой нагрузки и настройке блока 19 по результатам газового анализа для обеспечения постоянного состава атмосферы печи. Все остальные элементы проходят предварительную приборную наладку в соответствии с инструкциями по их эксплуатации до установки на объекте и периодически поверяются в дальнейшем.
При. сжигании топлива одна из главных проблем — обеспечение оптимального соотношения между количеством подаваемых в топку топлива и воздуха.
Для каждой конкретной установки существует оптимальный избыток воздуха, который соответствует наиболее экономичному протеканию процесса сжигания. Недостаток воздуха при горении способствует образованию токсичных продуктов неполного сгорания, вызывает перерасход топлива. Избыток воздуха также приводит к перерасходу топлива на нагрев лишнего воздуха в составе отходящих газов. В обоих случаях сжигание топлива сопровождается повышенным выбросом в атмосферу высокотоксичных оксидов азота. Одним из наиболее достоверных способов определения избытка воздуха является анализ газовой cмеси, покидающей камеру сгорания, а именно определение концентрации кислорода в топочных газах. В соответствии с «Инструкцией по проектированию и безопасной эксплуатации факельных установок для горючих газов и паров» должен осуществляться автоматический контроль за концентрацией кислорода в газах, сбрасываемых на факел. Концентрация кислорода в такой газовой смеси не должна превышать ≈2 % (об.).
Литературный обзор.
Методы определения
Известны следующие методы определения концентрации молекулярного кислорода: химические, электрохимические, с использованием топливных элементов, термокондуктометрический, акустический, пневматический, ионизационный, оптические, масс-спектрометрический, магнитные, с использованием полупроводниковых чувствительных элементов, хроматографические.[3]
Термохимический метод.
Метод основан на измерении теплового эффекта экзотермической химической реакции, в которой участвует определяемый компонент пробы АГС.
Повышение температуры, определяющееся значением теплового эффекта реакции, пропорционально концентрации горючего (определяемого) компонента. Для определения -концентрации кислорода этим методом используют реакцию взаимодействия кислорода с водородом:
О2 + 2Н2=2Н2О + 4,84364-105 Дж.
Процесс стационарного беспламенного горения происходит на крупинках мелкораздробленного катализатора с развитой поверхностью, через который просасывается проба АГС. Температура поверхности, которая в данном случае является измеряемой физической величиной, не зависит от истинной кинетики каталитической реакции, т. е. от активности катализатора.
Теоретически повышение температуры за счет реакции равно:
T-T0=C(Q0/nCv)(1)
где Т — температура поверхности; Т0 — температура среды; С — концентрация горючего (определяемого) компонента; Q0 — теплота реакции; п — число молекул в единице объема; Cv — молекулярная теплоемкость при постоянном объеме.
Значение Q0 постоянно, п зависит от давления и в известной степени от температуры, Cv — функция состава пробы АГС.
Повышение температуры на 1,0% (об.) кислорода должно составить: Т02 = 161°С.
Однако практически повышение температуры значительно ниже за счет потерь тепла и составляет 20—25 % от теоретического.
Различают два варианта термохимического метода анализа состава.
В первом варианте определяемый компонент пробы АГС сгорает непосредственно на чувствительном элементе (ЧЭ), в качестве которого, как правило, используют терморезистор. Терморезистор является одновременно катализатором или покрыт слоем катализатора; повышение температуры А/ терморезистора является функцией концентрации определяемого компонента пробы АГС:
(2)
где К — коэффициент, характеризующий конструкцию реакционного объема; (
— коэффициент, характеризующий полноту сгорания; С — концентрация определяемого компонента; q — теплота его сгорания.
Во втором варианте пробу АГС пропускают через камеру, и на насыпном слое катализатора протекает реакция, в результате которой повышается его температура, являющаяся функцией концентрации определяемого компонента пробы АГС:
(7)
где Q — расход пробы АГС; а и b — коэффициенты, учитывающие характер теплообмена в реакционной зоне.
Температуру катализатора можно измерить, например, термопарой, сравнительный спай которой помещается в потоке АГС до катализатора, а измерительный спай — непосредственно в катализаторе.
Для термохимического газоанализатора необходимо в качестве материала для ЧЭ использовать материал со значительным температурным коэффициентом сопротивления (ТКС). Обычно применяют платину, так как она обладает высокой химической инертностью, сравнительно высоким ТКС, линейной зависимостью ТКС от температуры (до 1200 °С). Сочетание высокой каталитической активности с химической инертностью позволяет также широко использовать платину в качестве материала для ЧЭ термохимических газоанализаторов, одновременно выполняющих роль катализатора.
В качестве чувствительного элемента применяют химически чистую платиновую проволоку ПЛ-3, обладающую оптимальными свойствами по испарению и рекристаллизации. Для стабилизации каталитических свойств поверхности платины чувствительный элемент после изготовления подвергают специальной обработке — старению и активации.















