Вредные факторы-Главы-8-10 исходники (559878), страница 6
Текст из файла (страница 6)
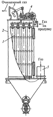
Рис 10 2 Схемы использования средств защиты атмосферы
/ — источник токсичных веществ, 2 — устройство для локализации токсичных веществ (местный отсос), 3 — аппарат очистки, 4 — устройство для забора воздуха из атмосферы, 5 — труба для рассеивания выбросов, 6 — устройство (воздуходувка) для подачи воздуха на разбавление выбросов
щения или от оборудования и рассеиванием в атмосфере. Если при этом концентрации вредных веществ в атмосфере превышают ПДК, то применяют очистку выбросов от вредных веществ в аппаратах очистки, установленных в выпускной системе. Наиболее распространены вентиляционные, технологические и транспортные выпускные системы.
На практике реализуются следующие варианты защиты атмосферного воздуха:
-
вывод токсичных веществ из помещений общеобменной вен
тиляцией; -
локализация токсичных веществ в зоне их образования мест
ной вентиляцией, очистка загрязненного воздуха в специальных ап
паратах и его возврат в производственное или бытовое помещение,
если воздух после очистки в аппарате соответствует нормативным
требованиям к приточному воздуху (рис. 10.2, а);
252
t— локализация токсичных веществ в зоне их образования местной вентиляцией, очистка загрязненного воздуха в специальных аппаратах, выброс и рассеивание в атмосфере (рис. 10.2, б); — очистка технологических газов выбросов в специальных аппаратах, выброс и рассеивание в атмосфере, в ряде случаев перед выбросом отходящие газы разбавляют атмосферным воздухом (рис. 10.2, в); — очистка отработавших газов энергоустановок, например двигателей внутреннего сгорания в специальных агрегатах, и выброс в атмосферу или производственную зону (рудники, карьеры, складские помещения и т. п.) (рис. 10.2, г).
Для соблюдения ПДК вредных веществ в атмосферном воздухе населенных мест устанавливают предельно допустимый выброс (ПДВ) вредных веществ из систем вытяжной вентиляции, различных технологических и энергетических установок.
В соответствии с требованиями ГОСТ 17.2.3.02—78 для каждого проектируемого и действующего промышленного предприятия устанавливается ПДВ вредных веществ в атмосферу при условии, что выбросы вредных веществ от данного источника в совокупности с другими источниками (с учетом перспективы их развития) не создадут приземную концентрацию, превышающую ПДК.
Рассеивание выбросов в атмосфере. Технологические газы и вентиляционный воздух после выхода из труб или вентиляционных устройств подчиняются законам турбулентной диффузии. На рис. 10.3 показано распределение концентрации вредных веществ в атмосфере под факелом организованного высокого источника выброса. По мере удаления от трубы в направлении распространения промышленных выбросов можно условно выделить три зоны загрязнения атмосферы:
X,
Рис 10 3 Распределение концентрации вредных веществ в атмосфере у земной
поверхности от организованного высокого источника выбросов
Л — зона неорганизованного загрязнения, Б — зона переброса факела, В — зона задымления,
Г— зона постепенного снижения уровня загрязнения
253
переброса факела выбросов Б, характеризующаяся относительно невысоким содержанием вредных веществ в приземном слое атмосферы; задымления В с максимальным содержанием вредных веществ и постепенного снижения уровня загрязнения Г. Зона задымления наиболее опасна для населения и должна быть исключена из селитебной застройки. Размеры этой зоны в зависимости от метеорологических условий находятся в пределах 10...49 высот трубы.
Максимальная концентрация примесей в приземной зоне пропорциональна производительности источника и обратно пропорциональна квадрату его высоты над землей. Подъем горячих струй почти полностью обусловлен подъемной силой газов, имеющих более высокую температуру, чем окружающий воздух. Повышение температуры и момента количества движения выбрасываемых газов приводит к увеличению подъемной силы и снижению их приземной концентрации.
Распространение газообразных примесей и пылевых частиц диаметром менее 10 мкм, имеющих незначительную скорость осаждения, подчиняется общим закономерностям. Для более крупных частиц эта закономерность нарушается, так как скорость их осаждения под действием силы тяжести возрастает. Поскольку при очистке от пыли крупные частицы улавливаются, как правило, легче, чем мелкие, в выбросах остаются очень мелкие частицы; их рассеивание в атмосфере рассчитывают так же, как и газовые выбросы.
В зависимости от расположения и организации выбросов источники загрязнения воздушного пространства подразделяют на затененные и незатененные, линейные и точечные. Точечными источники считают тогда, когда удаляемые загрязнения сосредоточены в одном месте. К ним относят выбросные трубы, шахты, крышные вентиляторы и другие источники. Выделяющиеся из них вредные вещества при рассеивании не накладываются одно на другое на расстоянии двух высот здания Язд. Линейные источники имеют значительную протяженность в направлении, перпендикулярном ветру. Это аэра-ционные фонари, открытые окна, близко расположенные вытяжные шахты и крышные вентиляторы.
Незатененные, или высокие, источники свободно расположены в недеформированном потоке ветра. К ним относят высокие трубы, а также точечные источники, удаляющие загрязнения на высоту, превышающую 2,5 Язд. Затененные, или низкие, источники расположены в зоне подпора или аэродинамической тени, образующейся на здании или за ним (в результате обдувания его ветром) на высоте до /i<2,5 Ям.
Основным документом, регламентирующим расчет рассеивания и определения приземных концентраций выбросов промышленных
254
предприятий, является «Методика расчета концентраций в атмосферном воздухе вредных веществ, содержащихся в выбросах предприятий ОНД—86». Эта методика позволяет решать задачи по определению ПДВ при рассеивании через одиночную незатененную трубу, при выбросе через низкую затененную трубу и при выбросе через фонарь из условия обеспечения ПД К в приземном слое воздуха.
При определении ПДВ примеси от расчетного источника необходимо учитывать ее концентрацию сф в атмосфере, обусловленную выбросами от других источников. Для случая рассеивания нагретых выбросов через одиночную незатененную трубу
(10.3)
AkF mn
где Н — высота трубы; Q — объем расходуемой газовоздушной смеси, выбрасываемой через трубу; AT— разность между температурой выбрасываемой газовоздушной смеси и температурой окружающего атмосферного воздуха, равной средней температуре самого жаркого месяца в 13 ч; А — коэффициент, зависящий от температурного градиента атмосферы и определяющий условия вертикального и горизонтального рассеивания вредностей; kF— коэффициент, учитывающий скорость оседания взвешенных частиц выброса в атмосфере; т и п — безразмерные коэффициенты, учитывающие условия выхода газовоздушной смеси из устья трубы.
Оборудование для очистки выбросов. В тех случаях, когда реальные выбросы превышают ПДВ, необходимо в системе выброса использовать аппараты для очистки газов от примесей.
Аппараты очистки вентиляционных и технологических выбросов в атмосферу делятся на: пылеуловители (сухие, электрические, фильтры, мокрые); туманоуловители (низкоскоростные и высокоскоростные); аппараты для улавливания паров и газов (абсорбционные, хемосорбционные, адсорбционные и нейтрализаторы); аппараты многоступенчатой очистки (уловители пыли и газов, уловители туманов и твердых примесей, многоступенчатые пылеуловители). Их работа характеризуется рядом параметров. Основными из них являются эффективность очистки, гидравлическое сопротивление и потребляемая мощность.
Эффективность очистки
Ц = (4« - свых)/свх, (Ю.4)
где свх и свых — массовые концентрации примесей в газе до и после аппарата.
255
Рис
10 5 Схема электрофильтра
ют тем самым ускорение, направленное в сторону электрода с зарядом противоположного знака. Процесс зарядки частиц зависит от подвижности ионов, траектории движения и времени пребывания частиц в зоне коронирующего заряда. Учитывая, что в воздухе и дымовых газах подвижность отрицательных ионов выше, чем положительных, электрофильтры обычно делают с короной отрицательной полярности. Время зарядки аэрозольных частиц невелико и измеряется долями секунды. Движение заряженных частиц к осадительному электроду происходит под действием аэродинамических сил и силы взаимодействия электрического поля и заряда частицы.Большое значение для процесса осаждения пыли на электродах имеет электрическое сопротивление слоев пыли. По величине электрического сопротивления различают:
-
пыли с малым удельным электрическим сопротивлением
(< 104 Ом • см), которые при соприкосновении с электродом мгно
венно теряют свой заряд и приобретают заряд, соответствующий зна
ку электрода, после чего между электродом и частицей возникает
сила отталкивания, стремящаяся вернуть частицу в газовый поток;
противодействует этой силе только сила адгезии; если она оказывает
ся недостаточной, то резко снижается эффективность процесса очи
стки; -
пыли с удельным электрическим сопротивлением от 104 до
1010 Ом • см; они хорошо осаждаются на электродах и легко удаляются
с них при встряхивании; -
пыли с удельным электрическим сопротивлением более
1010 Ом • см; они труднее всего улавливаются в электрофильтрах, так
как на электродах частицы разряжаются медленно, что в значитель
ной степени препятствует осаждению новых частиц.
В реальных условиях снижение удельного электрического сопрО' тивления пыли можно осуществить увлажнением запыленного газа.
Определение эффективности очистки запыленного газа в трофильтрах обычно проводят по формуле Дейча:
rj = 1 -
(10.Я
258
где Щ, — скорость движения частицы в электрическом поле, м/с; Fyi — удельная поверхность осадительных электродов, равная отношению поверхности осадительных элементов к расходу очищаемых газов, м2 • с/м3. Из формулы (10.7) следует, что эффективность очистки газов зависит от показателя степени WF
УД'
3,0 0,95
4,6 0,99
3,9 0,98
' уд
3,7 0,975Конструкцию электрофильтров определяют состав и свойства очищаемых газов, концентрация и свойства взвешенных частиц, параметры газового потока, требуемая эффективность очистки и т. д. В промышленности используют несколько типовых конструкций сухих и мокрых электрофильтров [16], применяемых для очистки технологических выбросов (рис. 10.6).
Рис. 10.6. Электрофильтр типа С для уланливания смол
/ — распределительные решетки, 2 — осадительные и коронирующие электроды, 3 — корпус, 4 — смолоулавливаю-щий зонт
Эксплуатационные характеристики электрофильтров весьма чувствительны к изменению равномерности поля скоростей на входе в фильтр. Для получения высокой эффективности очистки необходимо обеспечить равномерный подвод газа к электрофильтру путем правильной организации подводящего газового тракта и применения распределительных решеток во входной части электрофильтра.Для тонкой очистки газов от частиц и капельной жидкости применяют различные фильтры. Процесс фильтрования состоит в задержании частиц примесей на пористых перегородках при движении че-Рез них дисперсных сред. Принципиальная схема процесса фильтро-вания в пористой перегородке показана на рис. 10.7. Фильтр представляет собой корпус 1, разделенный пористой перегородкой (фильтроэлементом) 2 на две полости. В фильтр поступают загряз-Ненные газы, которые очищаются при прохождении фильтроэлемен-^ Частицы примесей оседают на входной части пористой перегород-
17*
259
В ряде случаев для пылей используется понятие фракционной эффективности очистки
Л/ V'-bxj CBbHj,//CBX,,
где свх, и свьш — массовые концентрации /-й фракции пыли до и после пылеуловителя.
Для оценки эффективности процесса очистки также используют коэффициент проскока веществ К через аппарат очистки:
К=свьа/свх. (10.5)
Как следует из формул (10.4) и (10.5), коэффициент проскока и эффективность очистки связаны соотношением К= 1 —л.
Гидравлическое сопротивление аппаратов очистки Ар определяют как разность давлений газового потока на входе аппарата рвх и выходе рвъа из него. Значение Ар находят экспериментально или рассчитывают по формуле
Ар = рвх - рвик = ^р W2/2, (Ю.6)
где 4 — коэффициент гидравлического сопротивления аппарата; р и W— плотность и скорость газа в расчетном сечении аппарата.
Если в процессе очистки гидравлическое сопротивление аппарата изменяется (обычно увеличивается), то необходимо регламентировать его начальное Арнзч и конечное значение Аркоа. При достижении Ар = Дркон процесс очистки нужно прекратить и провести регенерацию (очистку) аппарата. Последнее обстоятельство имеет принципиальное значение для фильтров. Для фильтров Аркон = (2...5)Арнач.
Мощность //побудителя движения газов определяется гидравлическим сопротивлением и объемным расходом Дочищаемого газа:
где А: — коэффициент запаса мощности, обычно -fc = 1,1 1,15;
г|м — КПД передачи мощности от электродвигателя к вентилятору; обычно г|м = 0,92...0,95; г\в — КПД вентилятора; обычно г\в = 0,65...0,8. Широкое применение для очистки газов от частиц получили сухие пылеуловители — циклоны (рис. 10.4) различных типов. Газовый поток вводится в циклон через патрубок 2 по касательной к внутренней поверхности корпуса 1 и совершает вращательно-поступательное движение вдоль корпуса к бункеру 4. Под действием центробежной силы частицы пыли образуют на стенке циклона пылевой слой, который вместе с частью газа попадает в бункер. Отделение частиц пыли от газа, попавшего в бункер, происходит при повороте газового пото-
256
ка в бункере на 180°. Освободившись от пыли, газовый поток образует вихрь и выходит из бункера, давая начало вихрю газа, покидающему циклон через выходную трубу 3. Для нормальной работы циклона необходима герметичность бункера. Если бункер негерметичен, то из-за подсоса наружного воздуха происходит вынос пыли с потоком через выходную трубу.
Рис. 10.4. Схема циклона
Многие задачи по очистке газов от пыли с успехом решаются цилиндрическими (ЦН-11, ЦН-15, ЦН-24, ЦП-2) и коническими (СК-ЦН-34, СК-ЦН-34М и СДК-ЦН-33) циклонами НИИОГАЗа. Цилиндрические циклоны НИИОГАЗа предназначены для улавливания сухой пыли аспирационных систем. Их рекомендуется использовать для предварительной очистки газов и устанавливать перед фильтрами или электрофильтрами.Конические циклоны НИИОГАЗа серии СК, предназначенные для очистки газа от
сажи, обладают повышенной эффективностью по сравнению с циклонами типа ЦН, что достигается за счет большего гидравлического сопротивления циклонов серии СК.
Для очистки больших масс газов применяют батарейные циклоны, состоящие из большого числа параллельно установленных циклонных элементов. Конструктивно они объединяются в один корпус и имеют общий подвод и отвод газа. Опыт эксплуатации батарейных циклонов показал, что эффективность очистки у таких циклонов несколько ниже эффективности отдельных элементов из-за перетока газов между циклонными элементами. Методика расчета циклонов приведена в работе [16].
Электрическая очистка (электрофильтры) — один из наиболее совершенных видов очистки газов от взвешенных в них частиц пыли и тумана. Этот процесс основан на ударной ионизации газа, передаче заряда ионов частицам примесей и осаждении последних" на осади-тельных и коронирующих электродах. Для этого применяют электрофильтры.
Аэрозольные частицы, поступающие в зону между коронирую-ЧШм / и осадительным 2 электродами (рис. 10.5), адсорбируют на своей поверхности ионы, приобретая электрический заряд, и получа-
17. Белов 257
Рис 10 7 Схема фильтра
ки, образуя на поверхности перегородки слой 3, и задерживаются в порах. Для вновь поступающих частиц этот слой становится частью фильтровой перегородки, что увеличивает эффективность очистки фильтра и перепад давления на фильт-роэлементе. Осаждение частиц на поверхности пор фильтроэле-мента происходит в результатесовокупного действия эффекта касания, а также диффузионного, инерционного и гравитационного эффектов.
Классификация фильтров основана на типе фильтровой перегородки, конструкции фильтра и его назначении, тонкости очистки и др. По типу перегородки фильтры бывают: с зернистыми слоями (неподвижные, свободно насыпанные зернистые материалы, псевдоожи-женные слои); с гибкими пористыми перегородками (ткани, войлоки, волокнистые маты, губчатая резина, пенополиуретан и др.); с полужесткими пористыми перегородками (вязаные и тканые сетки, прессованные спирали и др.); с жесткими пористыми перегородками (пористая керамика, пористые металлы и др.).
Наибольшее распространение в промышленности для сухой очистки газовых выбросов получили рукавные фильтры (рис. 10.8).
Рис 10.8 Рукавный фильтр рукав, 2 — корпус, 3 — выходной лат
Аппараты мокрой очистки газов — мокрые пылеуловители — имеют широкое распространение, так как характеризуются высокой эффективностью очистки от мелкодисперсных пылей с d4 > 0,3 мкм, а так-
рубок; 4 — устройство для регенерации 5—входной патрубок
нагретых
260
же возможностью очистки от пылии взрывоопасных газов.
тель.
Аппараты мокрой очистки работают по принципу осаждения частиц пыли на поверхность либо капель, либо пленки жидкости. Осаждение частиц пыли на жидкость происходит под действием сил инерции и броуновского движения.
Среди аппаратов мокрой очистки с осаждением частиц пыли на поверхность капель на практике более применимы скрубберы Венту-ри (рис. 10.9). Основная часть скруббера — сопло Вентури 2. В его конфузорную часть подводится запыленный поток газа и через центробежные форсунки 1 жидкость на орошение. В конфузорной части сопла происходит разгон газа от входной скорости (Щ= 15...20 м/с) до скорости в узком сечении сопла 80...200 м/с и более. Процесс осаждения пыли на капли жидкости обусловлен массой жидкости, развитой поверхностью капель и высокой относительной скоростью частиц жидкости и пыли в конфузорной части сопла. Эффективность очистки в значительной степени зависит от равномерности распределения жидкости по сечению конфузорной части сопла. В диффузор-ной части сопла поток тормозится до скорости 15...20 м/с и подается в каплеуловитель 3. Каплеуловитель обычно выполняют в виде прямоточного циклона.
Скрубберы Вентури обеспечивают высокую эффективность очистки аэрозолей при начальной концентрации примесей до 100 г/м . Если удельный расход воды на орошение составляет 0,1...6,0 л/м , то эффективность очистки равна:
d4, мкм 1 5 10
П 0,70...0,90 0,90 ..0,98 0,94 ..0,99
Скрубберы Вентури широко используют в системах очистки газов от туманов. Эффективность очистки воздуха от тумана со средним Размером частиц более 0,3 мкм достигает 0,999, что вполне сравнимо с высокоэффективными фильтрами.
261
Рис 10 10 Схема барботажно-пенного пьшеуловителя Рис 10 11 Схема фильт-с провальной (а) и переливной (б) решетками рующего элемента низкоскоростного тумано-уловителя
К мокрым пылеуловителям относят барботажно-пенные пылеуловители с провальной (рис. 10.10, а) и переливной решетками (рис. 10.10, б). В таких аппаратах газ на очистку поступает под решетку 3, проходит через отверстия в решетке и, барботируя через слой жидкости и пены 2, очищается от пыли путем осаждения частиц на внутренней поверхности газовых пузырей. Режим работы аппаратов зависит от скорости подачи воздуха под решетку. При скорости до 1 м/с наблюдается барботажный режим работы аппарата. Дальнейший рост скорости газа в корпусе 1 аппарата до 2...2,5 м/с сопровождается возникновением пенного слоя над жидкостью, что приводит к повышению эффективности очистки газа и брызгоуноса из аппарата. Современные барботажно-пенные аппараты обеспечивают эффективность очистки газа от мелкодисперсной пыли ~ 0,95...0,96 при удельных расходах воды 0,4...0,5 л/м3. Практика эксплуатации этих аппаратов показывает, что они весьма чувствительны к неравномерности подачи газа под провальные решетки. Неравномерная подача газа приводит к местному сдуву пленки жидкости с решетки. Кроме того, решетки аппаратов склонны к засорению.
262
Для очистки воздуха от туманов кислот, щелочей, масел и других жидкостей используют волокнистые фильтры — туманоуловители. Принцип их действия основан на осаждении капель на поверхности пор с последующим стеканием жидкости по волокнам в нижнюю часть туманоуловителя. Осаждение капель жидкости происходит под действием броуновской диффузии или инерционного механизма отделения частиц загрязнителя от газовой фазы на фильтроэле-ментах в зависимости от скорости фильтрации W§. Туманоуловители делят на низкоскоростные( ^ < 0,15м/с), в которых преобладает механизм диффузного осаждения капель, и высокоскоростные (Щ = 2...2,5 м/с), где осаждение происходит главным образом под воздействием инерционных сил.
Фильтрующий элемент низкоскоростного туманоуловителя показан на рис. 10.11. В пространство между двумя цилиндрами 3, изготовленными из сеток, помещают волокнистый фильтроэлемент 4, который крепится с помощью фланца 2 к корпусу туманоуловителя 1. Жидкость, осевшая на фильтроэлементе, стекает на нижний фланец 5 и через трубку гидрозатвора 6 и стакан /сливается из фильтра. Волокнистые низкоскоростные туманоуловители обеспечивают высокую эффективность очистки газа (до 0,999) от частиц размером менее 3 мкм и полностью улавливают частицы большего размера. Волокнистые слои формируются из стекловолокна диаметром 7.. .40 мкм. Толщина слоя составляет 5.. 15 см, гидравлическое сопротивление сухих фильтроэлементов — 200... 1000 Па.
Высокоскоростные туманоуловители имеют меньшие размеры и обеспечивают эффективность очистки, равную 0,9...0,98 при Ар = 1500...2000 Па, от тумана с частицами 3 мкм. В качестве фильтрующей набивки в таких туманоуловителях используют войлоки из полипропиленовых волокон, которые успешно работают в среде разбавленных и концентрированных кислот и щелочей.
В тех случаях, когда диаметры капель тумана составляют 0,6...0,7 мкм и менее, для достижения приемлемой эффективности очистки приходится увеличивать скорость фильтрации до 4,5...5 м/с, что приводит к заметному брызгоуносу с выходной стороны фильтро-элемента (брызгоунос обычно возникает при скоростях 1,7...2,5 м/с). Значительно уменьшить брызгоунос можно применением брызго-уловителей в конструкции туманоуловителя. Для улавливания жидких частиц размером более 5 мкм применяют брызгоуловители из пакетов сеток, где захват частиц жидкости происходит за счет эффектов касания и инерционных сил. Скорость фильтрации в брызгоуловите-лях не должна превышать 6 м/с.
263
Туман
10 12 Схема высокоскоростного туманоуловителя
На рис. 10.12 показана схема высокоскоростного волокнистого туманоуловителя с цилиндрическим фильтрующим элементом 3, который представляет собой перфорированный барабан с глухой крышкой. В барабане установлен грубоволокнистый войлок 2 толщиной 3...5 мм. Вокру! барабана по его внешней стороне расположен брызгоуловитель / представляющий собой набор перфорированных плоских и гофрированных слоев винилпластовых лент. Брызгоуловитель и фильтроэлемент нижней частью установлены в слой жидкости.Для очистки аспирационного воздуха ванн хромирования, содержащего туман и брызги хромовой и серной кислот, применяют волокнистые фильтры типа ФВГ-Т. В корпусе размещена кассета с фильтрующим материалом — иглопробивным войлоком, состоящим из волокон диаметром 70 мкм, толщиной слоя 4...5 мм.
Метод абсорбции — очистка газовых выбросов от газов и паров — основан на поглощении последних жидкостью. Для этого используют абсорберы. Решающим условием для применения метода абсорбции является растворимость паров или газов в абсорбенте. Так для удаления из технологических выбросов аммиака, хлоро- или фто-роводорода целесообразно применять в качестве абсорбента воду. Для высокоэффективного протекания процесса абсорбции необходимы специальные конструктивные решения. Они реализуются в виде насадочных башен (рис. 10.13), форсуночных барботажно-пенных и других скрубберов.
Рис 10 13 Схема наса-
дочной башни / — насадка, 2 — раэбрыз
Работа хемосорберов основана на поглощении газов и паров жидкими или твердыми поглотителями с образованием малорастворимых или малолетучих химических соединений. Основными аппаратами для реализации процесса являются насадочные башни, барботажно-пен-ные аппараты, скрубберы Вентури и т. п. Хемо-сорбция — один из распространенных методов264
очистки отходящих газов от оксидов азота и паров кислот. Эффективность очистки от оксидов азота составляет 0,17.. 0,86 и от паров кислот -0,95
Метод адсорбции основан на способности некоторых тонкодисперсных твердых тел селективно извлекать и концентрировать на своей поверхности отдельные компоненты газовой смеси. Для этого метода используют адсорбенты. В качестве адсорбентов, или поглотителей, применяют вещества, имеющие большую площадь поверхности на единицу массы. Так, удельная поверхность активированных углей достигает 105. .106 м2/кг. Их применяют для очистки газов от органических паров, удаления неприятных запахов и газообразных примесей, содержащихся в незначительных количествах в промышленных выбросах, а также летучих растворителей и целого ряда других газов. В качестве адсорбентов применяют также простые и комплексные оксиды (активированный глинозем, силикагель, активированный оксид алюминия, синтетические цеолиты или молекулярные сита), которые обладают большей селективной способностью, чем активированные угли.
Конструктивно адсорберы выполняют в виде емкостей, заполненных пористым адсорбентом, через который фильтруется поток очищаемого газа. Адсорберы применяют для очистки воздуха от паров растворителей, эфира, ацетона, различных углеводородов и т. п.
Адсорберы нашли широкое применение в респираторах и противогазах. Патроны с адсорбентом следует использовать строго в соответствии с условием эксплуатации, указанным в паспорте респиратора или противогаза.
Несмотря на продолжающийся выпуск респираторов типа РПГ-67 [3] (ГОСТ 12.4.004—74) и большой спрос на них, они устарели. К настоящему времени разработан, испытан, сертифицирован и серийно производится газозащитный респиратор РПГ-01 серии КР Сорби (ГОСТ 12.4.193—99). Он состоит из полумаски ПР—99, оголовья с пластмассовым наголовником и пластмассовых противогазовых фильтров. В зависимости от назначения противогазовые фильтры этого респиратора делятся на марки (обозначено буквами) и классы (обозначено цифрами) защиты (табл. 10.2).
Испытаниями (ЗАО «Сорбент — Центр Внедрение» г. Пермь) установлено, что респираторы РПГ-01 по времени защитного действия и иным показателям не уступают зарубежным аналогам.
Термическая нейтрализация основана на способности горючих газов и паров, входящих в состав вентиляционных или технологических выбросов, сгорать с образованием менее токсичных веществ. Для этого метода используют нейтрализаторы. Различают три схемы терми-
265
ческой нейтрализации: прямое сжигание; термическое окисление; каталитическое дожигание.
Таблица 10.2 Показатели противогазовых фильтров респиратора РПГ-01
| Марка и класс | Цвет этикетки | Класс вредных веществ |
| противогазового | ||
| фильтра респира- | ||
| тора РПГ-01 | ||
| А1 | Коричневая | Органические газы и пары с температу- |
| рой кипения выше 65°С | ||
| Е1 | Желтая | Кислые газы и пары |
| К1 | Зеленая | Аммиак и его органические производ- |
| ные | ||
| А1К1 | Коричнево-зеленая | Органические газы и пары с температу- |
| рой кипения выше 65°С, аммиак и его ор- | ||
| ганические производные | ||
| А1Е1 | Коричнево-желтая | Органические газы и пары с температу- |
| рой кипения выше 65°С, кислые газы и | ||
| пары | ||
| А1В1Е1 | Коричнево-се- | Органические газы и пары с температу- |
| ро-желтая | рой кипения выше 65°С, неорганические и | |
| кислые газы, пары | ||
| А1В1Е1К1 | Коричнево-се- | Органические газы и пары с температу- |
| ро-желто-зеленая | рой кипения выше 65°С, неорганические и | |
| кислые газы, пары, аммиак и его органи- | ||
| ческие производные |
Прямое сжигание используют в тех случаях, когда очищаемые газы обладают значительной энергией, достаточной для поддержания горения. Примером такого процесса является факельное сжигание горючих отходов. Так нейтрализуют циановодород в вертикально направленных факелах на нефтехимических заводах. Разработаны схемы камерного сжигания отходов. Такие дожигатели можно использовать для нейтрализации паров токсичных горючих или окислителей при их сдувах из емкостей.
Термическое окисление находит применение в тех случаях, когда очищаемые газы имеют высокую температуру, но не содержат достаточно кислорода или когда концентрация горючих веществ незначительна и недостаточна для поддержания пламени.
В первом случае процесс термического окисления проводят в камере с подачей свежего воздуха (дожигание оксида углерода и углеводородов), а во втором — при подаче дополнительно природного газа. Схема устройства для термического окисления выбросов показана на рис. 10.14.
266
рис 10.14. Схема установки для термического окисления:
/ — входной патрубок, 2—теплообменник, 3— горелка, 4— камера, 5 — выходной патрубок
твердых и газообразных примесей; при очистке от твердых примесей и капельной жидкости и т. п. Многоступенчатую очистку широко применяют в системах очистки воздуха с его последующим возвратом в помещение (см. рис. 7.2, а).
Производство и применение очистного оборудования. Перечень пыле-, газо- и туманоочистного оборудования, разработанного НИИО-ГАЗом, приведен ниже:
Очистное оборудование НИИОГАЗа
Электрофильтр ЭГВ — Для очистки от пыли невзрывоопасных технологических газов и аспирационного воздуха с температурой до 330°С.
Электрофильтр ЭГАВ СРК — Для эффективной очистки от пыли невзрывоопасных и непожароопасных дымовых газов при температуре от 130 до 250°С после котлоагрегатов СРК целлюлозно-бумажной промышленности.
Электрофильтр ЭВЦТ— Для очистки от пыли фосфорсодержащих газов с температурой от 230 до 600°С, отходящих от электротермических печей.
Электрофильтр ЭТМ— Для очистки газов, содержащих до 40 % туман и капли серной кислоты со следами окислов мышьяка, селена, серы и возможных примесей фтора и его соединений.
Электрофильтр ЭГАЛТ— Для очистки высокозапыленных (до 1000 г/м3) высокотемпературных (до 500°С) агрессивных газов автогенных процессов цветной металлургии.
Электрофильтровентиляционный агрегат ЭФВА —Для отсоса и высокоэффективной очистки невзрывоопасной и непожароопасной смеси воздуха с аэрозолем, образующимся при сварке и холодной штамповке металлов при температуре очищаемой смеси до 60°С, разрежении не более 0,6 кПа.
Рукавный фильтр ФРОС — Для очистки от пыли высокотемпературных газов в химической, нефтехимической и других отраслях промышленности.
Рукавный фильтр ФРИД-Б — Для очистки запыленных газов, не являющихся токсичными, агрессивными, пожаро- и взрывоопасными в линиях высоконапорного пневмотранспорта химической, цементной и других отраслей промышленности.
Рукавный фильтр ФРИ-ЗО — Для очистки высокозапыленных газов, не являющихся токсичными, агрессивными, пожаро- и взрывоопасными, в системах аспирации и линиях пневмотранспорта химической, цементной, машиностроительной и других отраслей промышленности.
268
Рукавные фильтры ФРИ-Б, ФРИ- 72 — Для очистки запыленного воздуха на предприятиях мукомольной, комбикормовой, пищевой промышленности.
Рукавный фильтр ФРБИ — Для улавливания мелкодисперсных взрывоопасных красителей, пигментов и других пылей из воздуха и негорючих газов.
Рукавный фильтр ФРМ — Для очистки от пыли аспирационного воздуха технологического оборудования и дымовых газов сушильных печей на предприятиях асбестовой промышленности.
Фильтры бумажные патронные ФБПИ— Для улавливания сви-нецсодержащих аэрозолей из вентиляционных выбросов, а также для очистки неагрессивных, нетоксичных, невзрывоопасных газов от химически неактивных, сухих нецементирующих пылей.
Волокнистый фильтр ФВГ-П— Для санитарной очистки аспирационного воздуха от аэрозольных растворимых в воде примесей в гальванических производствах машиностроительных предприятий.
Волокнистый фильтр ФВГ-М — Для санитарной очистки аспирационного воздуха от аэрозольных растворимых в воде примесей в гальванических производствах машиностроительных предприятий.
Волокнистый фильтр ФВЦ—180 — Для очистки воздуха или неагрессивных газов от масляного тумана, выбрасываемого вакуумными насосами в атмосферу.
Фильтры ротационные масляные вертикальные — Для отсоса и очистки воздуха от масляного тумана, выделяющегося при работе металлообрабатывающих станков с применением минеральных масел в качестве смазочно-охлаждающих жидкостей.
Агрегат АВЦР-2000 — Для отсоса и очистки воздуха от масляного тумана в цехах, оснащенных металлообрабатывающим оборудованием, работающим с применением смазочно-охлаждающих жидкостей на основе нефтяных минеральных масел.
Скруббер с шаровой насадкой СДК — Для очистки газов от фтористого водорода, тетрафторида кремния, фосфорного ангидрида на предприятиях по производству минеральных удобрений. Для очистки газов в цветной металлургии, энергетике, химической и других отраслях промышленности.
Скруббер центробежный вертикальный полый СЦВП — Для очистки воздуха, удаляемого вытяжными вентиляционными системами, от пыли средней дисперсности.
Скруббер полый СП — Для очистки технологических и вентиляционных выбросов от пыли и газообразных соединений фтора, хлора, сернистого ангидрида.
Скруббер полый СПК-Б — Для очистки технологических и вентиляционных выбросов производств по переработке сырья биологического происхождения от дурнопахнущих веществ, а также для улавли-
269
вания пыли, газообразных соединений хлора, серы различных производств.
Центробежный скруббер батарейного типа СЦВБ-20 — Для мокрой очистки нетоксичных и невзрывоопасных газов от пыли в различных отраслях машиностроения, например в литейных производствах.
Скруббер Вентури СВ-Кк — Для охлаждения и тонкой очистки нетоксичных и невзрывоопасных газов от частиц пыли, не склонных к образованию отложений.
Труба Вентури ГВПВ — Для установки в системах охлаждения и тонкой очистки запыленных технологических газов в черной и цветной металлургии, химической и нефтяной промышленности, промышленности строительных материалов, энергетике и др.
Каплеуловитель КЦТ— Для улавливания капель жидкости с осевшими на них частицами пыли. Устанавливаются в технологической линии за трубами Вентури.
Конъюнктуру спроса и использования пылегазоочистного оборудования в различных отраслях промышленности можно проследить на примере рынка США. Расход (млн дол.) компаний США на защиту атмосферного воздуха в отдельных отраслях промышленности составили:
Теплоэнергетика
Нефтеперерабатывающая
Химическая
Горнодобывающая
Целлюлозно-бумажная
Металлургическая (черная и цветная)
Автомобильная
Машиностроение (общее)
Электротехническое машиностроение
Приборостроение
| 1986 г. | 1988 г |
| 1310 | 808 |
| 459 | 656 |
| 320 | 597 |
| 178 | 57 |
| 161 | 168 |
| 65 | 94 |
| 252 | 31 |
| 69 | 88 |
| 111 | 36 |
| 20 | 36 |
10.2. ЗАЩИТА ГИДРОСФЕРЫ 10.2.1. Состав и расчет выпусков сточных вод в водоемы
Основными источниками загрязнений водоемов являются производственные, бытовые и поверхностные сточные воды.
Производственные сточные воды образуются в результате использования воды в технологических процессах. Типовой состав примесей сточных вод представлен в табл. 10.3. Сточные воды сварочных,
270
монтажных, сборочных, испытательных цехов содержат механические примеси, маслопродукты, кислоты и тому подобные вещества в значительно меньших концентрациях, чем в рассмотренных видах цехов и участков. Наибольшую опасность в машиностроении представляют стоки гальванического производства.
| Таблица | 10.3. Состав сточных вод [3] | |||
| Тип цеха, участ- | Вид сточных | Основные при- | Концентрация | Температура |
| ка | вод | меси | примесей, кг/м3 | сточных вод, °С |
| Металлурги- | От охлажде- | Взвешенные | 0,01 .0,05 | 40...45 |
| ческие | ния печей | вещества | ||
| Масла | 0,01 | |||
| Литейные | От влажной | Мелкодис- | 2. .5 | 65 |
| газоочистки | персная мине- | |||
| ральная пыль | ||||
| От грануля- | Песок, час- | 20...40 | 50 | |
| торов стержне- | тицы шлака | |||
| вых смесей | ||||
| От гидровы- | Песок, ока- | 0.5...15 | 15...20 | |
| бивки отливок | лина, глина | |||
| и регенерации | Органиче- | 0,05 | ||
| смеси | ские вещества | |||
| Кузнечно- | От охлажде- | Взвешенные | 0,1...0,2 | 30...40 |
| прессовые | ния поковок и | вещества мине- | ||
| оборудования | рального про- | |||
| исхождения | ||||
| Окалина | 5.. 8 | |||
| Масла | 10.. 15 | |||
| Механиче- | Отработан- | Взвешенные | 0,2...1 | 15...20 |
| ские | ные смазоч- | вещества | ||
| но-охлаждаю- | Сода | 5...10 | ||
| щие жидкости | Масла | 0Д..З | ||
| Из гидрока- | Органиче- | 0,1. .0,2 | 15...25 | |
| мер окрасоч- | ские раствори- | |||
| ных отделений | тели | |||
| Масла, крас- | 0,1-0,3 | |||
| ки | ||||
| Из отделений | Взвешенные | 0,1...0,2 | 15...20 | |
| гидравличе- | вещества | |||
| ских испыта- | Масла | 0,03. .0,05 | ||
| ний | ||||
| Термические | Промывные | Окалина | 0,02...0,03 | 50...60 |
| растворы | Щелочи | 0,02...0,03 | ||
| Масла | 0,01—0,02 | |||
271
Продолжение табл. ]Qj
| Тип цеха, участ- | Вид сточных | Основные при- | Концентрация | Температура |
| ка | вод | меси | примесей, кг/м3 | сточных вод, °С |
| Из закалоч- | Взвешенные | 0,05.-0,25 | 30...40 | |
| ных ван | вещества мине- | |||
| рального про- | ||||
| исхождения | ||||
| Тяжелые ме- | 0,03.-0,15 | |||
| таллы | ||||
| Масла | 0,001...0,01 | |||
| Цианиды | 0,002...0,05 | |||
| Травильные | Промывные | Механиче- | 0,4 | 15-25 |
| воды | ские | |||
| Маслоэмуль- | 0,05-0,1 | |||
| сии | ||||
| Щелочи | 0,02-0,2 | |||
| Кислоты | 0,02...0,25 | |||
| Отработан- | Механиче- | 10. .20 | 15-25 | |
| ные растворы | ские | |||
| Маслоэмуль- | 10 | |||
| сии | ||||
| Щелочи | 20...30 | |||
| Кислоты | 30-50 | |||
| Гальваниче- | Промывные | Хром | 0,005-0,2 | 20-30 |
| ские | воды | Циан | 0,005-0,15 | |
| Отработан- | Тяжелые ме- | 0 10 | 20.. 25 | |
| ные электроли- | таллы | |||
| ты | Кислоты | 0,04-20 | ||
| Щелочи | 0,02-30 | |||
| Масла | 0,02.-0,05 | |||
| Хром | 5...200 | |||
| Циан | 10...100 |
Состав загрязнений сточных вод других видов производств определяется, в основном, исходными материалами и видами технологических процессов, в которых используется вода. Например, сточные воды целлюлозно-бумажных предприятий содержат, в основном, органические вещества, кислоты, щелочи и их соли. Сточные воды нефтеперерабатывающих предприятий характеризуются большим содержанием нефтепродуктов и других видов органических веществ, включая трудноразлагаемые органические составляющие и т. п.
Бытовые сточные воды, образующиеся в раковинах, санитарных узлах, душевых и т. п., содержат крупные примеси (остатки пищи,
272
тряпки, песок, фекалии и т. п.); примеси органического и минерального происхождения в нерастворенном, коллоидном и растворенном состояниях; различные, в том числе болезнетворные бактерии. Концентрация указанных примесей в бытовых сточных водах зависит от степени их разбавления водопроводной водой.
Поверхностные сточные воды образуются в результате смывания дождевыми, снеговыми и поливочными водами загрязнений, имеющихся на поверхности грунтов, на крышах и стенах зданий и т. п. Основными примесями поверхностных сточных вод являются механические частицы (земля, песок, камень, древесные и металлические стружки, пыль, сажа) и нефтепродукты (масла, бензин, керосин, используемые в двигателях транспортных средств).
При выборе схемы станции очистки и технологического оборудования необходимо знать расход сточных вод и концентрацию содержащихся в них примесей, а также допустимый состав сточных вод, сбрасываемых в водоемы. Допустимый состав сточных вод рассчитывают с учетом «Правил охраны поверхностных вод». Эти правила предназначены для предупреждения избыточного загрязнения сточными водами водных объектов. Правила устанавливают нормы на ПДК веществ, состав и свойства воды водоемов.
Расчет допустимой концентрации примесей в сточных водах, сбрасываемых в водоемы, проводят в зависимости от преобладающего вида примесей сточных вод и характеристик водоема.
При преобладающем содержании взвешенных веществ их допустимая концентрация в очищенных сточных водах
со < св + «ПДК,
где св — концентрация взвешенных веществ в воде водоема до сброса в него сточных вод, кг/м3; п — кратность разбавления сточных вод в воде водоема, характеризующая часть расхода воды водоема, участвующую в процессе перемешивания и разбавления сточных вод; ПДК — предельно допустимая концентрация взвешенных веществ в воде водоема, кг/м3.
При преобладающем содержании растворенных веществ допустимая концентрация каждого из них в очищенных сточных водах
с0, < п(ст, - сш) + сш,
где ст — концентрация /-го вещества в воде водоема до сброса в него сточных вод, кг/м3; ст — максимально допустимая концентрация того же вещества в воде водоема с учетом максимальных концентраций и ПДК всех веществ, относящихся к одной группе лимитирующих показателей вредности, кг/м3:
18 Белов 273
Кратность разбавления сточных вод в воде водоема п = (со - св)/(с - св),
где с0 — концентрация загрязняющих веществ в сбрасываемых сточных водах, кг/м3; свпс — концентрации тех же веществ в воде водоема до и после сброса в них сточных вод, кг/м3.
Для водоемов с направленным течением кратность разбавления
где Qv — объемный расход сточных вод, сбрасываемых в водоем с объемным расходом Qp, м3/ч; т — коэффициент смешения, показы вающий долю расхода воды водоема, участвующей в процессе смеше ния:
т =■
где к = v)/
т /Qp — коэффициент, характеризующий гидравличе
ские условия смешения, м~|/3, ц/ — коэффициент, характеризующии месторасположение выпуска сточных вод (для берегового выпуск< \|/ = 1; для выпуска в сечении русла у = 1,5); ф = L/La — коэффици ент извилистости русла; L — длина русла реки от сечения выпуска дс расчетного створа, м, La — расстояние между этими же параллельны ми сечениями в нормальном направлении, м, DT — коэффициент турбулентной диффузии в водоеме, м2/с; Д. = gHW/MCm (g — ускорение свободного падения, м/с2; И — средняя глубина водоема по длине смешения, м; W — средняя по сечению водоема скорость течения на расстоянии L от места выпуска сточных вод, м/с, Сш = 40.. 44 мО5/с — коэффициент Шези [7.16]; М — функция коэффициента Шези, равная 22,3).
Условия смешения сточных вод с водой озер и водохранилищ существенно отличаются от условий их смешения в реках и каналах Концентрация примесей сточных вод в начальной зоне смешения уменьшается более существенно, однако полное их перемешивание происходит на значительно больших расстояниях от места выпуска, чем в реках и каналах. Расчет разбавления сточных вод в озерах и водохранилищах приведен в [16].
274
Обеспечение безопасности жизнедеятельности человека неразрывно связано с выполнением гигиенических требований к качеству воды централизованных систем питьевого водоснабжения
Существующие санитарные нормы применяют к воде, предназначенной для потребления населением в питьевых и бытовых целях, для использования в процессах переработки продовольственного сырья и производства пищевых продуктов, их хранения и торговли, а также для производства продукции, требующей применения воды питьевого качества.
Качество питьевой воды, подаваемой системой водоснабжения, должно соответствовать требованиям СанПиН 2 1 4 559—96.
Основными параметрами качества питьевой воды являются: запах, привкус, цветность, мутность, рН, общая жесткость, общая минерализация, окисляемость перманганатная, допустимая концентрация взвешенных и растворенных веществ, а также эпидемиологические и радиационные показатели
Для примера в табл 10 4 приведены основные эпидемиологические показатели качества питьевой воды
Таблица 104 Эпидемиологические показатели качества питьевой воды
| Показатели | Единицы измерения | Нормативы |
| Термотолерантные колиформ- | Число бактерий в 100 мл | Отсутствие |
| ные бактерии | ||
| Общие колиформные бактерии | Число бактерий в 100 мл | Отсутствие |
| Общее микробное число | Число образующих колоний | Не более 50 |
| бактерий в 1 мл | ||
| Колифаги | Число бляшкообразующих | Отсутствие |
| единиц (БОЕ) в 100 мл | ||
| Споры сульфитредуцирующих | Число спор в 20 мл | Отсутствие |
| клостридий | ||
| Цисты лямблий | Число цист в 50 л | Отсутствие |
18*
Вышеуказанные Санитарные правила регламентируют также и организацию производственного контроля качества питьевой воды. В соответствии с этими правилами организация, осуществляющая эксплуатацию систем водоснабжения, контролирует качество воды в местах водозабора, перед поступлением в распределительную сеть, а также в точках водозабора наружной и внутренней водопроводной сети275
10.2.2. Средства защиты гидросферы
Рассматриваемые в данном разделе методы и средства защиты гидросферы могут использоваться для очистки всех видов воды: питьевой, технической, а также производственных, бытовых и поверхностных сточных вод. Вид очищаемой воды определяет выбор схемы и конкретного технологического оборудования, используемого для очистки.
Тем не менее для очистки любого вида воды, как правило, первой стадией очистки является механическая, второй — физико-химическая и третьей — биологическая. При этом на многих стадиях физико-химической и биологической очистки воды применяют сооружения вторичной механической очистки (как правило, вторичные отстойники) для выделения из воды нерастворимых примесей, образовавшихся в процессах физико-химической или биологической очистки.
Методы и технологическое оборудование для очистки сточных вод можно выбрать, зная допустимые концентрации примесей в очищенных сточных водах. При этом необходимо иметь в виду, что требуемые эффективность и надежность любого очистного устройства обеспечиваются в определенном диапазоне значений концентрации примесей и расходов сточных вод. С этой целью применяют усреднение концентрации примесей или расхода сточных вод, а в отдельных случаях и по обоим показателям одновременно. Для этого на входе в очистные сооружения устанавливают усреднители, выбор и расчет которых зависит от параметров изменяющихся по времени сбросов сточных вод. Выбор объема усреднителя концентрации примесей сточной воды зависит от коэффициента подавления К — (Апах — сср)/(сд — Сер), где Сщах — максимальная концентрация примесей в сточной воде, кг/м3; сср — средняя концентрация примесей в сточной воде на входе в очистные сооружения, кг/м3; сд — допустимая концентрация примесей в сточной воде, при которой обеспечивается нормальная эксплуатация очистных сооружений, кг/м3.
При кп > 5 объем усреднителя (м3)
V= knAQi3,
где AQ — превышение расхода сточной воды при переменном сбросе, м3/с; т3 — продолжительность переменного сброса, с; kn<5;V~ = А&,/Щкп/(кп - 1)].
После расчета объема усреднителя выбирают необходимое число секций, исходя из условия AQh/V<, Wa, где h — высота секции усреД-276
нителя, м; Wa = 0,0025 м/с — допустимая скорость движения сточной воды в усреднителе.
В соответствии с видами процессов, реализуемых при очистке, целесообразно существующие методы классифицировать на механические, физико-химические и биологические.
Механическая очистка. Для очистки сточных вод от взвешенных веществ используют процеживание, отстаивание, обработку в поле действия центробежных сил и фильтрование.
Процеживание реализуют в решетках и волокноуловителях. В вертикальных или наклонных решетках ширина прозоров обычно составляет 15...20 мм. Для удаления осадка веществ с входной поверхности решеток используют ручную или механическую очистку. Последующая обработка удаленного осадка требует дополнительных затрат и ухудшает санитарно-гигиенические условия в помещении. Эти недостатки устраняются при использовании решеток-дробилок, которые улавливают крупные взвешенные вещества и измельчают их до 10 мм и менее. В настоящее время используют несколько типоразмеров таких решеток, например РД-200 производительностью 60 мэ/ч и диаметром сетчатого барабана 200 мм.
Для выделения волокнистых веществ из сточных вод целлюлозно-бумажных и текстильных предприятий используют волокноуло-вители, например с использованием перфорированных дисков или в виде движущихся сеток с нанесенным на них слоем волокнистой массы.
Отстаивание основано на свободном оседании (всплывании) примесей с плотностью больше (меньше) плотности воды. Процесс отстаивания реализуют в песколовках, отстойниках и жироуловите-лях. Для расчета этих очистных устройств необходимо знать скорость свободного осаждения (всплывания) примесей (м/с):
где g — ускорение свободного падения, м/с2; d4 — средний диаметр частиц, м; рч и рв — плотности частицы и воды, кг/м3; \х — динамическая вязкость воды, Па/с.
Песколовки используют для очистки сточных вод от частиц металла и песка размером более 0,25 мм. В зависимости от направления Движения сточной воды применяют горизонтальные песколовки с Прямолинейным и круговым движением воды, вертикальные и аэрируемые. На рис. 10.15 показана схема горизонтальной песколовки, ее Длина (м):
L = ahJV/W0,
277
Рис 10 15 Схема горизонтальной песколовки
1 — входной патрубок, 2 — корпус песколовки, 3—шламосборник, 4— выходной патрубок
Рис. 10.16 Расчетная схема горизонтального отстойника
где W — скорость движения воды в песколовке, W= 0,15...0,3 м/с; а — коэффициент, учитывающий влияние возможной турбулентности и неравномерности скоростей движения сточной воды в песколовке, а = 1,3...1,7.
Рабочую глубину песколовки h выбирают из условия h/W0< т„р, где тпр — время пребывания воды в песколовке, тпр = 30... 100 с. Ширина песколовки (м)
B=Q/(nhw),
где Q — расход сточной воды, м3/с; я — число секций в песколовке.
Отстойники используют для очистки сточных вод от механических частиц размером более 0,1 мм, а также от частиц нефтепродуктов. В зависимости от направления движения потока сточной воды применяют горизонтальные, радиальные или комбинированные отстойники. При расчете отстойников определяют, как правило, его длину и высоту. Существуют различные методики расчета длины отстойников. На рис. 10.16 представлена расчетная схема горизонтального отстойника. В первой зоне длиной 1Х (м) имеет место неравномерное распределение скоростей по глубине отстойника:
где Н— рабочая высота отстойника, м; h0 = 0,25 Н — высота движущегося слоя сточной воды в начале отстойника, м; Р' = (0,018...0,02) Wx; Wx — горизонтальная составляющая скорости движения воды, м/с.
Во второй зоне длиной /2 (м) скорость потока сточной воды постоянна. В этой зоне основная часть примесей должна осесть (всплыть)в иловую часть (на поверхность) отстойника, поэтому
278
где /z, — максимально возможная высота подъема частицы в первой зоне, м. В третьей зоне длиной /3 (м) скорость потока увеличивается и условия осаждения частиц ухудшаются:
/з = H/tga,
где а — угол сужения потока воды в выходной части отстойника; а = 25...3O0.
Для расчета общей длины отстойника / = k + /2 + h задают расход сточной воды и размеры поперечного сечения отстойника.
Очистку сточных вод в поле действия центробежных сил осуществляют в открытых или напорных гидроциклонах и центрифугах. Открытые гидроциклоны применяют для выделения из сточной воды крупных твердых примесей со скоростью осаждения более 0,02 м/с. Такие гидроциклоны имеют большую производительность и малые потери напора, не превышающие 0,5 м. Эффективность очистки сточных вод от твердых частиц в гидроциклонах зависит от состава примесей (материала, размера, формы частиц и др.), а также от конструктивных и геометрических характеристик гидроциклона.
Открытый гидроциклон (рис .10.17) состоит из входного патрубка /, кольцевого водослива 2, патрубка Зддя отвода очищенной воды и шламоотводящей трубы 4. Существуют открытые гидроциклоны с нижним отводом очищенной воды, а также гидроциклоны с внутренней цилиндрической перегородкой.
Производительность (м /с) открытого гидроциклона Q =
= 0,785qlf, где q — удельный расход воды; для гидроциклона с внут
ренней цилиндрической перегородкой
?= 7,15w0 (w0 — скорость свободного оса- 2
ждения частиц в воде, м/с); D — диаметр /_
Цилиндрической части гидроциклона, м. А—
D
Д
ля проектирования открытых гидро- LJЦиклонов рекомендуются следующие его а? з
геометрические характеристики: D= , \У
*2...Ю м; Н= D; d= 0,lD при одном от- ,:
Третий п d= 0,0707D при двух входных °тверстиях; а = 60°.
Конструктивная схема напорного гид-
^Циклона аналогична схеме циклона для
Чистки газов от твердых частиц. Произво- Рис 10 ]7 Схеш открытого
Стельность напорного гидроциклона гидроциклона
279
где К — коэффициент, зависящий о условий входа воды в гидроциклон, для гидроциклонов с D — 0,125...0,6 м и а = 30° К = 0,524; Ар — перепад давлений воды в гидроциклоне, Па; р — плотность очищаемой сточной воды, кг/м3.
Рис 10 18 Схема координированного гидроциклона
На рис. 10.18 представлена схема напорного гидроциклона, обеспечивающего очистку сточной воды и от твердых частиц, и от маслопродуктов Сточная вода через установленный тангенциально по отношению к корпусу гидроциклона входной трубопровод 1 поступает в гидроциклон. Вследствие закручивания потока сточной воды твердые частицы отбрасываются к стенкам гидроциклона и стекают вшламосборник 7, откуда они периодически удаляются. Сточная вода с содержащимися в ней маслопродуктами движется вверх. При этом вследствие меньшей плотности маслопродуктов они концентрируются в ядре закрученного потока, который поступает в приемную камеру 3, и через трубопровод 5маслопродукты выводятся из гидроциклона для последующей утилизации. Сточная вода, очищенная от твердых частиц и маслопродуктов, скапливается в камере 2, откуда через трубопровод 6 отводится для дальнейшей очистки. Трубопровод 4 с регулируемым проходным сечением предназначен для выпуска воздуха, концентрирующегося в ядре закрученного потока очищаемой сточной воды.
Такие гидроциклоны используют для очистки сточных вод прокатных цехов с концентрацией твердых частиц и маслопродуктов соответственно 0,13 .0,16 и 0,01...0,015 кг/м3 и эффективностью их очистки около 0,7 и 0,5. При расходе очищаемой сточной воды 5 м3/ч п6' репад давлений в гидроциклоне составляет 0,1 МПа.
Фильтрование применяют для очистки сточных вод от тонкодисперсных примесей с малой их концентрацией. Его используют как на начальной стадии очистки сточных вод, так и после некоторых методов физико-химической или биологической очистки. Для очистки сточных вод фильтрованием применяют в основном два типа фильтров: зернистые, в которых очищаемую сточную воду пропускают чб'
280
рез насадки несвязанных пористых материалов, и микрофильтры, фильтроэлементы которых изготовляют из связанных пористых материалов (сеток, натуральных и синтетических тканей, спеченных металлических порошков и т. п.).
9
10 19 Схема зернистого фильтра
Рис
Для очистки больших расходов сточных вод от мелкодисперсных твердых примесей применяют зернистые фильтры (рис. 10.19). Сточная вода по трубопроводу 4 поступает в корпус / фильтра и проходит через фильтровальную загрузку 3 изчастиц мраморной крошки, шунгизита и т. п., расположенную между пористыми перегородками 2 и 5. Очищенная от твердых частиц сточная вода скапливается в объеме, ограниченном пористой перегородкой 5, и выводится из фильтра через трубопровод 8. По мере осаждения твердых частиц в фильтровальном материале перепад давлений на фильтре увеличивается и при достижении предельного значения перекрывается входной трубопровод 4 и по трубопроводу 9 подается сжатый воздух. Он вытесняет из фильтровального слоя .?воду и твердые частицы в желоб 6, которые затем по трубопроводу /выводятся из фильтра. Достоинством конструкции фильтра является развитая поверхность фильтрования, а также простота конструкции и высокая эффективность.
В настоящее время для очистки сточных вод от маслопродуктов широко используют фильтры с фильтровальным материалом из частиц пенополиуретана. Пенополиуретановые частицы, обладая большой маслопоглощающей способностью, обеспечивают эффективность очистки до 0,97...0,99 при скорости фильтрования до 0,01 м/с. При этом насадка из пенополиуретана легко регенерируется при механическом выжимании маслопродуктов.
На рис. 10.20 представлена схема фильтра-сепаратора с фильтровальной загрузкой из частиц пенополиуретана, предназначенного Для очистки сточных вод от маслопродуктов и твердых частиц. Сточную воду по трубопроводу 5 подают на нижнюю опорную решетку 4. Затем вода проходит через фильтровальную загрузку в роторе 2, верхнюю решетку 4и очищенная от примесей переливается в приемный Кольцевой карман 6 и выводится из корпуса /. При концентрации Маслопродуктов и твердых частиц до 0,1 кг/м3 эффективность очист-^ составляет соответственно 0,92 и 0,9; а время непрерывной экс-
281
Рис. 10.20. Схема фильтра-сепаратора
плуатации фильтра —16...24 ч. Достоинствами данной конструкции являются простота и большая эффективность регенерации фильтра. При включении электродвигателя 7 вращается ротор 2 с фильтровальной загрузкой. В результате частицы пенополиуретана под действием центробежных сил отбрасываются к внутренним стенкам ротора, выжимая из него маслопродукты, которые поступают в карманы 3 и направляются на регенерацию. Время полной регенерации фильтра 0,1ч.Физико-химические методы очистки. Данные методы используют для очистки от растворенных при месей, а в некоторых случаях и от взвешенных веществ. Многие методы физико-химической очистки требуют предварительного глубокого выделения из сточной воды взвешенных веществ, для чего широко используют процесс коагуляции.
В настоящее время в связи с использованием оборотных систем водоснабжения существенно увеличивается применение физико-химических методов очистки сточных вод, основными из которых являются флотация, экстракция, нейтрализация, сорбция, ионообменная и электрохимическая очистка, гиперфильтрация, эвапорация, выпаривание, испарение и кристаллизация.
Флотация предназначена для интенсификации процесса всплы-вания маслопродуктов при обволакивании их частиц пузырьками газа, подаваемого в сточную воду. В основе этого процесса имеет место молекулярное слипание частиц масла и пузырьков тонкодис-пергированного в воде газа. Образование агрегатов «частица — пузырьки газа» зависит от интенсивности их столкновения друг с другом, химического взаимодействия содержащихся в воде веществ, избыточного давления газа в сточной воде и т. п.
В зависимости от способа образования пузырьков газа различают следующие виды флотации: напорную, пневматическую, пенную, химическую, вибрационную, биологическую, электрофлотацию и ДР-В настоящее время на станциях очистки широко используют электрофлотацию, так как протекающие при этом электрохимические процессы обеспечивают дополнительное обеззараживание сточных вод. Кроме того, применение для электрофлотации алюминиевых или стальных электродов обусловливает переход ионов алюми-
282
ния или железа в раствор, что способствует коагулированию мельчайших частиц механических примесей сточной воды.
Образование дисперсной газовой фазы в процессе электрофлотации происходит вследствие электролиза воды. Основной составляющей электролизных газов является водород; при этом выделяется незначительное количество кислорода, хлора, оксидов углерода и азота.
При расчете электрофлотатора определяют расход газа, необходимого для обеспечения заданной эффективности очистки, qT = = 100Q(cq — ск)6М, где с0 и ск — концентрации маслопродуктов в исходной очищенной сточной воде, кг/м3; М—удельная адсорбция маслопродуктов газовой фазой, л/кг. Затем находят силу тока для получения требуемого количества электролизного газа /= qr/ar, где <хг — выход газа по току; аг = 0,0076 дм3/(л • мин).
Расход водорода (дм3/мин) в смеси электролизного газа
qHl = 22,4дган/(агМн2),
где ан — электрохимический эквивалент водорода, ан = 0,627 мгДАмин); Мн — молекулярная масса водорода.
Задают расход воздуха, подаваемого под границу раздела «сточная вода — воздух рабочей зоны» в камере флотации, исходя из соотношения qB > 50qu2, и определяют суммарный расход газовоздуцкой смеси, выходящей через открытую поверхность флотатора qCM — = qr + qB. Выбирают удельный расход газовоздушной смеси через поверхность пенообразования ш = 300...600 дм3/(м3- мин) и определяют площадь поверхности пенообразования /= qCM/(o.
Определяют объемную плотность тока (А/м3), обеспечивающую необходимую величину газонаполнения./= (ср + 0,261 Кф + 0,1)/(0,022 — — 0,011Кф), где ф — степень газонаполнения сточной воды в процессе флотации; <р = 1...5 дм3/м3; Кф = 0,3...1,2 — коэффициент формы флотационной камеры.
Находят объем и площадь поперечного сечения флотационной камеры V—I/j; F=(K$ \Jvf и затем ее основные размеры.
Экстракция сточных вод основана на перераспределении примесей сточных вод в смеси двух взаимно нерастворимых жидкостей (сточной воды и экстрагента). Количественно интенсивность перераспределения оценивается коэффициентом экстракции Кэ = сэ/св, где сэ и св — концентрации примеси в экстрагенте и сточной воде по окончании процесса экстракции. В частности, при очистке сточных вод от фенола с использованием в качестве экстрагента бензола или бутилацетата Кэ составляет соответственно 2,4 и 8... 12. Для интенсификации процесса экстракции перемешивание смеси сточных вод с
283
экстрагентом осуществляют в экстракционных колоннах, заполненных насадками из колец Рашига.
Нейтрализация сточных вод предназначена для выделения из них кислот, щелочей, а также солей металлов на основе кислот и щелочей Процесс нейтрализации основан на объединении ионов водорода и гидроксильной группы в молекулу воды, в результате чего сточная вода приобретает значение рН » 6,7 (нейтральная среда). Нейтрализацию кислот и их солей осуществляют щелочами или солями сильных щелочей: едким натром, едким кали, известью, известняком, доломитом, мрамором, мелом, магнезитом, содой, отходами-щелочей и т. п. Наиболее дешевым и доступным реагентом для нейтрализации кислых сточных вод является гидроокись кальция (гашеная известь) Для нейтрализации сточных вод с содержанием щелочей и их солей (сточные воды целлюлозно-бумажных и текстильных заводов) можно использовать серную, соляную, азотную, фосфорную и другие кисло-ты.Теоретический расход щелочей (кислот) для нейтрализации содержащихся в сточных водах кислот (щелочей) определяют в соответствии с уравнениями реакций нейтрализации по формуле q = сМэ/Мк, где с — концентрация кислоты (щелочи) или их солей в сточной воде; Мэи Мк — молекулярные массы щелочи (кислоты) и кислоты (щелочи) или их солей
На практике используют три способа нейтрализации сточных вод
-
фильтрационный — путем фильтрования сточной воды через
насадки кусковых или зернистых материалов; -
водно-реагентный — добавлением в сточную воду реагента в
виде раствора или сухого вещества (извести, соды или шлака); ней
трализующим раствором может быть и щелочная сточная вода, -
полусухой — перемешивание высококонцентрированных
сточных вод (например, отработанного гальванического раствора) с
сухим реагентом (известью, шлаком) с последующим образованием
нейтральной тестообразной массы.
Сорбцию применяют для очистки сточных вод от растворимых примесей. В качестве сорбентов используют любые мелкодисперсные материалы (золу, торф, опилки, шлаки, глину); наиболее эффективный сорбент — активированный уголь. Расход сорбента т = = Q(cq — ск)/а, где Q — расход сточной воды, м3/с; с0 и ск — концентрации примесей в исходной и очищенной сточной воде, кг/м; а — удельная сорбция, характеризующая количество примесей, поглощаемых единицей массы сорбента, кг/с.
Ионообменную очистку применяют для обессоливания и очистки сточных вод от ионов металлов и других примесей. Очистку осуществляют ионитами — синтетическими ионообменными смолами, изго-
284
товленными в виде гранул размером 0,2...2 мм. Иониты изготовляют из нерастворимых в воде полимерных веществ, имеющих на своей поверхности подвижный ион (катион или анион), который при определенных условиях вступает в реакцию обмена с ионами того же знака, содержащимися в сточной воде.
Различают сильно- и слабокислотные катеониты (в Н+- или Na+-форме) и сильно- и слабоосновные аниониты (в ОН"- или солевой форме), а также иониты смешанного действия.
Ионообменную очистку реализуют последовательным фильтрованием сточной воды через катиониты и аниониты. При контакте сточной воды с катионитом в водородной форме имеет место обмен катионов растворенных в воде солей на Н+-ионы катионита в соответствии с уравнением реакции
л[К]Н + Ме"+ «* [К]„Ме + иН+
где К — «скелет» (радикал) катионита; Me — извлекаемый из сточной воды катион металла; п — заряд катиона. При этом имеет место увеличение кислотности сточной воды.
При контакте сточной воды с анионитом в гидроксильной форме происходит обмен анионов кислот на ОН~-ионы анионита в соответствии с уравнением реакции
т[А„]ОН + А""^± [Ап]Л
где А„ — «скелет» (радикал) анионита; А — извлекаемый из сточной воды анион; т — заряд аниона.
В зависимости от вида и концентрации примесей в сточной воде, требуемой эффективности очистки используют различные схемы ионообменных установок. Для очистки сточных вод от анионов сильных кислот применяют технологическую схему одноступенчатого Н-катионирования и ОН-анионирования с использованием сильнокислотного катионита и слабоосновного анионита (рис. 10.21, а). Для более глубокой очистки сточных вод, в том числе от солей, применяют одно- или двухступенчатое Н-катионирование на сильнокислотном катионите с последующим двухступенчатым ОН-анионировани-ем на слабо-, а затем на сильноосновном анионите (рис. 10.21,6).
При содержании в сточной воде большого количества диоксида углерода и его солей происходит быстрое истощение емкости сильноосновного анионита. Для уменьшения истощения сточную воду после катионитового фильтра дегазируют в специальных дегазаторах с насадкой из колец Рашига или в других аппаратах (рис. 10.21, в).
При необходимости обеспечивать значение рН « 6,7 и очистки сточной воды от анионов слабых кислот вместо анионитовых фильт-
285
Рис. 10.21. Технологическая схема
ионообменной очистки сточных
вод:
а — одноступенчатая очистка, б — очистка с двуступенчатым анионированием; в — очистка с промежуточной дегазацией и двуступенчатым анионированием, К— катио-нитовый фильтр; А — анионитовый фильтр, Д — декарбонизатор, ПБ — промежуточный бак
ров второй ступени используют фильтр смешанного действия, загружаемый смесью сильнокислотного катионита и сильноосновного анионита.
Электрохимическая очистка, в частности электрохимическое окисление, осуществляется электролизом и реализуется двумя путями: окислением веществ путем передачи электронов непосредственно на поверхности анода или через вещество — переносчика, а также в результате взаимодействия с сильными окислителями, образовавшимися в процессе электролиза.
Наличие в сточной воде достаточного количества хлоридионов обусловливает появление в ней при электролизе активного хлора (С12, НОС1, С12О, С1СГ, СЮ3), который является сильнейшим окислителем и способен вызывать глубокую деструкцию многих органических веществ, содержащихся в сточных водах.
Электрохимическое окисление применяют для очистки сточных вод гальванических процессов, содержащих простые цианиды (КСС1, NaCCl) или комплексные цианиды цинка, меди, железа и других металлов. Электрохимическое окисление осуществляют в электролизерах (обычно прямоугольной формы) непрерывного или периодического действия. На аноде происходит окисление цианидов в малотоксичные и нетоксичные продукты (цианаты, карбонаты, диоксид углерода, азот), а на катоде — разряд ионов водорода с образованием газообразного водорода и разряд ионов меди, цинка, кадмия, образующихся при диссоциации комплексных анионов с содержанием CN-группы.
На рис. 10.22 показана технологическая схема установки для электрохимического окисления сточных вод. В ее состав входят сборный резервуар 1, бак 2 для приготовления концентрированного раствора NaCl, электролизер Зс источником постоянного напряжения 7. Очи-
286
Р
ис. 10.22. Технологическая схема установки электрохимического окисления циансодержащих сточных вод
щенная от цианидов сточная вода выходит по трубопроводу 4, а при необходимости ее доочистки по трубопроводу 5 вновь направляется в сборный резервуар 7. Для интенсификации процесса окисления в электролизер 3 по трубопроводу 6 подают сжатый воздух.
Гиперфильтрация (обратный осмос) реализуется разделением растворов путем фильтрования их через мембраны, поры которых размером около 1 нм пропускают молекулы воды, задерживая гидратиро-ванные ионы солей или молекулы недиссоциированных соединений. По сравнению с другими методами очистки гиперфильтрация требует малых энергозатрат: установки для очистки конструктивно просты и компактны, легко автоматизируются; фильтрат имеет высокую степень чистоты и может быть использован в оборотных системах водоснабжения, а сконцентрированные примеси сточных вод легко утилизируются или уничтожаются.
Перенос воды и растворенного вещества через мембрану оценивается уравнениями: Q = кх{рр - Ар); F= k2Ac, где Q — расход воды через мембрану, м3/с; ки к2 — коэффициенты проницаемости соответственно воды и растворенного вещества через конкретную мембрану; рр — рабочее давление на входе в мембрану, Па; Ар — разность осмотических давлений раствора на входе в мембрану, Па; Ас — разность концентраций растворенного в воде вещества на входе в мембрану и выходе из нее, кг/мЗ; F— масса растворенного вещества, переносимого через мембрану, кг.
Для гиперфильтрации используют ацетатцеллюлозные, полиамидные и тому подобные полимерные мембраны с ресурсом работы
287
Рис. 10.23. Технологическая схема эвапорацион-ной установки:
1 — трубопровод подачи исходной сточной воды, 2 — теплообменник, 3 — эвапорационная колонна, 4 — трубопровод загрязненного пара, 5 — трубопровод подачи растворителя 6 — колонна с насадками из колец Рашига для очистки огра-ботанного пара, 7— вентилятор, 8 — трубопровод повторно используемого очищенного пара; 9 — трубопровод отвода загрязненного летучими примесями растворителя; 10 — тру. бопровод отвода очищенной сточной воды, 11 — трубопровод подачи свежего пара
1...2 г. Селективность мембран по отношению к ионам различных ве 3+ 2+ 2+ 2+
g2+
>
3+ > Zn2+
ществ характеризуется следующим рядом: А1
а2+ > Ва2+ > SO2~ + +
Са2+ > Ва2+ > SO42~ > Na+ >F~ >K+ > СГ > ВГ > Г > NCT3 > Н+.
Эвапорация реализуется обработкой паром сточной воды с содержанием летучих органических веществ, которые переходят в паровую фазу и вместе с паром удаляются из сточной воды. Процесс эвапора-ции осуществляют в испарительных установках (рис. 10.23), в которых при протекании через эвапорационную колонну с насадками из колец Рашига навстречу потоку острого пара сточная вода нагревается до температуры 100°С. При этом содержащиеся в сточной воде летучие примеси переходят в паровую фазу и распределяются между двумя фазами (паром и водой) в соответствии с уравнением cjcb = у, где с„ и св — концентрации примеси в паре и сточной воде, кг/м ; Y — коэффициент распределения. Для аммиака, этиламина, диэтила-мина, анилина и фенола, содержащихся в сточной воде, коэффициент распределения соответственно равен 13, 20, 43; 5,5 и 2.
Концентрация примеси в сточной воде на выходе из эвапораци-онной колонны
- l)/(qye" - 1),
где с0 — концентрация примеси в исходной сточной воде, кг/м3; q — удельный расход пара, кг/кг; х = [р<т#(?у - \)]/(Ь<ц), здесь Ьщ — эмпирическая постоянная насадки; Ъ — плотность орошения колонны водой, м3/м2; р — эмпирическая постоянная, м/с; ст — удельная площадь поверхности насадки, м3/м2; Я— высота слоя насадки, м.
Выпаривание, испарение и кристаллизацию используют для очистки небольших объемов сточной воды с большим содержанием летучих веществ.
Биологическая очистка. Ее применяют для выделения тонкодисперсных и растворенных органических веществ. Она основана на способности микроорганизмов использовать для питания содержа"
288
щиеся в сточных водах органические вещества (кислоты, спирты, белки, углеводы и т. п.). Процесс реализуется в две стадии, протекающие одновременно, но с различной скоростью: адсорбция из сточных род тонкодисперсных и растворенных примесей органических веществ и разрушение адсорбированных веществ внутри клетки микроорганизмов при протекающих в них биохимических процессах (окислении или восстановлении). Обе стадии реализуются как в аэробных, так и в анаэробных условиях в зависимости от видов и свойств микроорганизмов. Биологическую очистку осуществляют в природных и искусственных условиях.
Сточные воды в природных условиях очищают на полях фильтрации, полях орошения и в биологических прудах [7.5]. Очистку и бытовых, и производственных сточных вод на полях фильтрации и полях орошения в настоящее время используют очень редко в связи с малой пропускной способностью единицы площади полей и непостоянством состава производственных сточных вод, а также из-за возможности попадания на поля токсичных для их микрофлоры примесей.
Биологические пруды используют для очистки и доочистки сточных вод суточным расходом не более 6000 м3. Применяют пруды с естественной и искусственной аэрацией.
Биологические фильтры широко используют для очистки и бытовых, и производственных сточных вод. В качестве фильтровального материала для загрузки биофильтров применяют шлак, щебень, керамзит, пластмассу, гравий и т. п. Существуют биофильтры с естественной подачей воздуха; их применяют для очистки сточных вод суточным расходом не более 1000 м\ Для очистки производственных сточных вод больших расходов и сильно концентрированных используют биофильтры с принудительной подачей воздуха (рис. 10.24).
Рис. 10.24. Схема биофильтра с принудительной подачей воздуха:
-трубопровод подачи исходной сточной ы; 2 — водораспределительные устройства, - фильтровальная загрузка; 4 — трубопровод ''ода очищенной сточной воды; 5 — гидравли-еекий затвор; 6— трубопровод подвода сжатого воздуха; 7 — корпус фильтра
Бе
Нормальный ход процесса биологической очистки сточных вод устанавливается после образования на загрузочном материале биофильтра биологической пленки, микроорганизмы которой адаптировались к органическим примесям сточных вод. Период адаптации обычно составляет 2. .4 недели, хотя в отдельных случаях он может достигать нескольких месяцев Для оценки состава сточных вод в процессе биологической очистки используют биологическую потребность воды в кислороде (БПК) — количество кислорода, необходимое для окисления всех органических примесей, содержащихся в единице объема сточной воды.
Объем загрузочного материала V= (La — L,)/M, где Lan L, — БПК исходной и очищенной сточной воды, кг/м3; М — окислительная мощность биофильтра — масса кислорода, которая может быть получена в сутки с единицы объема загрузочного материала биофильтра, кг/(м3 • сут)
Аэротенки, используемые для очистки больших расходов сточных вод, позволяют эффективно регулировать скорость и полноту протекающих в них биохимических процессов, что особенно важно для очистки промышленных сточных вод нестабильного состава. Окислительная мощность аэротенков составляет 0,5... 1,5 кг/м3 в сутки. В зависимости от состава примесей сточных вод и требуемой эффективности очистки применяют аэротенки с дифференцируемой подачей воздуха, аэротенки-смесители с дифференцируемой подачей сточной воды и аэротенки с регенераторами активного ила.
При БПК > 0,5 кг/м3 используют аэротенки с дифференцируемой (сосредоточенной) подачей смеси сточной воды и активного ила в начале сооружения (рис. 10.25). Воздух, интенсифицирующий процесс окисления органических примесей, распределяется равномерно по всей длине аэротенка Диспергирование воздуха в очищаемой сточной воде осуществляют механическими или пневматическими аэраторами Окислительная мощность аэротенков существенным образом зависит от концентрации активного ила в сточной воде. При очи-
290
с производственных сточных вод концентрация ила обычно составляет 2 3 кг/м3 по сухому веществу.
Окситенки обеспечивают более интенсивный процесс окисления органических примесей по сравнению с аэротенками за счет подачи в них технического кислорода и повышения концентрации активного лла Для увеличения коэффициента использования подаваемого в объем сточной воды кислорода реактор окситенка герметизируют. Очищенная от органических примесей сточная вода из реактора поступает в илоотделитель, в котором происходит выделение из нее отработанного ила. При проектировании окситенков необходимо предусматривать мероприятия по обеспечению их пожаровзрывобезо-пасности с учетом вредных и опасных факторов, имеющих место при эксплуатации систем с использованием газообразного кислорода.
10.3. ЗАЩИТА ЗЕМЕЛЬ 10.3.1. Обращение с отходами
Радикальное решение проблемы защиты земель от отходов возможно при разработке новых технологий и малоотходных производств. Для обобщения особенностей малоотходного производства можно выделить ряд взаимосвязанных принципов, лежащих в его основе.
Ключевым в этом ряду является принцип системности (рис. 10.26, а). В соответствии с этим принципом каждый отдельный процесс или производство рассматриваются как элемент более сложной индустриальной системы. Так, например, отходы нефтехимии — шламы, теплоэнергетики — золошлаковая смесь, химической промышленности — отсев извести используются для получения цемента, при этом возникающие отходы используются в промышленности строительных материалов, а отходы последней в сельскохозяйственной отрасли и т. д.
Другой важнейший принцип — принцип комплексности использования сырьевых ресурсов (см. рис. 10.26, б). Практически все используемое сырье многокомпонентно, и в среднем на 1/3'его стоимости составляют сопутствующие элементы. Так, уже в настоящее время практически все серебро, висмут, платину, более 20 % золота и около 30 % серы получают «попутно» при переработке комплексных Руд. Повышение комплексности использования ресурсов, например,
19* 291
2>5>














