ОБЕСПЕЧЕНИЕ ТЕПЛОВОГО РЕЖИМА (559881)
Текст из файла
Гла в а 10 ОБЕСПЕЧЕНИЕ ТЕПЛОВОГО РЕЖИМА
А.С. Гузенберг
Общая задача обеспечения теплового режима в кабинах космических кораблей уюжет быть разделена на две части. Первая состоит в организации отвода тепла ю iатмосферы и от оборудования гермоотсеков промежуточным теплоносителем путем I конвективного, кондуктивного и лучистого переноса тепла. Вторая - в обеспеченга передачи этого тепла путем излучения в окружающее космическое пространство..
Система обеспечения теплового режима представляет собой совокупность различны» I федств и устройств, регулирующих внутренний и внешний теплообмен.
F На начальном этапе развития космических аппаратов, когда продолжительность голетов была незначительной, а внутренние тепловые нагрузки не превышали десят-1 гов ватт, можно было обходиться только системами обеспечения теплового
режима, \ эснованными на применении терморегулирующих покрытий поверхностей ий| геплоизоляции. Увеличение длительности полетов, массы оборудования и выде-* тяемой мощности, повышение требований к поддержанию стабильности теплового [ эежима привели к необходимости применения полупассивных методов - сочетания тассивных методов с методами, использующими расходуемые хладагенты и кон- ( векцию в замкнутых контурах, получившими наибольшее распространение в нас-' гоящее время. При современных условиях тепловых нагрузок, не превышающш 5-10 кВт, отвод тепла происходит на низких температурных уровнях, когда темпе-эатура радиатора-излучателя ниже уровня температуры атмосферы гермокабины Эднако дальнейшее увеличение энерговооруженности космических аппаратов требуя ;лишком больших площадей радиаторов-излучателей, что вынуждает с целью я уменьшения переходить на более высокий температурный уровень. Обеспечение геплового режима перспективных космических аппаратов с тепловой нагрузкой ia систему более 10 кВт с помощью традиционных жидкостных контуров терморегу лирования ведет к значительному увеличению мощности насосов на прокачю теплоносителя, объема внутренней полости системы, а следовательно, массоэнергетя ческих затрат. Перспективным представляется создание высокоэффективных систем обеспечения теплового режима на основе двухфазных контуров, т.е. использование замкнутого испарительно-конденсационного цикла.
Рис. 1. Схема тепловых потоков, действующих на космический аппарат на околоземной орбите [2]
/ - Земля, 2 - космический аппарат на круговой околоземной орбите (с теневой зоной); 3 - теневая зона орбиты; 4 — солнечная орбита
Потоки: gc - солнечного излучения; Qn -собственного излучения Земли; QQ - отраженного от Земли солнечного излучения; <2и - тепловой поток, излучаемый поверхностью косми-
Схема радиационных тепловых потоков, воздействующих на космический аппарат представлена на рис. 1, иерархия построения систем теплового режима на рис. 2.
Рис. 2. Иерархия построения системы обеспечения теплового режима
В данной главе рассмотрены вопросы внешнего и внутреннего теплообмена, раз личные пассивные и активные методы обеспечения теплового режима, схемы подсистем и гидравлических контуров, необходимых для реализации этих методов классификация и выбор систем. Завершается глава примерами использования методов обеспечения теплового режима на разработанных космических объектах и перепек тивами развития этих методов.
Исходные данные, положенные в основу теплового режима экипажа, изложены» гл. 3. Подсистемы и агрегаты внутреннего теплообмена, проанализированные « данной главе, рассматриваются в гл. 15 и 16 по физико-химическим и биологическим системам жизнеобеспечения.
Автор выражает признательность Е.П. Белявскому за оказанную помощь в подю товке материалов данной главы.
ВНЕШНИЙ ТЕПЛООБМЕН
В космическом пространстве основным видом теплообмена космического аппарата (КА) с окружающим пространством является теплообмен излучением. Уравнение, теплового баланса для поверхности аппарата имеет вид
mqdTldt = С А + QoAc + QnE + QB + QK- EbJ\
где m, q,T - масса единицы поверхности, ее теплоемкость и температура coot J ветственно; t — время; Ьо - постоянная Стефана-Больцмана; QK = ЕЬдТ4 - лучистый поток, излучаемый поверхностью КА; Qc, Qo, Qn - лучистые потоки солнечного излучения, отраженный от планеты и собственного излучения планеты соот ветственно; QK - тепловой поток от смежных элементов конструкции; QB - тепло, подведенное от внутренних источников тепловыделения.
Основная составляющая внешнего теплоотвода - солнечное излучение, плотность которого - солнечная постоянная - обратно пропорциональна расстоянию от Солнца ' Отраженное солнечное излучение от Земли не превышает 20% от этой величины, а собственное излучение Земли Qn = О,15 (2с (для околоземных орбит 200-300 км).
Из уравнения видно, что температура поверхности космического аппарата при освещении ее Солнцем зависит (при отсутствии тепловых потоков QB и QK) только от отношения AJE.
На теневых участках орбиты температура поверхности при отсутствии тепловых потоков <2В и QK определяется только коэффициентом Е.
Рис. 3. Зависимость температуры теплопроводной сферы от AJE при удалении от Солнца [4] Орбиты: 1 - Венеры; 2 - Земли; 3 - Марса; 4 -покрытие поверхности белой эмалевой краской; 5 - полированная алюминиевая поверхность
Из рис. 3 видно, что температура тела в космическом пространстве может иметь самые различные значения в зависимости от свойств поверхности и удаления от Солнца. Так, для сферы из полированного алюминия (AJE = 5,2) равновесная температура составляет 150°С (423 К); для той же сферы, покрытой белой эмалевой краской (AJE = 0,19), равновесная температура достигает -89°С (184 К).
Для тел несферической формы эта температура существенно зависит от ориентации тела относительно солнечных лучей из-за разницы величины отношения поглоающей и излучающей поверхностей. Все покрытия условно можно подразделить на четыре группы:
солнечные отражатели (Ас —» О, Е — » 1),
солнечные поглотители (Лс —» 1, Е -» 0),
истинные отражатели (Лс —» 0, Е -» 0),
истинные поглотители (Лс —» 1, Е -» 1).
Принимая различные варианты отношения Лс/£, можно менять внешний теплообмен поверхности космического аппарата. Достижимые в настоящее время величины отношений поглощательных и излучательных свойств покрытий 0,15 < AJE < < 8,0 [2].
Решать проблему обеспечения теплового режима только с помощью покрытий возможно лишь при широком диапазоне колебаний температур и небольших тепловыделениях. Поэтому необходимо использовать целый ряд других методов. Эффективным способом регулирования температуры поверхности космического аппарата является изменение его ориентации в пространстве относительно падающего теплового потока. Однако этот метод может применяться в основном в нештатных ситуациях, так как для выполнения основных задач полета требуется определенная ориентация.
Другим способом регулирования лучистого теплообмена являются подвижные экраны-жалюзи, которыми закрываются участки поверхности с различными радиационными характеристиками в зависимости от температуры поверхности (или циркулирующей по ней жидкости). Возможности жалюзи ограничены радиационными характеристиками покрытий и надежностью механического привода.
Эффективным методом является использование специальных радиационных поверхностей - теплообменников, отделенных (теплоизолированных) от корпуса аппарата. В таких системах внешний теплообмен регулируется за счет изменения тепловых связей между радиационной поверхностью и внутренними объемами. Температура такой поверхности меняется в зависимости от количества излучаемого ею тепла. Радиаторы располагают на поверхностях в местах минимальных внешних тепловых потоков и наносят на них покрытия с максимальной степенью черноты Е и минимальным коэффициентом поглощения солнечной радиации Ас.
Средствами регулирования внешнего теплообмена являются также мероприятия, уменьшающие теплообмен поверхности с окружающим пространством — экранирование или изоляция поверхности с нанесением на экран покрытий с минимальными значениями коэффициентов Ас и Е. При установке нескольких экранов с одинаковой степенью черноты тепловой поток, излучаемый поверхностью в
космическое пространство, уменьшается в N + 1 раз, где N - число экранов. Наиболее эффективной является экранно-вакуумная теплоизоляция - пакет экранов из фольги или металлизированной пленки толщиной в несколько микронов, рифленой или переложенной для уменьшения контактов стеклосеткой. Затраты на единицу термического сопротивления такой изоляции в 5-10 раз меньше, чем в пористых материалов. Следует отметить, что такая теплоизоляция одновременно обеспечивает выравнивание поля температур между освещенными и неосвещенными поверхностями оболочки космического аппарата.
К средствам, регулирующим внешний теплообмен, относят и испарительные блоки, использующие теплоту фазовых превращений веществ для поглощения энергии, выделяющейся в гермокабине космического аппарата или получаемой в результате внешнего теплообмена. Одним из основных рабочих тел для таких блоков является вода как вещество, имеющее максимальную скрытую теплоту испарения, а ее пары сбрасываются в окружающий вакуум [1].
ВНУТРЕННИЙ ТЕПЛООБМЕН
Внутренний теплообмен должен обеспечить отвод тепла от человека и тепловыделяющих приборов и перенос его к радиационным поверхностям, а также перераспределение тепла между элементами космического аппарата. Наиболее простой метод - передача тепла излучением, для чего внутренние поверхности имеют степень черноты Е - 1. В этом случае излучением на 1 К перепада при температуре около 300 К можно передать 5,5 Вт/м2 тепла. При плотной компоновке оборудования этот метод недостаточен, поэтому организуют специальные металлические тепловые мосты для более интенсивной передачи тепла на большие расстояния. Для больших, особенно обитаемых, гермоотсеков необходима организация движения газа для выравнивания температур газа и конструкций - организация вентиляции. Для отвода же тепла от мощных тепловыделяющих источников и поддержания их температуры в заданных пределах используют жидкие теплоносители, циркулирующие в трубопроводах гидравлических контуров. Жидкий теплоноситель циркулирует через теплообменные устройства блоков и агрегатов, выделяющих тепло, либо эти блоки и агрегаты устанавливаются на термостатируемые платы, через которые циркулирует теплоноситель. В качестве теплоносителей используют углеводороды, кремнийорга-нические жидкости, фреоны, водные растворы этиленгликоля, воду и др.
Для передачи на большие расстояния тепла от источников с большой плотностью тепловыделения могут быть использованы тепловые трубы. В тепловых трубах в качестве рабочего тела используют воду, фреоны, аммиак. Плотность передвигаемого теплового потока может достичь десятков ватт на 1 см2 поперечного сечения тепловой трубы.
Отвод тепла из атмосферы отсека может производиться одновременно с отводом выделяемой экипажем влаги одним агрегатом типа теплообменника-конденсатора паров воды, принципиальная схема и работа которого рассмотрены в гл. 9.
КЛАССИФИКАЦИЯ, ВЫБОР И ПРИМЕНЕНИЕ СИСТЕМ ОБЕСПЕЧЕНИЯ ТЕПЛОВОГО РЕЖИМА
Классификация систем приведена на рис. 4. Система обеспечения теплового режима представляет собой совокупность контуров, блоков, оборудования и агрегатов, регулирующих внешний и внутренний теплообмен космического аппарата. Она делится на две подсистемы: пассивного и активного терморегулирования.
Средства пассивного терморегулирования служат для обеспечения необходимых оптических характеристик на поверхностях терморегулируемых элементов и сведения
Ряс. 4. Состав основных агрегатов, узлов и блоков подсистемы обеспечения теплового режима i
к минимуму нерегулируемого теплообмена космического аппарата с окружающим пространством. Подсистема пассивного терморегулирования состоит из элементов, обеспечивающих заданные параметры теплообмена излучением и теплопроводностью терморегулирующих покрытий, экранов, термомостов, тепловой изоляции. Подсистемы активного регулирования служат для удаления в окружающее пространство избыточного тепла от оборудования и экипажа, а также для термостатирования корпусных элементов. Она состоит из воздушного контура с вентиляционными блоками, гидравлического контура с теплообменными агрегатами и элементами регулирования тепловых потоков, активных агрегатов регулирования лучистого теплообмена.
Основными факторами, определяющими выбор системы терморегулирования, являются область полета космического аппарата в космическом пространстве, требования к тепловому режиму, величина внутренних тепловыделений, ориентация и конструктивные особенности самого аппарата.
Внешний теплоподвод к поверхностям космической орбитальной станции в околоземном пространстве определяется прежде всего величиной солнечной постоянной, которая на уровне Земли составляет около 1400 Вт/м2. Вращаясь вокруг Земли, космическая станция периодически попадает в ее тень, когда единственным внешним источником становится собственное излучение Земли. Время пребывания станции в тени Земли для круговых орбит зависит от угла между плоскостью орбиты и направлением на Солнце, высоты орбиты и периода обращения. Из-за вращения Земли вокруг Солнца и прецессии орбиты угол этот периодически изменяется от минимального до максимального, соответственно изменяется время пребывания станции в тени Земли (рис. 1).
Для аппаратов с большой массой и, следовательно, с большой теплоемкостью колебания температуры конструкции, связанные с заходом в тень Земли, невелики. Оценку теплового режима в этом случае можно проводить на равновесной температуре, определенной по средним за виток тепловым потокам. При этом подсистема терморегулирования должна выравнивать температуры по оболочке космического объекта. Для сферической формы объектов на околоземных орбитах при отсутствии внутреннего тепловыделения может быть обеспечен подбор терморегулирующих покрытий с отношением AJE, обеспечивающим температуру 10-40°С (283-303 К), а при постоянном тепловыделении еще меньше.
Если космический аппарат представляет собой форму, отличную от сферической, то, придавая ему вращение относительно оси, расположенной в плоскости, перпендикулярной направлению на Солнце, можно обеспечить относительно равномерное распределение внешних тепловых потоков по его поверхности и приемлемые температуры за счет терморегулирующих покрытий.
Системы терморегулирования, в которых тепловой режим поддерживается на основе терморегулирующих покрытий, широко используются на ИСЗ небольшого размера с незначительным тепловыделением. На рис. 5 приведены данные по Ас и Е терморегулирующих покрытий и материалов на срок полета до 1 года [2]. В тех случаях, когда тепловыделение в корабле меняется в широких пределах или при необходимости обеспечения температуры в узком диапазоне, применяется активное управление внешним теплообменом за счет экранов или жалюзи. Жалюзи использовались на небольших спутниках "Электрон-1", "Электрон-2", на первых пилотируемых кораблях "Восток" и др.
Более предпочтительным, чем жалюзи, с точки зрения надежности является использование подсистем активного терморегулирования с замкнутым жидкостным контуром с изолированными радиационными поверхностями. При сочетании таких подсистем с подсистемами пассивного терморегулирования, использующими экранно-вакуумную тепловую изоляцию поверхности космического аппарата, сводится к минимуму нерегулируемый теплообмен с окружающим пространством. При этом необходимо, чтобы сумма максимального продолжительного внутреннего тепловыделения и максимальной величины нерегулируемых теплопритоков была меньше хладопроизводительности радиационной поверхности, а сумма минимального внутреннего тепловыделения и максимальной величины нерегулируемых тепловых потерь была положительной во избежание переохлаждения аппарата.
Все современные пилотируемые крупные автоматические космические объекты имеют системы терморегулирования с изолированными поверхностями с однофазным гидравлическим контуром подсистемы активного терморегулирования. Как видно из рис. 6, удельная тепловая производительность радиатора зависит от его оптических коэффициентов и быстро снижается с понижением его температуры. Радиатор из полированного металла с низкими излучательными характеристиками (Е = 0,05) при температурах ниже 180°С (453 К) имеет отрицательную производительность: количество поглощаемого им солнечного тепла превышает количество тепла, излучаемого им в космос. Радиатор с белой эмалевой краской (Е = 0,95) имеет значительно большую производительность, однако она снижается до нуля при температуре -70°С (203 К). Чем ниже температурный уровень, на который нужно отводить тепло из космического аппарата, тем большие поверхность и массу должен иметь радиатор [4].
Как уже указывалось, в обитаемых гермокабинах необходимо поддерживать
Рис. 5. Терморегулирующие покрытия и материалы на длительность эксплуатации 1 год [2]
1 - селективное черное покрытие (солнечный поглотитель); 2 — черные краски; 3 -отпескоструенные металлы; 4 - серые и цветные краски; 5 - неполированные металлы; 6 — отполированные металлы; 7 - краски на основе металлов; 8 - диэлектрические пленки на полированных металлах; 9 — белые краски - зеркала и металлизированные полимерные пленки
Рис. 6. Зависимость удельной теплопроводности радиационного теплообменника от его средней температуры [4]
Поверхность теплообменника: 1 - белая эмаль (Е = 0,05); 2 - полированный алюминий (£ = 0,05)
рабочий диапазон температур атмосферы 18-23°С (291-296 К) при относительной влажности 30-70%, температура внешних поверхностей оборудования и агрегатов должна быть не более 40°С (313 К). Наличие влаги в атмосфере обитаемого отсека требует, чтобы температуры всех поверхностей в кабине, включая поверхности корпусных элементов, поверхности агрегатов и оборудования, были выше температуры точки росы во избежание конденсации на них влаги. Поэтому наружные поверхности обитаемых гермоотсеков необходимо обязательно изолировать для сведения к минимуму нерегулируемый теплообмен. Обычно газожидкостные теплообменные агрегаты обитаемых отсеков одновременно конденсируют влагу из атмосферы (см. гл. 9) и скомпонованы в блоки кондиционирования атмосферы.
Обеспечение необходимой вентиляции в гермоотсеках большого объема требует специальной компоновки приборов с созданием гарантированных зазоров между ними, установки специальных воздуховодов с вентиляторами для обеспечения движения газа.
Особые требования предъявляются к теплоносителю подсистемы активного терморегулирования. Прежде всего, для обеспечения теплофизических параметров он должен иметь максимальную удельную теплоемкость, теплопроводность и плотность. Для обеспечения безопасности, особенно в обитаемых гермоотсеках, теплоноситель должен быть нетоксичным и пожаровзрывобезопасным. Наконец, с точки зрения эксплуатационных качеств он должен иметь минимально возможную температуру замерзания, минимальную вязкость, обладать высокими антифрикционными свойствами, не вызывать коррозии материалов, иметь ресурс работы несколько выше. В качестве теплоносителей используются водные растворы этиленгликоля, некоторые фреоны.
Так как температура изолированной радиационной поверхности может быть значительно ниже 233 К, для вывода на нее тепла используют наружный контур с теплоносителем, имеющим температуру замерзания ниже 173 К. Внутренний и
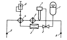
Рис. 7. Принципиальная схема однофазного гидроконтура подсистемы активного терморегулирования космического аппарата
1 - гермоотсек; 2 - теплообменник-конденсатор; 3 - гидронасос внутреннего контура; 4 -жидкостно-жидкостный теплообменник; 5 - гидронасос наружного контура, 6 -радиационный теплообменник; 7 — управляющий датчик температуры; 8 - регулятор расхода хладагента; 9 - холодный теплоноситель; 10 - блок управления; 11 - вентилятор
Рис. 8. Принципиальная схема комбинированного (замкнутого и разомкнутого) гидравлического контура подсистемы [2]
/ - емкость для хранения хладагента; 2 - клапан подачи хладагента; 3 - дозатор хладагента; 4 - испарительный теплообменник; 5 - радиационный теплообменник, 6 -клапан постоянного перепада давления; 7 - блок регулирования температуры, 8,9 -магистрали внутреннего контура
внешний контуры обмениваются теплом через специальный жидкостно-жидкостный теплообменник (ЖЖТ). Схема гидравлического однофазного контура и подсистемы активного терморегулирования представлена на рис. 7. Тепло из отсека через внутренние теплообменники (в том числе теплообменники-осушители) передается теплоносителю, циркулирующему по внутреннему контуру с помощью гидронасоса, а затем через теплообменник передается теплоносителю внешнего контура, имеющему более низкую температуру. Нагретый теплоноситель из теплообменника подается отдельным гидронасосом на радиатор, излучающий тепло в космическое пространство. Регулирование температуры теплоносителя на входе во внутренние теплообменники осуществляется по датчику температуры, выдающему сигнал на регулятор расхода теплоносителя. При температуре ниже нормы регулятор расхода уменьшаетрасход теплоносителя через радиатор, уменьшая вынос тепла из внутреннего контура
[4].
Принцип отвода тепловой энергии за счет скрытой теплоты фазового превращения жидкого хладагента с последующим удалением паров в окружающую среду используется в разомкнутых гидравлических контурах подсистем терморегулирования. Такие контуры с изменением агрегатного состояния вещества имеют высокие эксплуатационные характеристики, обеспечивая большой теплосъем с заданного участка поверхности. Эти контуры могут эффективно применяться только для непродолжительных полетов или операции на борту корабля из-за необходимости больших запасов хладагентов. Такой контур использован в качестве резервного на корабле "Восток". Используется также в индивидуальной системе обеспечения жизнедеятельности в выходных скафандрах. Разомкнутые контуры подсистемы активного терморегулирования можно применять вместе с однофазным замкнутым, когда основной отвод тепла осуществляется радиационным теплообменником, а пиковые нагрузки снижаются путем изменения агрегатного состояния хладагента и сброса массы. Принципиальная схема контура такой комбинированной подсистемы представлена на рис. 8 [2].
В межпланетном пространстве интенсивность солнечного теплового потока меняется обратно пропорционально квадрату расстояния от Солнца. Соответственно температура поверхности, получающей только солнечную энергию, меняется обратно пропорционально корню квадратному из отношений расстояний от Солнца (см. рис. 3). Космические аппараты, летящие к Марсу или Венере, в качестве источников тока будут использовать солнечные батареи, постоянно ориентированные на Солнце, поэтому распределение внешних тепловых потоков на их поверхности постоянно, что упрощает регулирование теплового режима.
Постоянная ориентация на Солнце позволяет размещать радиационные поверхности так, чтобы на них не падали потоки солнечной радиации, а поверхности, освещенные Солнцем, защищать изоляцией. Для космических объектов, движущихся к орбитам дальних планет Солнечной системы, уже при достижении орбиты Юпитера солнечный тепловой поток настолько мал, что для стабилизации температуры необходимо использовать специальные источники тепла (например, изотопные).
Тепловой режим агрегатов, находящихся снаружи космического аппарата, определяется суммой тепловых потоков, ориентацией агрегата и радиационными характеристиками его поверхности. Так как теплоемкость этих агрегатов обычно мала, их температура значительно изменяется при заходе аппаратов в тень Земли. Они могут также затеняться другими частями конструкции. На высотах не более 500 км над поверхностью Земли температура внешних агрегатов не опускается ниже -120°С (153 К) при любой ориентации аппарата, из-за того что практически на всю его поверхность поступает поток собственного излучения Земли. Для обеспечения узкого диапазона температур внешних агрегатов на их поверхность наносятся термо-регулирующие покрытия, обеспечивающие заданные температуры при максимальных внешних тепловых потоках, и устанавливаются нагреватели для обеспечения минимальных температур [1].
Расчет теплового режима космического аппарата и его агрегатов представляет сложную задачу, решаемую с применением современной вычислительной техники. Это расчет баланса внешних и внутренних тепловых потоков, расчет контуров подсистем -вентиляционного и гидравлического, расчет тепловлажностного режима атмосферы гермообъемов, расчет температуры поверхности аппарата, его теплообменников-радиаторов, экранно-вакуумной изоляции, расчет обеспечения теплового режима агрегатов внутри и вне гермоотсеков корабля и т.д. Расчету теплового режима посвящены специальные работы [2,6].
Рис. 9. Принципиальная схема СОТР космического корабля "Союз" [1]
1 - экранно-вакуумная теплоизоляция; 2 - двигатели ориентации; 3 - радиационные
поверхности; 4 - контур жилых отсеков; 5 - насос контура жилых отсеков; 6 - жидкостно-
жидкостный теплообменник; 7, 14 - датчики температуры; 8 - теплозащитная обмазка
спускаемого аппарата; 9 — теплообменник-конденсатор; 10 - комфортный вентилятор; 11 -
насос контура наружных радиаторов; 12 - контур наружных радиаторов; 13 - регулятор
расхода жидкости; /5 - газожидкостный теплообменник; 76 — змеевик агрегатного отсека;
17 — подвижная крышка сопла двигателя; АО - агрегатный отсек; БО - бытовой отсек; ПО -
приборный отсек; СА - спускаемый аппарат 8,
Реальные схемы систем обеспечения теплового режима отличаются большой сложностью и содержат, как правило, несколько внутренних и внешних гидравлических контуров из-за значительного разброса требований к тепловому режиму различных систем, оборудования КА и его экипажа.
Для примера на рис. 9 представлена схема системы обеспечения теплового режима космического корабля "Союз" [1]. Она состоит из подсистемы пассивного терморегулирования с экранно-вакуумной изоляцией и подсистемой активного терморегулирования с изолированными радиационными поверхностями и с однофазным замкнутым жидкостным контуром. Тепло из спускаемого аппарата и бытового отсека, выделяемое агрегатами и экипажем, через теплообменники-конденсаторы поступает в однофазный жидкостный контур жилых отсеков, трубопровод которого обогревает элементы двигателей ориентации. Контур жилых отсеков через жидкостно-жидкостный теплообменник связан с контуром наружных радиаторов, которому отдается тепло, полученное из спускаемого аппарата и бытового отсека. Контур наружных радиаторов забирает также тепло из приборного отсека, обогревает корпус негерметичного отсека и регулирует сброс тепла в окружающее пространство через изолированные радиационные поверхности. Количество тепла, передаваемого радиационной поверхности, изменяется регулятором расхода, перепускающим жидкость внутренней магистрали наружных радиаторов на радиационную поверхность и поддерживающим температуру жидкости на входе в жидкостно-жидкостный теплообменник в пределах 5-9°С (278-282 К), что обеспечивает температуру теплоносителя перед теплообменниками-конденсаторами в пределах 7—12°С (280-285 К).
Температура газа в обитаемых гермообъектах регулируется расходом газа через теплообменную решетку в теплообменнике-конденсаторе, вентиляторы которого одновременно обеспечивают циркуляцию газа по объемам отсеков. Кроме этого, в жилой зоне установлены комфортные вентиляторы, включаемые экипажем при необходимости. Поверхности отсеков для уменьшения нерегулируемого теплообмена с окружающим пространством закрыты экранно-вакуумной изоляцией. Поверхность спускаемого аппарата имеет теплозащиту, предохраняющую его от аэродинамического нагрева при торможении в атмосфере Земли во время спуска, при этом
тепловой режим его внутренних элементов обеспечивается за счет их теплоемкости.
Достаточно сложной является система терморегуляции на станции "Скайлэб". К ее основным средствам относятся подсистемы пассивного терморегулирования, охлаждающие гидравлические контуры подсистемы активного регулирования шлюзового модуля, водяные контуры охлаждения скафандров, водяные контуры охлаждения научной аппаратуры, подключенные к охлаждающему контуру спускового модуля через промежуточные теплообменники, агрегаты регулирования температуры газа внутри станции, автономный охлаждающий контур бытовых холодильников, локальные поверхностные нагреватели. Система должна обеспечить в пилотируемом полете станции температуру газа в комфортных пределах: 19,3-23,1°С (292,6-296,4 К). Помимо указанного в состав подсистемы активного терморегулирования, входят двухфазные гидравлические агрегаты замкнутого типа - тепловые трубы, которые были установлены с целью локального подогрева для исключения конденсации влаги в определенных местах жилой зоны [7-9].
Тепловые трубы — устройства в виде замкнутого объема, имеющего внутри капиллярно-пористую структуру и заполненного рабочим телом в двухфазном состоянии. Часть рабочего тела, занимающего объем, находится в паровой фазе, часть - в жидкой, заполняющей капиллярно-пористую структуру. В зоне повышенной температуры рабочее тело испаряется, в зоне пониженной — конденсируется. За счет разности давлений пар из зоны испарения перемещается в зону конденсации. Использование изменения агрегатного состояния в тепловых трубах обеспечивает их высокую тепловую эффективность.
Системы терморегулирования существующих пилотируемых космических аппаратов и большинства беспилотных представляют собой сочетание подсистем активного и пассивного терморегулирования с однофазным замкнутым гидравлическим контуром (в качестве двухфазного контура используются только тепловые трубы).
Требуемый ресурс и надежность таких систем обеспечиваются дублированием гидравлических контуров подсистемы активного терморегулирования. Следует отметить, что надежность радиационных теплообменников (их защищенность от разгерметизации, например от метеоритного пробоя) может быть значительно повышена за счет использования тепловых труб. На орбитальном комплексе "Мир", помимо однофазных гидравлических контуров, применяются тепловые трубы, использующиеся в конструкции панелей радиатора.
ПЕРСПЕКТИВЫ РАЗВИТИЯ СИСТЕМ ТЕРМОРЕГУЛИРОВАНИЯ
Для космических аппаратов, имеющих тепловую нагрузку на систему терморегулирования до 10-15 кВт, целесообразно применение подсистем активного терморегулирования, в гидравлических контурах которых теплота фазового превращения теплоносителя не используется. Однако при дальнейшем возрастании тепловой нагрузки увеличение массовых, энергетических и объемных затрат на систему, связанное с возрастанием требуемых расходов одноразового теплоносителя в ее гидравлических контурах, настолько возрастает, что использование теплоты фазового превращения теплоносителя становится просто необходимым. Создание двухфазных подсистем для таких тепловых нагрузок стало первоочередной задачей.
Для обеспечения необходимого ресурса длительно действующих систем необходимо прежде всего избавиться от агрегатов с движущимися частями - электронасосов. Перспективным является применение электрогидравлических насосов, ресурс которых определяется только ресурсом электрорадиоизделий. Принцип действия последних основан на взаимодействии униполярно заряженной диэлектрической жидкости с электрическим полем, создаваемым в системе электродов различной кривизны. Насосы эти бесшумны, так как не имеют движущихся частей; производительность их легко регулируется путем изменения напряжения питания. Ресурс же теплообменника-конденсатора, как указывалось, может быть обеспечен за счет использования в их конструкции тепловых труб с регулируемой производительностью.
Перспективным для создания агрегатов-теплообменников, испарителей, конденсаторов является применение термоплат с анизотропными пористыми структурами. Главной особенностью построения двухфазных подсистем активного терморегулирования является работа по замкнутому испарительно-конденсационному циклу, в котором подвод тепла от тепловой нагрузки к рабочему телу и парообразование осуществляются в испарителях, а передача тепла к радиационному теплообменнику - в конденсаторах. Транспорт пара от испарителя к конденсатору осуществляется за счет разности температур источника и сбора тепла, а возврат жидкости - за счет работы электронасоса или капиллярных сил. Использование высоких коэффициентов теплоотдачи и теплоты фазового перехода позволяет иметь малые перепады температуры и массовые расходы рабочей жидкости по контуру. За счет этих преимуществ можно добиться снижения массы подсистемы на 25-50%, а энергопотребления - в несколько десятков раз по сравнению с однофазной подсистемой.
Такого типа подсистемы можно классифицировать по принципу поддержания температуры тепловых нагрузок и подачи жидкости на испарение. Вариант схемы, при которой температура испарителей, связанных с тепловой нагрузкой, поддерживается за счет регулирования расхода паровой фазы рабочего тела через конденсатор (байпасная линия, регулятор расхода и камера смещения), был разработан в проектах Центра им. Годдарда [10] и Европейского космического агентства для космической платформы "Колумбус". Подсистема этой разработки предназначена для передачи 20 кВт на уровне 20-25°С на расстоянии до 30 м [11]. Недостаток этого принципа -сложность конструкции смесителя, задача которого не только поддерживать заданный уровень температур, но и обеспечивать непрерывность жидкости на входе в насос. Вторая группа подсистем - те, в которых температура и давление пара в конденсаторе поддерживаются регулированием площади поверхности теплосброса за счет введения нейтрального газа во внутреннюю полость конденсатора или за счет изоляции части поверхности теплообмена конденсатора рабочей жидкостью, вытесняемой из гидроаккумулятора. Приведенные схемы были положены в основу проекта систем теплорегулирования Центра космических полетов им. Джонсона [12] и фирмы "Мартин Мариетта" [13] для тепловой нагрузки 25—50 кВт. Принципы работы и конструкция теплообменных агрегатов (конденсатор, испаритель) подробно рассмотрены в гл. 9 [4—16].
Схема работы двухфазного контура представлена на рис. 10. При работе с полной нагрузкой регулятор расхода жидкости полностью открыт, что соответствует давлению пара в паропроводе, равному верхнему пределу диапазона настройки. За счет напора, создаваемого насосом, рабочая жидкость поступает из жидкого контура в испаритель с расходом, соответствующим подводимой нагрузке. В результате теплообмена жидкость испаряется и пар по паропроводу за счет разности температур поступает в конденсатор, а образовавшаяся при конденсации жидкость откачивается насосом через пористый элемент конденсатора в жидкостный трубопровод, из него вновь поступает в испаритель. При снижении давления пара ниже верхнего предела настройки регулятор расхода жидкости создает такое сопротивление в сети между конденсатором и насосом, при котором жидкость из аккумулятора начинает перекачиваться в конденсатор, блокируя часть его теплообменной поверхности. Это приводит к росту давления пара и поддержанию его в диапазоне настройки.
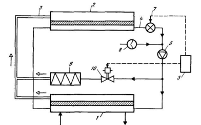
Рис. 10. Принципиальная схема двухфазного гидравлического контура подсистемы активного терморегулирования
1,2 - теплообменник-конденсатор; 3 - паропровод; 4 - жидкостный контур; 5 - блок управления, 6 - электрогидродинамический насос; 7 - регулятор расхода жидкости; 8 -гидроаккумулятор, 9 — нагреватель; 10 - запорный клапан
шение давления пара до величины нижнего предела настройки приводит к тому, что регулятор полностью перекрывается, при этом испаритель подпитывается рабочей жидкостью из аккумулятора. При снижении нагрузки до предельной величины, когда температура радиационного теплообменника опускается ниже температуры замерзания рабочего тела, в целях исключения его замерзания в конденсаторе в контуре установлен электронагреватель, включенный в двухфазный контур через запорный клапан. В качестве испарителей используются термоплаты прямоугольного профиля с анизотропным пористым наполнителем.
Дальнейшей перспективой развития систем терморегулирования является создание двухфазных циркуляционных контуров, в которых движение теплоносителя осуществляется за счет удаляемой тепловой энергии при наличии перепада температур между источником тепла и поверхностью радиационного теплообменника-конденсатора, в частности, с использованием струйного насоса. Применение этих так называемых термоциркуляционных контуров позволяет одновременно уменьшить массу и энергопотребление за счет изменения агрегатного состояния, получить практически независимый от дальности полета насос без движущихся частей, разделить единый циркуляционный контур на множество отдельных автоматически действующих контуров, что снимает проблему надежности из-за возможности разгерметизации [2, 17, 18].
В подсистеме активного терморегулирования с термоциркуляционным контуром циркуляция теплоносителя осуществляется только за счет частичной утилизации отводимого этим контуром от тепловыделяющего оборудования тепла в прямом термодинамическом цикле. При этом сам гидравлический контур с преобразователем энергии, источниками тепловыделения и радиационными панелями является тепловой машиной, в которой подводимое к теплоносителю низкопотенциальное тепло преобразуется в работу по преодолению гидросопротивления при движении теплоносителя. В таких контурах целесообразно использовать струйные насосы с
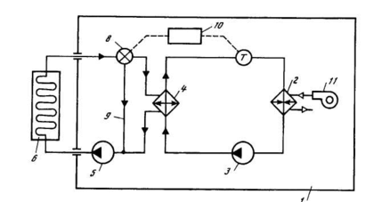
Рис. 11. Принципиальная схема двухфазного термоциклического гидравлического контура с инжектором-конденсатором
1 - инжектор-конденсатор; 2 - сопло; 3 - форсунка; 4 - камера смешения; 5 - зона торможения смеси; 6 - зона расширения смеси; 7,8- теплообменники отвода тепла приборного оборудования; 9 - разделитель потока; 10 - радиационный теплообменник-исп*аритель; 13 - "холодный" контур; 14 - "горячий" испаритель; 13 - "холодный" контур; 14 - "горячий" контур; 75 - внутренний контур
полным отсутствием в них движущихся механических элементов, что позволяет создать подсистему с практически неограниченным ресурсом, зависящим только от ресурса конструкционных материалов и теплоносителя. Использование системы управления требуется только на режимах запуска контура, когда надо создать первоначальный поток теплоносителя, подводить и отводить тепло. В заданном диапазоне контур подсистемы работает в режиме авторегулирования.
Располагаемый напор в системах со струйными насосами и небольшие объемные расходы позволяют интенсифицировать теплообмен за счет увеличения скорости теплоносителя в каналах термоплат, что значительно снижает теплоемкость последних. Запас по напору позволяет сделать систему нечувствительной к месту выделения тепловой нагрузки за счет установки пассивных регуляторов расхода в отдельных ветвях (кавитирующих трубок Вентури и др.). В подсистемах со струйными насосами отсутствуют ограничения по ориентации термоплат при наличии гравитации.
Для реализации термодинамического цикла приходится снижать температуру отводимого тепла, что приводит к некоторому росту площади излучателя и его массы. Это является платой за высокую надежность и автономность системы.
Термоциркуляционный контур может быть спроектирован с преобразователями энергии различного типа. Ниже рассматриваются контуры с инжектором-конденсатором и струйным сепарационным парожидкостным насосом, наиболее эффективными для обеспечения работы контура в заданном диапазоне тепловыделения [2, 17, 18].
В инжекторе-конденсаторе (рис. 11) пар или парожидкостный поток натекают с большей скоростью из сопла, смешиваясь с холодной жидкостью в камере смешения, где пар передает свой импульс и конденсируется. Смесь скачком тормозится в узкой
Рис. 12. Принципиальная схема двухфазного термоциклического гидравлического контура со струйным парожидкостным насосом
/ - струйный парожидкостный насос; 2 - сопло; 3,4 — разделитель потоков; 5 - зона
торможения; 6 — зона расширения; 7 - радиационный теплообменник-конденсатор; 8, 10 -
теплообменники отвода тепла от приборного оборудования; 9 - отделение парового
потока; 11 - нагреватель; 12 - теплообменник-разделитель; 13 - "холодный" контур, 14 -
"горячий" контур; 75 - гидронасос; 16 - внутренний контур ,
Рис. 13. Принципиальная схема двухфазного контура с ТНА
1 - турбина; 2 — насос; 3 - подшипники; 4 - нагреватель-испаритель; 5 —радиационный теплообменник-конденсатор; 6 - внутренний контур
части и плавно восстанавливает свое давление в расширяющейся части диффузора. На выходе из инжектора-конденсатора в разделителе потока часть его направляется в радиационный теплообменник для охлаждения и вспрыскивается в камеру смешения через форсунку, а другая — направляется в нагреватель и далее в испаритель, где при постоянной температуре охлаждает тепловыделяющую аппаратуру за счет частичного испарения теплоносителя. После теплообменников "холодный" и "горячий" потоки поступают в инжектор-конденсатор. При его работе получается насосный эффект. Преимущество данной схемы - конструктивная и технологическая простота. В контуре могут быть установлены дополнительные жидкостные теплообменники для отвода в случае необходимости низкопотенциального тепла от приборно-агрегатного оборудования. Основной недостаток данной схемы состоит в том, что в термодинамическом цикле не может быть использован весь диапазон температур, так как тепло от термодинамического рабочего тела отводится в смесительном теплообменнике.
Гидравлический контур струйного сепарационного парожидкостного насоса может быть реализован по схеме, представленной на рис. 12. Контур имеет две магистрали -"горячую" — рабочей жидкости, обеспечивающей отвод тепла от тепловыделяющих устройств, и "холодную" — термодинамического рабочего тела (пара), переносящего отобранное от оборудования тепло на радиационный теплообменник. Перегретая па-рожидкостная смесь поступает в сопло и, ускоряясь, расширяется, при этом происхо-дит адиабатическое охлаждение. В динамическом сепараторе жидкость и пар за счет инерционных сил разделяются на фазы с сохранением скорости жидкости. Жидкость направляется в щель диффузора, в которой восстанавливает свое давление. Движение теплоносителя по "горячему" контуру аналогично движению теплоносителя в контуре с инжектором-конденсатором. Приращение давления жидкости получается за счет срабатывания температурного перепада. Как и в контуре с инжектором-конденсатором, возможна установка дополнительных теплообменников для подвода-отвода тепла, не участвующего в термодинамическом цикле. После струйного парожидкостного насоса пар конденсируется на радиационной панели конденсатора, а затем для устойчивой работы переохлаждается в теплообменнике. Цикл с таким насосом эффективнее цикла с инжектором-конденсатором при одинаковом перепаде температуры в контуре. Однако в схеме со струйным парожидкостным насосом для преодоления гидросопротивления по "холодной" магистрали необходимо подвести к контуру внешнюю энергию. Работа на возврат конденсата составляет не более 10% от работы по прокачке теплоносителя по контуру теплосъема. Для реинжекции конденсата может быть использован вспомогательный струйный насос, при этом сохраняется концепция "безмашинного" способа прокачки теплоносителя по всему контуру. Установка в контуре парожидкостного насоса вместо инжектора-конденсатора позволяет повысить напор, снизить требуемый перепад температур на радиационном теплообменнике, что сокращает его поверхность и массу либо позволяет включать в контур дополнительные тепловые нагрузки.
Цикл может быть эффективно осуществлен и в нагнетательном циркуляционном контуре подсистемы с турбонасосным агрегатом (рис. 13). В этом случае появляются механические подвижные детали, работа по прокачке теплоносителя осуществляется за счет частичной утилизации отводимого тепла и сохраняется независимость от внешних источников энергии. Турбонасосный агрегат представляет собой герметичный узел, состоящий из находящихся на одном валу турбины и насоса. Давление жидкого теплоносителя повышается в насосе, далее жидкость нагревается, частично или полностью испаряется в нагревателе, пар, расширяясь в турбине, поступает в радиационный теплообменник, где конденсируется и переохлаждается. Цикл замыкается подачей конденсата в насос. Использование гидравлических подшипников должно обеспечить высокий ресурс турбонасосного агрегата. Введение в контур последнего позволяет существенно увеличить тепловые нагрузки [2].
Перспективным представляется сочетание термоциркуляционного контура с комбинацией преобразователей обоих типов и нагнетательного циркуляционного контура с турбонасосным агрегатом.
-
Космические аппараты. М.: Воениздат, 1983. С. 197-215.
-
Малоземов В.В., Рожнов В.Ф., Правецкий В.Н. Системы обеспечения экипажей летательных
аппаратов. М.: Машиностроение, 1986. С. 235-391. -
Воронин Г.И., Поливода А.И. Жизнеобеспечение экипажей космических кораблей. М.:
Машиностроение, 1967. С. 61-66. -
Серебряков В.Н. Основы проектирования системы жизнеобеспечения экипажей космических
летательных аппаратов. М.: Машиностроение, 1983. С. 21-23, 70-76. -
Кришаенков Б.Г. Регенерация и кондиционирование воздуха. М.: Наука, 1975. Т. 3. С.70-121.
-
Залетаев В.М., Капинос Ю.В., Сургучев О.В. Расчет теплообмена космического аппарата. М.:
Машиностроение, 1979. С. 7-176. -
Hopson Gr.D., Littler I.W., Patterson W.S. Skylab environmental and life support system // SAE/ASME/AIAA
Life support and environmental control conf., 1971, July 12-14. San Francisco (Calif.), 1971. -
Hanlon W.H., Hevnus P.E. Skylab habitability evolution // AIAA Pap. 1971. N 71-872.
-
Hopson Gr.D. Skylab life support and habitability system requirement and implementation // XXII Intern.
-
Mailer F., Kred H. Advanced thermal control technologies for European space statonmodules // SAE Techn. Pap.
Ser. 1985. p. 85-1366. -
Sadunas J.A., Lehtinen A. Spacecraft active thermal control subsystem design and operation considerations //
AJAA Pap. 1986. N 86-1267. -
Culhmar B.A., Epper R.C. Thermostatic control of two-phase spacecraft thermal management systems // Ibid.
N 86-1246. -
Edestein F., Brown R. Design and test of a two-phase monogroowe gold Plat // Ibid. 1985. N 85-0918.
-
Sweden J , Gallucio R. Space Shuttle environmental and life support system // SAE Pap. 1986. N 86-1420.
-
Allario J. The share flight experiment - an advanced hoot pipe Rodiafor for space station // AJA Pap. 1986.
N 1297. -
Карасев Э К. Струйный паронасос как источник циркуляции в испарительном контуре кипящего
реактора // Вопр. атом, науки и техники. Ракетостроение. 1979. Вып. 26. С. 3-9.
[Т.Горбенко Г.А., Фролов С.Д. Исследование поверхностных сепараторов струйных насосов жидкости с несущим газом // Вопросы газодинамики энергоустановок. Харьков, 1975. Вып. 2. С. 68-96.
2>2>Характеристики
Тип файла документ
Документы такого типа открываются такими программами, как Microsoft Office Word на компьютерах Windows, Apple Pages на компьютерах Mac, Open Office - бесплатная альтернатива на различных платформах, в том числе Linux. Наиболее простым и современным решением будут Google документы, так как открываются онлайн без скачивания прямо в браузере на любой платформе. Существуют российские качественные аналоги, например от Яндекса.
Будьте внимательны на мобильных устройствах, так как там используются упрощённый функционал даже в официальном приложении от Microsoft, поэтому для просмотра скачивайте PDF-версию. А если нужно редактировать файл, то используйте оригинальный файл.
Файлы такого типа обычно разбиты на страницы, а текст может быть форматированным (жирный, курсив, выбор шрифта, таблицы и т.п.), а также в него можно добавлять изображения. Формат идеально подходит для рефератов, докладов и РПЗ курсовых проектов, которые необходимо распечатать. Кстати перед печатью также сохраняйте файл в PDF, так как принтер может начудить со шрифтами.
















