ПЗ Гилёв (1233145), страница 3
Текст из файла (страница 3)
- Отсутствие непосредственного воздействия солнечной радиации;
- Вибрация до 100 Гц при ускорении 1g;
- Одиночные удары в горизонтальном направлении до 3g (М25 по ГОСТ17516.1-90);
- Рабочее положение в пространстве на вертикальной плоскости, допустимое отклонение от вертикали 15 в любую сторону;
- Степень защиты реле IР30 по ГОСТ 14255-69.
Реле для нужд народного хозяйства соответствует ТУ16-523.450-83, в экспортном исполнении -ТУ16-523.450-83, РД 16 01.007-88.
Требования безопасности должны соответствовать ГОСТ 12.2.007.6-75. По способу защиты человека от поражения электрическим током реле относятся к классу 0 по ГОСТ 12.2.007.0-75.
Технические данные реле ТРПУ-1-412 приведены в таблице 1.3
Таблица 1.3 - Технические данные реле ТРПУ-1-412
| Параметры | Значение |
| Номинальное напряжение контактов, В | 110 |
| Номинальное напряжение цепи управления, В | 24; 50; 75; 110 |
| Номинальный (длительно допустимый) токконтактов, А | 6 |
| Количество контактов | 6з + 2р; 4з + 4р |
| Параметры | Значение |
| Минимальный коммутационный токпри напряжении 24 В, А | 0,025 |
| Механическая износостойкость реле, млн. цикловсрабатываний, не менее | 16 |
| Коммутационная износостойкость контактов реле при нагрузках, указанных в табл. 2, млн. циклов ВО | 2,5 |
| Колебания напряжения цепи управления | (0,7-1,1)Uнoм |
| Напряжение возврата реле | (0,005-0,33)Uнoм |
Основными узлами реле являются электромагнит клапанного типа и контактная система. Контактная система и электромагнит закреплены на пластмассовом основании и закрыты кожухом. Выступающие концы шпилек служат для крепления реле на панели. К выводам контактов и катушек припаиваются гибкие монтажные провода, к каждому выводу не более двух общим сечением не более 1,5 мм2. Реле устанавливаются на металлические или изоляционные панели и рейки и эксплуатируются в закрытых комплектных устройствах тепловозов (в высоковольтных камерах). При разработке схем и монтаже необходимо обеспечивать такое присоединение нагрузок, чтобы в каждом вертикальном ряду два средних контактных вывода имели одинаковый потенциал. Более мощные коммутируемые нагрузки следует располагать в середине, а менее – по крайним контактам, это уменьшит затемнение кожуха продуктами горения дуги. При коммутации мощных высоко индуктивных нагрузок следует применять последовательное соединение контактов. С целью обеспечения надежной коммутации слаботочных нагрузок при весьма малых напряжениях необходимо применять параллельное соединение контактов.
1.4 Промежуточное реле ТРПУ-4-4-110В-П
Реле (рисунок 1.10) предназначены для применения в цепях управления тепловозов. Состоит из магнитопровода, катушки с сердечником, якоря, замыкающих и размыкающих контактов. При прохождении тока по катушке якорь притягивается к сердечнику и через траверсу происходит замыкание или размыкание контактов. После снятия напряжения пружина устанавливает якорь в исходное положение, при этом контакты размыкаются. Применяются: ТРПУ-4-4-24В, ТРПУ-4-4-50В, ТРПУ-4-4-75В, ТРПУ-4-4-110В – на тепловозах 2ТЭ10В, 2ТЭ116 ТЭП60, ТЭП70, ТЭМ7А, ТЭМ7, ТЭП70А; Реле работоспособны в пределах от 0,7 до 1,1 номинального напряжения цепи управления, при этом реле, катушки нагреты до установившейся температуры при номинальном напряжении питания и эффективной температуре окружающей среды, включаются при напряжении 0,7 номинального и отключиться при снижении напряжения от 0,33 до 0,05 номинального. Время включения реле в холодном состоянии при номинальном напряжении цепи управления не более 0,06 с, время отключения не более 0,03 с.
Рисунок 1.10 – Промежуточное реле ТРПУ-4-4-110В-П
Технические характеристики реле приведены в таблице 1.4.
Таблица 1.4 – Технические характеристики реле ТРПУ-4-4-110В-П
| Параметры | Значение |
| Номинальное напряжение контактов, В | 110 |
| Номинальный ток контактов, А | 6 |
| Количество замыкающих контактов, шт | 4 |
| Количество размыкающих контактов, шт | 4 |
| Номинальное напряжение цепи управление, В | 110 |
| Потребляемая мощность, Вт | 6 |
| Масса, кг | 0,455 |
| Время повторной готовности реле, с | 0,5 |
| Время возврата реле | 0,2 |
| Потребляемая мощность не более, Вт | 5 |
| Масса реле не более, кг | 0,35 |
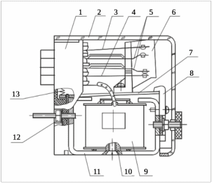
Реле (рисунок 1.11) работает по электромагнитному принципу. Электромагнит клапанного типа состоит из скобы, сердечника с катушкой и плоского якоря. Ход якоря ограничивается угольником, возврат якоря осуществляется пружиной. На якоре установлена пластмассовая траверса, воздействующая на подвижные пластины контактов.
Рисунок 1.11 – Промежуточное реле ТРПУ-4-4-110В-П [10]: 1 – корпус; 2 – кожух; 3 – пластина подвижная замыкающих контактов; 4 – пластина подвижная размыкающих контактов; 5 – пластины неподвижные контактов; 6 – траверса; 7 – якорь; 8 – угольник; 9 – катушка; 10 – сердечник; 11 – скоба; 12 – крепление; 13 – пружина
Промежуточное электромагнитное реле типа ТРПУ используется в цепях управления тепловоза для формирования заданного алгоритма работы силового и вспомогательного оборудования (реле управления РУ).
Приведём назначение промежуточных реле на примере включение вспомогательных насосов масла дизеля (рисунок 1.12) тепловоза 2ТЭ116.
В данном случае размыкающий контакт реле РУ23 разбирает цепь питания катушки контактора КМН; контактор отключается и главным контактом выключает электродвигатель МН и прокачка дизеля маслом прекращается. Вспомогательный контакт КМН разберет цепь питания реле РВП1, которое, отключаясь, своим размыкающим контактом без выдержки времени ставит реле РУ23 на самопитание. Это делает невозможным работу маслопрокачивающего насоса при работающем дизеле, так как насосы с механическим приводом от вала дизеля выходят на требуемый режим.
Рисунок 1.12 – Принципиальная схема включения электродвигателей приводов топливоподкачивающего и маслопрокачивающегонасосов дизеля тепловоза 2ТЭ116 [10]
Так же контакты реле используются от защиты внутренних коротких, замыканий. Приведем образец работы контактов реле при внутреннем замыкании в цепи тепловоза 2ТЭ116 (рисунок 1.13).
Рисунок 1.13 – Исполнительная схема защиты от внутренних коротких замыканий в силовой цепи тепловоза 2ТЭ116 [10]
Замыкающий контакт реле РМ2 собирает цепь питания катушки реле РУ4, которое с помощью своего замыкающего контакта становится на самопитание (замыкающий контакт реле РУ4 в цепи катушки РУ4 шунтирует замыкающий контакт реле РМ2). В результате этого, даже если реле РМ2 отключится, реле РУ4 будет оставаться включенным. Размыкающий контакт реле РУ4 отключает катушку промежуточного реле возбуждения РКВ. Контакт РКВ в цепи катушки КВ также размыкается и вместе с контактом РМ2дублирует ее отключение. Теперь, для того чтобы восстановить возбуждение генератора, нужно отключить реле РМ2 и реле РУ4. А реле РУ4, которое встало на самопитание, отключится только после перевода контроллера на нулевую позицию и выключения автомата «Управление возбуждением». Такой алгоритм защиты от внутренних коротких замыканий позволяет восстанавливать возбуждение тягового генератора только начиная с нулевой позиции.
2 ПРОЕКТ ЛАБОРАТОРНОГО СТЕНДА
Реле управления, а так же промежуточные релепланируется монтироваться на переднюю часть стенда. Крепление реле производится на панель стенда при помощи восьми болтов М6. Схема размещения реле приведена на рисунке 2.1.
Рисунок 2.1 – Схема размещение реле.
Во избежание поражения учащихся электрическим током токоведущие части будут устанавливаться с обратной стороны стенда.
Для простоты эксплуатации лабораторного стенда предлагается создать лицевую панель, на которой будут находиться автоматические выключатели «S1», «S2» и «S3» для включения и отключения реле, а так же индикаторные лампы «E1», «E2», «E3», «E4» для отображения рабочего состояния реле. Лицевая панель приведена на рисунке 2.2.
Рисунок 2.2 – Лицевая панель стенда «Реле управления локомотива»
Для работы лабораторного стенда необходимо электрическое напряжение в 50 В переменного тока. Для этой цепи необходимо использовать понижающий трансформатор, который будет преобразовывать электрическую от однофазной сети 220 В или от трехфазной 380 В.
Проектируемая схема цепей управления реле изображена на рисунке 2.3
В итоге число узлов схемы составило 22 штуки, число проводов 46 штуки, количество ламп 4 штуки, количество выключателей 3 штуки , длина проводов 30 метров.
Для стенда применялись светодиодные коммутаторные лампы СКЛ 9.
Светодиодные коммутаторные лампы СКЛ 9 (рисунок 2.4) с цоколем Е14 применяются взамен стандартных ламп накаливания в железнодорожном транспорте, на объектах энергетики, а также в различных отраслях промышленности в электрощитах, пультах, системах управления и сигнализации и т. д.
Рисунок 2.3 – Электрическая монтажная схема проектируемого лабораторного стенда
Рисунок 2.4 – Коммутаторная лампа СКЛ 9.
Условное обозначение лампы СКЛ 9А-К_-2-220:
- 9 – тип лампы;
- А – группа яркости А – по умолчанию – нормальной яркости (15 мкд); Б – повышенной яркости (36 мкд);
- К – цвет свечения светодиода К – красный; С – синий; Ж – желтый; Л – зеленый; Р – оранжевый; Б – белый;
- цвет колбы (линзы светодиода) «_» – по умолчанию – окрашенная рассеивающая; М – матовая (неокрашенная рассеивающая); П – прозрачная неокрашенная;
- 2 – род тока 2 – универсальные лампы (работают и на постоянном и на переменном токе); 1 – постоянный однонаправленный ток, 3 – переменный ток;
- 220 – рабочее напряжение 6, 12, 24, 28, 36, 48, 60, 75, 110, 127, 220, 380 В.
Технические характеристики лампы приведены в таблице 2.1.
Таблица 2.1 – Технические характеристики лампы СКЛ 9.
| Рабочее | Ток, мА | Сила света, мкд | ||||||
| Род тока | Группа яркости А | Группа яркости Б | ||||||
| Постоянный | Переменный ток (произвольной | Переменный ток | Цвет свечения | Цвет свечения | ||||
| К, Ж, Л, Р | К, Ж, Л, Р | С, Б | ||||||
| 6, 12, 24, 28, 36, | 20 | 20 | 15 | 36 | 50 | |||
| 110 | 10 | 10 | 15 | 36 | 50 | |||
| 127 | 10 | 10 | 10 | 15 | 36 | 50 | ||
| 220 | 5 | 5 | 10 | 15 | 36 | 50 | ||
| 380 | 2,5 | 10 | 15 | 36 | 50 | |||
Схема для подключения миллисекундомера приведена на рисунке 2.5.
















