Полный текст ВКР Мамаенко (1231736), страница 8
Текст из файла (страница 8)
Данное мероприятие позволит в полной мере реализовать выполнение договорных отношений по сервисному обслуживанию локомотивов, особенно в части непредвзятости принимаемых решений на всех этапах приемки локомотивов. Также предполагается внедрить мероприятия по мотивации работников уровня приемщиков, а именно – основной составляющей заработной платы сделать премиальное вознаграждение за выполнение возложенных обязанностей в полном объеме.
На первом этапе возникнут риски лавинных невыдач локомотивов из ремонта, однако в дальнейшем строгое выполнение договорных обязательств со стороны сервисной компании в части соблюдения технологии ремонта, в корне изменят ситуацию, что повлияет не только на сокращение расходов обезвреживания загрязненных грунтов, но и в целом на качественные показатели ремонта и безотказность работы локомотивного парка.
Решением проблемы течей топливопроводов как низкого, так и высокого давления, может стать замена соединений топливопроводов на более современные, а также замена их креплений. Необходимыми критериями заменяемых элементов должны быть:
а) сокращение времени монтажа, демонтажа топливопровода;
б) надежность конструкции элементов соединения и крепления;
в) технологичность конструкции, обеспечивающая снижение требований к квалификации ремонтного персонала.
С целью выбора подходящей конструкции соединений топливопровода высокого давления, необходимо определить периодичность монтажа (демонтажа) указанных топливопроводов.
Периодичность работы (в части демонтажа и монтажа) с топливопроводами высокого давления составляет 50 тыс. км, так как периодичность демонтажа форсунок заложена в цикле ТР-1. Следовательно, ориентировочная периодичность ремонта магистральных тепловозов, при средней участковой скорости на Дальневосточной железной дороге 47 км/ч, составляет 44 суток. Данный показатель не позволяет устанавливать соединения и крепления топливопроводов высокого давления неразъемного типа. На основании вышесказанного необходимо ограничиваться быстроразъемными соединениями (далее БРС).
Из используемых на сегодняшний день типов конструкций БРС жидкостных магистралей высокого давления, можно выбрать, исходя из условий эксплуатации топливных систем высокого давления тепловозных двигателей, решение с использованием системы с шариковым фиксатором (рисунок 4.3).
Как и любое изделие, быстроразъёмные соединения обладают рядом плюсов и минусов. К преимуществам можно отнести:
а) широкий выбор и распространённость (быстроразъёмные соединения можно приобрести практически везде);
б) способны обеспечивать высокий показатель герметичности стыка;
в) благодаря своей конструкции БРС легко устанавливаются и в случае необходимости также легко снимаются;
г) БРС являются многоразовыми изделиями;
д) не теряют своих свойств в течение длительного эксплуатационного срока;
е) при разъединении не допускается выброс рабочего материала (газа, жидкости).
К основным недостаткам таких изделий относят:
а) в случае, если потребитель использует комбинацию частей БРС от разных производителей, с изделия снимается гарантия;
б) 20% таких изделий производится без взаимозаменяемых свойств.
В части замены соответствующих трубопроводов, поставщиками БРС предлагаются шланги высокого давления, а также муфты, позволяющие унифицировать вид заказываемых изделий, вне зависимости от марки дизеля.
Штекер и гнездо обладают автоматическим запорным клапаном
Корпус из нерж. стали для коррозионной устойчивости
Блокировочный замок для максимально надежного соединения
Различные виды соединений
Рисунок 4.3 – БРС с шариковым фиксатором
В системе низкого давления топлива, ввиду низкой частоты монтажа (демонтажа) трубопроводов данной системы, предлагается использовать соединения резьбового типа с использованием конусных уплотнений (рисунок 4.4). Данные соединения имеют два контура уплотнения. Замена существующих типов соединений на предлагаемые позволит избежать течей топлива, наблюдаемых при использовании плоских уплотнительных колец, так как конусные уплотнения сохраняют свои свойства даже в результате нарушения геометрии крепления топливопроводов, что очень часто допускается при производстве ремонта.
Уплотнительное кольцо
Рисунок 4.4 – резьбовые соединения конусного типа
В совокупности, вышеприведенные мероприятия позволят не только повысить герметичность топливной системы дизелей (как следствие снизить количество неплановых ремонтов, необоснованные потери топлива), но и сократить время выполнения ремонтных операций, в частности при использовании БРС.
Для выполнения вышеуказанных мероприятий, также, не потребуется дополнительных вложений на модернизацию существующего оборудования (форсунок, топливных насосов), за счет использования поставляемых к БРС средствам унификации.
Применение вышеописанных средств позволит снизить требования к квалификации ремонтного персонала, что позволит снизить расходы фонда заработной платы и направить эти средства на модернизацию топливных соединений.
-
Технология ремонта и меры по недопущению повреждений элементов масляной системы дизеля
-
Технология ремонта масляной системы дизеля
-
При проведении текущего ремонта в объемах ТР-1 и ТР-3 выполняют следующие операции по ремонту масляной системы:
- проверка уровня масла в раме;
- разборка, промывка и сборка центробежного фильтра масла;
- проверка регулировки центробежного фильтра масла;
- отбор проб масла и проведение его анализа на физико-химические показатели и контроль браковочных признаков;
- смена масла в установленные сроки;
- проверка регулировки датчиков-реле давления;
- демонтаж, разборка и осмотр масляного насоса;
- промывка, осмотр и регулировка невозвратного клапана;
- осмотр резиновых рукавов масляной системы;
- замена датчика температуры, регулировка, пломбирование;
- разборка терморегулятора, осмотр, сборка, регулировка, пломбирование;
- осмотр и обслуживание самоочищающегося фильтра;
- разборка редукционных клапанов, промывка, дефектовка, ремонт (при необходимости), сборка и регулировка;
- промывка и опрессовка системы смазки;
- проверка крепления, при необходимости закрепление трубы подвода масла к турбокомпрессору.
Далее детально рассмотрены операции по ремонту основных узлов масляной системы дизеля, склонных к течам.
-
Ремонт насоса масляного
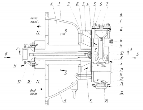
При демонтаже насоса масляного с дизеля используются рым-болты 35 (рисунок 4.5).
У насоса, снятого с дизеля, закрываются каналы корпуса 1 и центрирующей втулки 17 (рисунки 4.5, 4.6, 4.7). Разборка производится в следующей последовательности:
а) отворачиваются гайки и снимается корпус 10 клапана;
б) снимается прокладка 4;
в) используя резьбовые отверстия в штифтах 39, вытаскиваются штифты наружной крышки 3, крышка маркируется по корпусу;
г) используя отжимные резьбовые отверстия М12x1,75, снимается крышка наружная 3;
д) снимается уплотнительная прокладка 2, вынимаются шестерни 29 и 30;
е) отворачиваются гайки и снимается центрирующая втулка 17;
35
Б
В
Г – Г
39
38
37
36
Е – Е
Д – Д
Рисунок 4.5 – Насос масляный
ж) отворачиваются гайки шпилек, крепящих внутреннюю крышку 16 к корпусу;
и) используя резьбовые отверстия (М10x1,5) в штифтах 39, вытаскиваются эти штифты;
к) маркируется крышка 16 по корпусу, используя резьбовые отжимные отверстия М12х1,75, снимается крышка 16.
Для разборки клапана выполняются следующие операции:
а) снимается пломба;
б) снимается пломба 13 и проволока, на которой пломба была установлена;
в) выворачиваются две диаметрально противоположные шпильки, крепящие крышку 15 к корпусу 10. Вместо этих шпилек вворачиваются длинные шпильки 74976.50 (М10х120), на них наворачиваются гайки до конца резьбы, закрепив ими крышку 15 ключом РИ 303.02.74-12;
г) отворачиваются гайки на оставшихся двух штатных шпильках крепления крышки 15;
А
1
2
Б
3
4
5
6
7
Выход
масла
М
Г
В
Вход
масла
8
9
10
З
11
И
12
13
14
15
К
Л
А
А
Б
В
Б
16
17
Н
Ж
Рисунок 4.6 – Насос масляный (разрез на главном виде)
е) снимается крышка 15, прокладка 12 и вынимается пружина 11;
ж) вынимается из корпуса 10 клапан 9;
и) при разборке замеряется толщина и сохраняется набор колец 14, обеспечивающих заданную затяжку пружины 11. Значение суммарной толщины колец 14 должно быть выбито на торце фланца 5.















