Полный текст ВКР Мамаенко (1231736), страница 9
Текст из файла (страница 9)
Если при разборке и осмотре деталей насоса обнаружены:
а) поломка или замятие одного, или нескольких зубьев шестерен, а также сколы на зубьях;
б) поломка или деформация шлицев на валу 28 и на ведущей шестерне;
А1
31
Ш
Я
30
29
28
Ю
27
26
Э
Щ
25
Ш
32
33
34
Ю
Ц
Б1
П
Р
18
19
С
20
Т
21
У
22
23
24
Р
Ц
В
В
А – А
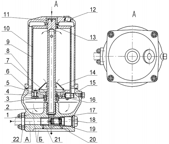
Рисунок 4.7 – Насос масляный (разрез в горизонтальной плоскости):
1 – корпус насоса; 2, 4, 6, 12 – прокладки; 3 – крышка наружная; 5 – фланец; 7 – пробка; 8 – пробка (для замера давления нагнетания); 9 – поршень клапана; 10 – корпус клапана; 11 – пружина клапана; 13 – пломба; 14 – кольца регулировочные; 15 – крышка; 16 – крышка внутренняя; 17 – втулка центрирующая; 18 – штифт фиксирующий ось; 19, 27, 31 – втулки подшипников скольжения; 20 – втулка промежуточная; 21 – ось ведомой шестерни – неподвижная; 22 – кольцо промежуточное; 23, 25, 32 – кольца стопорные; 24 – винт-заглушка; 26 – упор приводного вала; 28 – вал приводной; 29 – шестерня ведущая; 30 – шестерня ведомая; 33 – кольцо ограничительное, 34 – штуцер упорный; 35 – рым-болт; 36 – заглушка; 37 – пластина декоративная; 38 – пластина стопорная; 39 – штифты центрирующие; А – полость нагнетания насоса; Б – окно перепуска из полости нагнетания в клапан; В – полость клапана надпоршневая; Д – полость нагнетания клапана; Е – отверстия поршня клапана; Ж – щели клапана; К – окно перепуска из клапана во всасывающую полость насоса; Л – полость всасывания насоса; М – расточки под резиновые кольца; Н – поверхность посадочная (центрирующая); П, Т. Б1 – отверстия подвода масла в оси; Р – поверхности отверстий для оси; С – лыска оси; У – поверхность расточек корпуса, Ц – отверстия подвода масла в крышках; Ш – каналы подвода масла; Щ – отверстия упора; Э – полость подвода масла к приводному валу; Ю, Я – поверхности подшипников скольжения; A1 – плоскость сопряжения внутренней крышки и втулки; B1 – полость насоса (не используется)
в) риски глубиной более 0,5 мм и задир наружных диаметров цапф ведущей шестерни и аналогично на оси 21;
г) течь масла через стенки корпуса насоса,
то во всех перечисленных случаях детали подлежат замене новыми или заменяется целиком насос.
При выполнении ремонта необходимо обратить внимание на следующее:
а) при наличии торцовых рисок шестерен, если остальные параметры шестерен не нарушены, разрешается шабровка или шлифовка этих торцов, при этом следует сохранить торцовый зазор между шестернями и крышками не более указанного в приложении А. Биение торцов шестерен относительно цапф должно быть не более 0,03 мм;
б) при обнаружении торцовых рисок крышек 3 и 16 глубиной не более 1,5 мм торцы шлифуются и после этого вышабриваются так, чтобы было равномерное прилегание по краске - не менее 13 пятен на площади 25x25 мм;
в) при обнаружении рисок цапф ведущих шестерен глубиной менее 0,3 мм полируются эти поверхности, при этом обеспечивается диаметральный зазор не более указанного в приложении А;
г) если в полостях корпуса 1, где размещаются шестерни, обнаружены грязевые кольцевые риски или выработка от постороннего металлического предмета глубиной до 2 мм, шириной не более 3 мм, количеством на каждой поверхности не более пяти рисок, то эти дефекты зачищаются, острые кромки округляются. Такой корпус насоса пригоден к дальнейшей эксплуатации;
д) если обнаружено зависание или заклинивание поршня клапана 9, то после разборки клапана зачисткой и полировкой устраняются причины дефектов. Допускается диаметральный зазор по посадочным поверхностям поршня и корпуса 10 не более 0,09 мм;
е) если при разборке насоса обнаружен задир бронзовых втулок 27, 31 и 19, то втулки заменяются новыми;
ж) дефектные втулки удаляются режущим инструментом на станке или вы- прессовкой. Перед сборкой зачищаются все забоины и заусенцы, притупляются острые кромки;
и) осматриваются внутренние диаметры втулок и места, где расположены шестерни в корпусе 1, зачищаются риски и острые кромки. Отсутствие или частичное стирание оловянно-свинцовистого покрытия на поверхностях втулок 27, 31 и 19 не являются браковочным признаком;
к) осматриваются торцы крышек 16 и 3 со стороны шестерен, обнаруженные сильные натиры зачищаются, а глубокие риски притупляются и зачищаются. В случае торцового задира, крышку шлифуют и отшабривают. Отклонение от плоскости при этом обеспечить не более 0,003 мм. Риски на оси 21 и цапфах - опорах ведущей шестерни 29 полируются;
л) проверяется чистота отверстий Щ, Б1, Т, Ц, а также чистота и состояние шлицев ведущей шестерни и зубьев шестерен 29 и 30;
м) промывка деталей топливом, применяемым на дизеле, и обдувка сжатым воздухом.
Сборку насоса производить в следующей последовательности:
а) на корпус 1 устанавливается крышка внутренняя 16, устанавливаются по маркировке контрольные штифты 39, закрепляется к корпусу крышка внутренняя 16, при этом устанавливается стопорная планка 38;
б) осматриваются посадочные поверхности Н центрирующей втулки 17, забоины, заусенцы, риски и острые кромки зачищаются. Устанавливается втулка 17 на крышку внутреннюю 16 и закрепляется предварительно. Проверяется прилегание опорного бурта втулки 17 к крышке, в стык A1 щуп 0,05 мм не должен проходить. Окончательно закрепляется втулка 17;
в) устанавливается в крышку 16 ось 21;
г) соединяются шестерни 29 и 30, согласно ранее выполненной маркировке для сопряжения шестерен, шестерни устанавливаются в тот же насос, из которого были вынуты;
д) смазываются маслом, применяемым для смазки дизеля, ось 21 и шейки шестерни 29. Устанавливаются шестерни в корпус 1;
е) устанавливаются на корпус 1 прокладка 2 и крышка наружная 3, устанавливаются по ранее нанесенной маркировке контрольные штифты 39;
ж) проверяется, чтобы прокладка 2 не перекрывала окна Б, К разгрузочные канавки на торце крышки 3. При необходимости обрезаются края прокладки;
и) устанавливается на крышку наружную 3 прокладка 4, проверяется отсутствие свисания кромок прокладки в окна Б и К крышки 3;
к) устанавливается на крышку наружную 3 корпус 10 (в сборе с поршнем 9) и крепится корпус 10 и крышка наружная к корпусу 1, произведя затяжку шпилек крепления крышек 16 и 3, корпуса 10 и втулки 17 согласно прилагаемой таблице и схеме;
л) проверяется легкость вращения шестерен, вращая приводным валиком ведущую шестерню усилием одной руки. Вращение должно быть плавным, без заеданий или заклинивания;
м) устанавливается насос в сборе так, чтобы полость нагнетания была внизу.
Сборку клапана производить в следующей последовательности:
а) проверяется состояние поверхностей под поршень 9 в корпусе 10. Риски, забоины полируются;
в) промываются все детали топливом, применяемым на дизеле, и обдуваются сжатым воздухом;
г) смазываются посадочные диаметры поршня маслом, применяемым для смазки дизеля, и проверяется легкость перемещения поршня в корпусе: поршень должен опускаться в корпус под действием собственного веса. Проверка проводится в трех-четырех различных положенных клапанах. Вынимается поршень из корпуса;
д) устанавливаются на корпус прокладка 6 и фланец 5 и закрепляются;
е) устанавливается в корпус поршень 9;
ж) устанавливается пружина 11;
и) вворачиваются в корпус две технологические длинные шпильки 74976.50 для сжатия пружины.
к) устанавливаются прокладка 12 и крышка 15;
л) устанавливается ранее снятый набор регулировочных колец 14;
м) пружина сжимается гайками, навернутыми на технологические шпильки, до полного прилегания крышки 15 и прокладки 12 к корпусу;
н) закрепляется крышка 15 двумя штатными шпильками, выворачиваются технологические шпильки, вворачиваются на их место штатные шпильки и закрепляется окончательно крышка 15;
п) при сборке клапана не допускается засорение полостей Д и И корпуса 10;
р) если выявилась необходимость, то проверяется правильность регулировки клапана, при этом масло под давлением подводится в полость Д корпуса 10. Регулировка начала открытия клапана 9 производится изменением толщины (количества) колец 14. Работа выполняется с использованием приспособления Д49.181.127спч;
с) после окончательной сборки клапана устанавливается пломба 13;
т) если изменена суммарная толщина колец 14, на торце фланца 5 выбивается ее новое значение, высота цифр - не менее 5 мм;
Испытание насоса производится в следующем порядке:
а) с целью проверки плотности стыков деталей насоса рекомендуется со бранные насосы испытать маслом, применяемым для смазки дизеля, в течение не менее 3 мин давлением 1,2 МПа + 0,1 МПа (12 кгс/см2 + 1 кгс/см2). Потение и течи через стенки и стыки не допускаются;
б) течь масла через втулку 31 и ось 21, установленные в крышке внутренней 16, стык крышки внутренней 16 и корпуса 1, а также через шлицевой вал не контролируются;
в) допускается опрессовку производить на обкаточном стенде или на работающем дизеле.
-
Ремонт фильтра масла центробежного
Разборку фильтра масла центробежного (рисунок 4.8) производить в следующей последовательности:
а) отворачиваются гайки крепления колпака 8 к кронштейну 1 и снимается колпак 8;
б) вынимается ротор с помощью приспособления Д49.181.1 спч;
в) открепляются болты крепления крышки 4 к корпусу ротора 9 и, используя отжимные болты, крышка снимается;
г) вынимается из корпуса ротора прокладка 10 с осадком, очищается ротор и крышка 4.
22
А
Б
21
1
2
3
4
5
6
















