ПЗ Пташкограй А.И. (1229904), страница 9
Текст из файла (страница 9)
Для измерения величины сопротивления можно использовать следующие приборы:
- система контроля и диагностики электрооборудования локомотивов «Доктор – 030М» Омского ЦВНТиТ «Транспорт»;
- прибор «Виток» Пензенского ФГУП «НИИЭМП»;
- прибор УПСЦ-4 Омского ЦВНТиТ «Транспорт».
О целостности обмотки можно судить по результатам произведенных измерений:
- обмотка цела и находится в удовлетворительном состоянии, если все три измерения сопротивления между выводными концами проводов C1, С2 и СЗ практически равны (разброс между двумя любыми измерениями не более 0,001 Ом) и величины сопротивлений равны двойному сопротивлению фазы (с возможным отклонением в пределах допуска);
- в обмотке измеряемых фаз имеется короткое замыкание витков катушки, если замеры по величине резко разнятся между собой и величина их не составляет двойного фазного сопротивления;
- в обмотке имеется обрыв (или перегорание) одной из фаз, если при замерах сопротивлений между выводными концами С1, С2, СЗ два замера будут равны нулю, а один замер будет равен по величине двойному фазному сопротивлению;
- в обмотке имеется обрыв двух (или даже всех трех) фаз, если при замерах сопротивлений все три показания будут равны нулю;
- при завышенном значении активного сопротивления против регламентированного двойного фазного, вероятной причиной может быть излом части жил выводных проводов (кабелей) в месте припайки наконечников.
Проверку обмотки статора на межвитковое замыкание и на пробой изоляции можно также произвести на установке УКИ.271.01 или индикатором межвитковых замыканий ИМВЗ-З.
Измерение сопротивлений следует производить на холодном статоре, имеющем температуру окружающей среды 15-25 °С.
Величины сопротивлений для электродвигателей НВА-55 при 20 °С приведены в таблице 3.1
Таблица 3.1 – Допустимые величины сопротивлений между выводными концами проводов электродвигателя НВА-55
| Номинальное сопротивление каждой фазы, Ом | Сопротивление между выводными концами проводов, Ом | ||
| С1–С2 | С1–С2 | С2–С3 | |
| 0,032÷0,037 | 0,064÷0,074 | 0,064÷0,074 | 0,064÷0,074 |
Сопротивление обмоток электродвигателей постоянному току (активное сопротивление) измеренное в холодном состоянии и приведенное к температуре 20 °С (см. п. 3.1.4) не должно отклоняться от номинального значения при текущем ремонте ТР-3 более чем на ±10 %.
При замерах сопротивлений между выводными концами проводов, последние должны быть отсоединены от токоведущих клемных болтов изоляционной панели в коробке выводов.
3.1.4 Если температура во время измерения отличается от 20 °С, то следует выполнить расчет величины сопротивления по формуле (3.1) и сравнить с приведенной в таблице 3.1.
, (3.1)
где R20 – сопротивление обмотки при температуре 20 °С, Ом;
Rt – сопротивление обмотки при температуре t °C, Ом;
α – температурный коэффициент для медных обмоток равен 0,004;
t – температура, при которой производились измерения сопротивления.
3.1.4 Измерить сопротивление изоляции обмотки статора относительно станины. Измерение производить мегаомметром типа М1-ЖТ или аналогичным (на напряжение 1000 В) путем подсоединения одного щупа поочередно к выводным концам фаз Cl, С2, СЗ, а другого – к металлу станины.
Допустимое наименьшее значение сопротивления изоляции при выпуске из ТР-3 должно быть не менее 1,0 МОм. Измерения производить при температуре окружающей среды (15–20 °С).
3.1.5 Произвести сборку агрегата, т. е. произвести стыковку двигателя со своим приводимым механизмом (вентилятором или компрессором).
Собранный агрегат установить на стенд нагрузочной станции и закрепить его на плите стенда с помощью универсальных захватов.
Нагрузка для вентиляторов создается с помощью заслонки на выходном отверстии, путем создания требуемого напора или нагрузочного тормоза.
Нагрузка на мотор-компрессор создается его работой с противодавлением на пневматическую схему или на нагрузочный тормоз.
3.1.6 Подключить электродвигатель к клеммовой колонке на напряжение 380 В и проверить правильность направления вращения. Направление вращения вала должно быть по часовой стрелке, если смотреть с торца двигателя при расположении коробки выводов с правой стороны.
3.1.7 Испытать электродвигатель на холостом ходу. Данное испытание проводить в течение 30 мин и совместить с виброакустической диагностикой.
Виброакустический контроль осуществлять комплексом оперативной вибродиагностики подшипников качения и зубчатых передач «Прогноз-1» или микропроцессорным комплексом оперативной вибродиагностики подшипников качения и зубчатых передач «Вектор-2000».
3.1.8 Проверить температуру нагрева подшипников двигателя. Температура нагрева подшипников после 30 мин работы двигателя не должна превышать 80 °С. При измерении температуры пользоваться инфракрасным термометром ТПТ-64+.
3.1.9 Определение тока и потерь холостого хода. Измерения следует проводить при установившемся тепловом состоянии частей испытуемого двигателя, в частности, подшипниковых узлов.
Данная проверка дает возможность обнаружить некоторые нарушения при ремонте, а именно:
- увеличение тока и потерь холостого тока выше нормы может быть вызвано укладкой в пазы меньшего числа витков или недобором листов при перешихтовки стали сердечника, или аксиальным (осевым) смещением ротора по отношении к статору;
- увеличение тока холостого тока при нормальных потерях холостого хода может быть следствием увеличенного воздушного зазора;
- нормальный ток холостого при увеличенных потерях холостого хода может быть из-за механических причин: при повышенном трении в подшипниках, при неправильной посадке вентиляторов и т. д.
При испытании измеряется ток статора в каждой фазе, потребляемая мощность и подводимое линейное напряжение. Неравномерность тока холостого хода по отдельным фазам не должна превосходить 4,5 % их среднего значения.
3.1.10 Определение тока и потерь короткого замыкания. Этот режим следует выполнять при симметричном трехфазном напряжении 100 В и номинальной частоте 50 Гц, при этом замеряются токи и мощности в трёх фазах (по ГОСТ 7217). При проведении испытания ротор испытуемого двигателя должен быть заторможен с помощью приспособления для торможения вала.
Данная проверка позволяет определить качество пайки в обмотке статора, а также выявить дефекты беличьих клеток короткозамкнутых роторов. По результатам испытаний можно также определить пусковой ток и начальный пусковой момент электродвигателя.
3.1.11 Провести испытание междувитковой изоляции обмоток статора на электрическую прочность, путем включения электродвигателя на напряжение, превышающее на 30 % номинальное (494 В) в течение 5 мин. Испытание проводить на холостом ходу электродвигателя.
3.1.12 Проверить частоту вращения двигателя под нагрузкой при номинальном напряжении. Допускаемое отклонение частоты вращения от номинальной (1450 об/мин для НВА-55) не должно превышать ±6 %.
3.1.13 Испытать электрическую прочность изоляции обмоток статора. Испытания обмоток проводить относительно корпуса и между фазами напряжением 1,76 кВ с частотой 50 Гц в течение 1 мин. на установке А2373.02.00.
Испытание начинается напряжением, составляющим 1/2 от полного значения испытательного напряжения. Далее плавно или ступенями, не превышающими 5 % полного значения, напряжение доводится до требуемой величины. После выдержки напряжения в течение 1 мин. оно плавно снижается до 1/3 полного значения и отключается.
Изоляция обмотки считается выдержавшей испытание, если во время испытания не произошло пробоя изоляции, что обнаруживается по падению напряжения в цепи испытательного трансформатора, повышению потребляемого тока, появлению разрядов, искр и дыма.
3.2 Испытания тягового электродвигателя
Каждый выпускаемый из ремонта тяговый двигатель по окончании всех работ подвергается приёмо-сдаточным.
Испытания тяговых двигателей выполнять на нагрузочной (испытательной) станции электрических машин электровозов переменного тока.
На нагрузочной станции принята классическая схема испытания двух тяговых двигателей методом взаимной нагрузки со статическими линейным и вольтодобавочным преобразователями.
Испытания выполнять в соответствии с положениями раздела 7 «Правил ремонта электрических машин электроподвижного состава» ЦТ-ЦТВР/4782, ГОСТ 2582-2013 и ГОСТ 11828-86.
Испытания тягового двигателя после производства ТР-3 включают в себя:
- визуальный осмотр и проверку качества сборки тягового двигателя;
- измерение активного сопротивления обмоток;
- измерение сопротивления изоляции обмоток тягового двигателя в холодном состоянии;
- испытание тягового двигателя на холостом ходу с проверкой его вибрации;
- испытание тягового двигателя на нагревание под нагрузкой;
- проверку частоты вращения и температуры нагрева обмоток;
- проверку коммутации тягового двигателя;
- испытание на повышенную частоту вращения в течение 2 мин.;
- измерение сопротивления изоляции обмоток тягового двигателя в нагретом состоянии;
- испытание электрической прочности изоляции обмоток тягового двигателя.
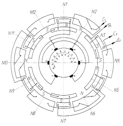
3.2.1 Установить тяговый двигатель на площадку для проверки на холостом ходу. Осмотреть и проверить качество сборки ТЭД, правильность соединений обмоток (рисунок 3.1), состояние и крепление межкатушечных соединений и выводных кабелей, маркировку выводных кабелей.
Провернуть якорь вручную и проверить отсутствие стука, заеданий или касания деталей в подшипниковых узлах.
На рисунке 3.1 приведена схема соединения полюсных катушек НБ-514Б.
Рисунок 3.1 – Схема соединения полюсных катушек НБ-514 (вид со стороны коллектора) [1]
3.2.2. Измерить активное сопротивление цепей обмоток главных, добавочных полюсов, компенсационных обмоток и обмотки якоря.
3.2.2.1 Сопротивление цепи катушек главных полюсов при температуре 20 оС должно быть равным (0,007060,000353) Ом. Сопротивление цепи катушек добавочных полюсов и компенсационных обмоток при тех же условиях должно быть равным (0,01320,00066) Ом.
Измерения выполнять мостом постоянного тока Р3009 или другим прибором, выполняющим аналогичные функции. В первом случае подключение прибора осуществлять к клеммам С1, С2 коробки выводов (рисунок 3.1), во втором случае – один вывод прибора подключить к клемме Д2 коробки выводов, другой вывод прибора – к выводу компенсационной обмотки N1.
При заниженном значении измеренного активного сопротивления цепей полюсов и компенсационных катушек остова проверить полюсные и компенсационные катушки на межвитковое замыкание в соответствии с п. 3.2.3.
При необходимости следует измерить активные сопротивления отдельных катушек, которые при температуре 20 оС должны быть равными:
- главного полюса – 0,00702 Ом;
- добавочного полюса и компенсационной обмотки – 0,01322 Ом;
3.2.2.2 Следует иметь ввиду, что у якоря данного тягового двигателя при 348 коллекторных пластин, число пазов – 87, а тип обмотки петлевой.
Для измерения активного сопротивления обмотки якоря следует отсчитать 87 коллекторных пластин и отметить мелом на петушках первую и последнюю пластины. Далее приложить к ним щупы измерительного моста постоянного Р3009 или другого аналогичного прибора.
Активное сопротивление обмотки якоря при 20 оС должно быть равным (0,01120,00056) Ом. Завышенное измеренное сопротивление указывает на возможное увеличение переходного сопротивления в месте приварки концов секций к петушкам коллектора. Заниженное сопротивление указывает на возможное межвитковое замыкание секций обмотки якоря. Сопротивление, равное нулю, указывает на обрыв витков обмотки якоря или нарушение приварки секций в петушках коллектора.
3.2.3 При необходимости, в случае заниженного значения измеренного активного сопротивления цепей полюсов и компенсационных катушек остова, проверить катушки полюсов и компенсационной обмотки на отсутствие или наличие межвитковых замыканий и на определение места пробоя изоляции. Проверку следует производить на установке УКИ.271.01.
3.2.4 Измерить сопротивление изоляции обмоток тягового двигателя в холодном состоянии. Допустимое наименьшее значение сопротивления изоляции должно быть не менее 1,5 МОм. Измерение следует производить мегаомметром на 2500 В. При этом один щуп мегаомметра присоединить к соединённым между собой выводам начала и конца каждой цепи обмоток (цепь главных полюсов, цепь якоря, добавочных полюсов и компенсационных обмоток), а другой щуп к остову тягового двигателя (к резьбе отверстия в остове).
После измерения сопротивления изоляции снять емкостные заряды с измеряемых цепей изолированным проводником, прикладывая один конец проводника к измеряемой цепи, а другой к «земле».
3.2.5 Произвести испытание тягового двигателя на холостом ходу с проверкой его вибрации.
Проверку работы тягового двигателя осуществлять в течение 10 мин. на холостом ходу при вращении якоря в одну, а затем в другую сторону при номинальной частоте вращения 905 об/мин.
При этом к выводам испытуемого ТЭД С1, С2, Я1, Д2 (рисунок 3.1) подсоединить провода от клеммовой колонки согласно обозначениям на колонке. Переключение направления вращения осуществлять пересоединением выводов испытуемого ТЭД к источнику питания.
Измерение числа оборотов вращения якоря выполнять дистанционным тахометром.
Шумы в подшипниках должны быть ровными без стука и скрежета.















