ПЗ Пташкограй А.И. (1229904), страница 5
Текст из файла (страница 5)
На рисунке 2.2 представлен общий вид ТЭД НБ-514Б.
Рисунок 2.2 – Тяговый двигатель НБ-514Б [15]: 1 – МОП; 2 – сердечник дополнительного полюса; 3 – катушка дополнительного полюса; 4 – катушка главного полюса; 5 – катушки компенсационной обмотки; 6 – сердечник главного полюса
Тяговый двигатель НБ-514Б в соответствии с рисунком 2.2 состоит из моторно-осевых подшипников и в соответствии с рисунком 2.3 – из остова, траверсы, подшипниковых щитов и якоря.
На рисунке 2.3 представлен продольный разрез ТЭД НБ-514Б.
Рисунок 2.3 – Продольный разрез тягового двигателя НБ-514Б [15]: 1 – остов; 2 – траверса; 3, 5 – подшипниковые щиты; 4 – якорь
Остов стальной литой цилиндрической формы является одновременно магнитопроводом и корпусом. К нему крепятся шесть главных и шесть добавочных полюсов, щиты с роликовыми подшипниками, в которых вращается якорь. Со стороны коллекторной камеры в остове имеется вентиляционный люк, через который входит охлаждающий воздух. С противоположной стороны в остове имеется люк и привалочные поверхности для крепления кожуха, образующего патрубок для выхода вентилирующего воздуха. Также в остове предусмотрены два люка для осмотра коллектора и щеточного аппарата. С торцов остов имеет горловины с привалочными поверхностями для установки подшипниковых щитов.
Главные полюса крепятся к остову тремя болтами М30, добавочные – тремя болтами М16. Для предохранения от самоотвинчивания под головки болтов установлены пружинные шайбы.
Соединения компенсационных катушек между собой и с катушками добавочных полюсов, а также катушек главных полюсов и добавочных полюсов выполнены пайкой. К остову межкатушечные соединения прикреплены скобами.
Концы обмоток через резиновые втулки выведены в коробку выводов. Присоединительные зажимы закреплены на опорных изоляторах (пальцах). Коробка выводов закрывается стеклопластиковой крышкой и уплотняющими резиновыми клицами.
Главный полюс состоит из катушки, сердечника и деталей крепления. Сердечник выполнен шихтованным из штампованных листов электротехнической стали и стянут заклёпками. Каждый сердечник имеет восемь пазов открытой формы, предназначенных для размещения катушек компенсационной обмотки.
Катушка главного полюса имеет девять витков намотанной на ребро мягкой медной шины. К крайним виткам катушки припаяны выводы из гибкого медного провода. Корпусная изоляция состоит из слюдинитовой ленты, междувитковая – из бумаги асбестовой электроизоляционной.
Крепление катушки на сердечнике полюса производится при помощи алюминиевых планок, клиньев и регулировочных прокладок. Стопорение планки и клина обеспечено упорами и отогнутым усом. На поверхности катушки, прилегающей к остову, приклеены прокладки из электронита. Это обеспечивает предохранение изоляции катушки от повреждений и плотное зажатие катушки между наконечником полюса и остовом. Полюс с установленной на нем катушкой пропитан в эпоксидном компаунде, и после выпечки представляет собой единый монолитный блок.
Добавочный полюс состоит из катушки и сердечника. Сердечник полюса выполнен по высоте из двух частей, изготовленных из стального листа. На часть сердечника, расположенную со стороны якоря, крепятся латунные наконечники, устанавливается катушка и закрепляется алюминиевыми планками, выполняющими одновременно роль второго воздушного зазора.
Катушка добавочного полюса имеет пять витков намотанной на ребро мягкой медной шины. К крайним виткам припаяны выводы из гибкого медного провода. Корпусная изоляция состоит из слюдинитовой ленты, междувитковая – из бумаги асбестовой электроизоляционной. Катушка с полюсом пропитана в эпоксидном компаунде, и после выпечки представляет собой единый монолитный блок.
Компенсационная обмотка состоит из шести отдельных катушек, в каждой из которых по семь витков мягкой медной проволоки. Корпусная и междувитковая изоляция выполнены из слюдинитовой ленты, покровная из ленты стеклянной. От механических повреждений изоляция катушек защищена пазовой изоляцией. Выводы катушек – шунты из гибкого медного провода. Катушки уложены в пазы сердечников главных полюсов и закреплены в них клиньями из профильного стеклопластика.
Якорь состоит из сердечника, вала, коллектора и обмотки, уложенной в пазы сердечника. Сердечник посажен на втулку вала якоря и состоит из штампованных листов электротехнической стали. Сердечник зажат с одной стороны задней нажимной шайбой, с другой – втулкой коллектора. В сердечнике имеются пазы открытой формы для размещения обмотки и аксиальные отверстия для прохода вентилирующего воздуха. В пазах сердечника обмотка якоря закреплена клиньями из профильного стеклопластика, в лобовых частях – стеклобандажом. Катушки якоря и уравнители выполнены из изолированного обмоточного провода. Корпусная изоляция катушек якоря выполнена из слюдинитовой ленты. Для обеспечения влагостойкости изоляции и увеличения срока её службы обмотка якоря пропитана в эпоксидном компаунде. На выступающем конце втулки якоря имеется резьба для установки гайки крепления коллектора. Наличие втулки якоря обеспечивает возможность выпрессовки и замены вала без полной разборки якоря.
Вал якоря имеет плавные переходы от одного диаметра к другому. Концы вала заканчиваются конусами для посадки шестерен зубчатой передачи. На торцах вала имеется внутренняя резьба для ввинчивания рым-болта для транспортировки якоря и установки специальной гайки для гидравлического снятия шестерни.
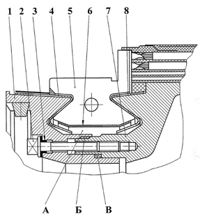
Коллектор в соответствии с рисунком 2.4 состоит из нажимного конуса, скрепляющих болтов с уплотняющими шайбами, изоляционных манжет, комплекта медных и изоляционных пластин, изоляционного цилиндра и втулки коллектора.
Рисунок 2.4 – Коллектор [15]: 1 – нажимной конус; 2 – скрепляющий болт; 3 – уплотняющая шайба; 4, 8 – изоляционные манжеты; 5 – комплект медных и изоляционных пластин; 6 – изоляционный цилиндр; 7 – втулка коллектора; А – коллекторная камера; Б, В – уплотнительные замки
Медные пластины коллектора изолированы друг от друга изоляционными прокладками, а от втулки и нажимного конуса – изоляционными манжетами и цилиндром. Для обеспечения герметичности коллекторной камеры А в коллекторе имеются два уплотнительных замка Б и В, которые заполнены уплотнительной замазкой. На втулку якоря коллектор посажен с натягом и дополнительно закреплён гайкой.
Подшипниковые узлы ТЭД в соответствии с рисунком 2.5 состоят из подшипниковых щитов, колец, крышек подшипника, лабиринтных колец, внутренних втулок и крышки.
На рисунке 2.5 представлен общий вид подшипниковых щитов остова ТЭД НБ-514Б
Рисунок 2.5 – Подшипниковые узлы ТЭД НБ-514Б [15]: а – со стороны коллектора; б – со стороны, противоположной коллектору; 1, 8 – подшипниковые щиты; 2 – уплотнительные кольца; 3 – подшипниковые крышки; 4 – лабиринтные кольца; 5, 6 – внутренних втулок; 7 – внутренней крышки
Подшипниковые щиты стальные, имеют гнезда для установки наружных колец подшипников, посадочные поверхности по наружному контуру для запрессовки щитов в остов и фланцы с отверстиями для крепления щитов болтами к остову. Во фланцах имеются четыре отверстия с резьбой для выжимных болтов, с помощью которых щиты выпрессовываются из остова при разборке ТЭД. С наружной стороны на подшипниковых щитах имеются бобышки с резьбой для крепления кожухов зубчатых передач и камеры для сбора отработанной смазки. В подшипниковом щите со стороны коллектора имеются два люка для проверки состояния крепления шинных соединений и замены пальцев кронштейнов щеткодержателей под электровозом. Подшипниковый щит со стороны, противоположной коллектору, имеет окна для выхода вентилирующего воздуха и тягового двигателя. В остов подшипниковые щиты установлены с натягом и закреплены болтами с пружинными шайбами.
Якорные подшипники – радиальные, однорядные с короткими цилиндрическими роликами, средней серии. Для смазывания подшипников используется смазка Буксол. Добавление смазки производится через трубки, ввинченные в отверстия подшипниковых щитов, которые сообщаются с подшипниковыми камерами. Внутренние кольца подшипников с натягом установлены на вал якоря и в осевом направлении зафиксированы на валу втулками и кольцом. Наружные кольца подшипников установлены в гнезда подшипниковых щитов и закреплены в осевом направлении крышками. Последние крепятся к подшипниковым щитам болтами. В конструкции подшипниковых узлов предусмотрены уплотняющие устройства, защищающие якорные подшипники от проникновения смазки из кожухов зубчатой передачи и утечки смазки из подшипниковых камер.
2.4.2 Анализ устройства асинхронного электродвигателя НВА-55
Электродвигатель НВА-55 – асинхронный, трёхфазный, с короткозамкнутым ротором, предназначен для привода вентиляторов охлаждения электрооборудования электровоза, привода главных компрессоров, а также для использования в качестве пускового двигателя [6, 17].
В таблице 2.3 приведены технические характеристики асинхронного электродвигателя НВА-55.
Таблица 2.3 – Технические характеристики асинхронного электродвигателя НВА-55
| Наименование номинального параметра | Показатель |
| 1 | 2 |
| Род тока | Трёхфазный |
| Напряжение симметричное (линейное), В | 380 |
| Мощность на валу, кВт | 55 |
| Ток линейный, А | 120 |
| Частота, Гц | 50 |
| Частота вращения (синхронная), об/мин | 1500 |
Окончание таблицы 2.3
| 1 | 2 |
| КПД, % | 90,2 |
| Коэффициент мощности | 0,77 |
| Режим работы по ГОСТ 2582-81 | Продолжительный или повторно-кратковременный |
| Класс изоляции обмоток по ГОСТ 8865-93 | F |
| Масса, кг: исполнение IM 1001 | 385 |
| Соединение фаз обмотки | Y |
| Наибольшая частота вращения при испытаниях, об/мин | 1800 |
| Сопротивление фазы при 20 оС, Ом | 0,032÷0,037 |
Электродвигатель в соответствии с рисунком 2.6 выполнен защищённого исполнения, горизонтальной установки, с самовентиляцией. Состоит из следующих узлов: статора, ротора, двух подшипниковых узлов, коробки выводов.
Статор имеет станину 21, сердечник 10 и обмотку 8. Станина – сварная стальная включает два фланца 7 с приваренными рёбрами 9 и обшивку 11. Сердечник набран из изолированных листов электротехнической стали. В открытые пазы сердечника уложена двуслойная обмотка из прямоугольного изолированного провода. Обмотка статора пропитана эпоксидным компаундом.
Рисунок 2.6 – Электродвигатель НВА-55: 1 – уплотнительное кольцо; 2 – роликовый подшипник №315; 3, 16 – наружная крышка подшипникового щита; 4, 17 – внутренняя крышка подшипникового щита; 5 – маслопровод; 6 –защитная сетка подшипникового щита; 7 – фланец станины; 8 – обмотка статора; 9 – ребро жёсткости станины; 10 сердечник статора; 11 – обшивка станины; 12 вал ротора; 13 – сердечник ротора; 14, 20 – подшипниковые щиты; 15 – шариковый подшипник; 18 – коробка выводов; 19 – болт заземления; 21 – станина; 22 – стопорное кольцо
















