ПЗ (1229448)
Текст из файла
ABSTRACT
The main purpose of the graduation project is the modernization of the skid unit of the diesel locomotive 2TE10. The design of the axle box and its malfunction is considered, a new technology of repair of the axle unit is developed. Calculation of the cost of repair taking into account modernization is made.
The graduation project consists of 9 A1 format drawings, 73 pages of an explanatory note.
СОДЕРЖАНИЕ
| ВВЕДЕНИЕ………………………………………………….………………….. | 8 | |||
| 1 АНАЛИЗ КОНСТРУКЦИИ БУКСОВОГО УЗЛА……………………… | 10 | |||
| 1.1 Конструкция буксового узла тепловоза 2ТЭ10……………………...… | 10 | |||
| 1.2 Конструкция буксового узла тепловоза 2ТЭ25К…………………….... | 14 | |||
| 2 АНАЛИЗ НЕИСПРАВНОСТЕЙ БУКСОВОГО УЗЛА………………….. | 17 | |||
| 2.1 Основные неисправности буксового узла …………………………..… | 17 | |||
| 2.1.1 Роликовые подшипники……………………………..…….........… | 17 | |||
| 2.1.2 Корпус буксового узла…………………….……………………… | 18 | |||
| 2.1.3 Задняя крышка……………………………………………….…… | 20 | |||
| 2.1.4 Передняя крышка………………………………………….…..….. | 21 | |||
| 2.1.5 Лабиринтное кольцо………………………………………………. | 22 | |||
| 2.2 Анализ неисправностей буксового узла тепловоза 2ТЭ10…………… | 24 | |||
| 3 МОДЕРНИЗАЦИЯ БУКСОВОГО УЗЛА ТЭ10 С ЦЕЛЬЮ ПОВЫШЕНИЯ ЕГО НАДЕЖНОСТИ………………………..…………….. | 25 | |||
| 4 ОРГАНИЗАЦИЯ ПРОЦЕССА РЕМОНТА БУКСОВОГО УЗЛА ТЭ10 С УЧЕТОМ МОДЕРНИЗАЦИИ НА УЛРЗ ……………………….…. | 30 | |||
| 4.1 Организация работ в колесном цехе УЛРЗ…………………………… | 30 | |||
| 4.1.2 Состав, квалификация рабочих на участке сборки букс………. | 34 | |||
| 4.2 Организация работ на участке разборки, сборки букс на УЛРЗ….…. | 34 | |||
| 4.3 Расчет фондов рабочего времени…………………………………….… | 39 | |||
| 4.4 Программа ремонта УЛРЗ для букс за год………………………….…. | 41 | |||
| 4.5 Организация производственного процесса для существующего участка по ремонту букс………………………………………………….... | 42 | |||
| 4.6 Организация производственного процесса для участка с учетом модернизации………………………………………………………………….. | 46 | |||
| 4.6.1 Расположение оборудования…………………………………….. | 46 | |||
| 4.6.2 Построение ленточного графика с учетом модернизации……. | 47 | |||
| 4.7 Построение календарного плана графика с учетом модернизации….. | 49 | |||
| 5 БЕЗОПАСНОСТЬ ТРУДА ПРИ РЕМОНТЕ БУКС……….……………. | 52 | |||
| 5.1 Анализ технологии ремонтных работ с точки зрения БЖД…….….. | 53 | |||
| 5.1.1 Технология ремонта буксового узла………………………….…. | 53 | |||
| 5.1.2 Безопасность труда при работе с ручным и механизированным инструментом…………………………………………………....... | 54 | |||
| 5.1.3 Безопасность труда при работе с грузоподъемными механизмами…………………………………………………………………….... | 55 | |||
| 5.2 Обеспечение безопасности во время работы………………………..... | 58 | |||
| | 5.3 Обеспечение безопасности в аварийных ситуациях……………….…. | 63 | ||
| 6 РАСЧЕТ ЭКОНОМИЧЕСКОЙ ЭФФЕКТИВНОСТИ ОТ ВНЕДРЕНИЯ НОВОЙ ТЕХНОЛОГИИ РЕМОНТА……………………... | 64 | |||
| ЗАКЛЮЧЕНИЕ.................................................................................................. | 72 | |||
| Список использованных источников……………………..………...……… | 73 | |||
| Уменьшенные копии демонстрационных листов………………………… | 75 | |||
ВВЕДЕНИЕ
Надёжность тепловоза, определяемая совершенством его конструкции и технологией изготовления, в процессе эксплуатации постепенно снижается вследствие изнашивания трущихся деталей, коррозии, усталости металла, старения материалов и других вредных процессов. Они вызывают повреждения, устранение которых становится необходимым для безотказной работы тепловоза.
Техническое обслуживание и ремонт тепловоза, как и всякой машине, объективная необходимость, вызываемая техническими, эксплуатационными и экономическими причинами.
Локомотивный парк железной дороги России состоит из электровозов, тепловозов, дизель поездов, электропоездов и другого мелкого железнодорожного транспорта.
В связи с прекращением поступления новых локомотивов, тепловозный и электровозный парк стареет. Средний срок службы тепловозов 23 года. Анализ показывает, что выработавшие ресурс локомотивы отказывают в пути в два раза чаще, чем новые.
Для сохранения долговечности тепловоза необходимы продуманная система технического обслуживания и ремонта, оснащённая современными средствами ремонтная база, новейшая технология восстановления деталей, квалифицированный обслуживающий и ремонтный персонал.
Буксовый узел один из основных элементов ходовой части подвижного состава, он служит для передачи различных сил между колесной парой и рамой тележки. Поскольку буксовый узел является одним из ответственных узлов подвижного состава, она нуждается в тщательном и профессиональном техническом обслуживании, освидетельствовании и ремонте. Современные тенденции увеличения межремонтных пробегов подвижного состава требуют совершенствования технологии ремонта, в том числе и букс.
В данном дипломном проекте необходимо проанализировать работу участка по ремонту букс в колёсном цехе Уссурийского ЛРЗ и предложить методы усовершенствования ремонта букс.
Цель дипломного проекта: модернизировать буксовый узел тепловоза 2ТЭ10 и внедрить в производственный процесс на УЛРЗ. Проанализировать конструкцию буксового узла тепловоза 2ТЭ10, конструкцию буксового узла тепловоза 2ТЭ25. Выявить неисправности узла, сделать анализ неисправностей за последние годы. Проанализировать организацию работ на участке по ремонту букс. Разработать рациональную организацию работ на участке, технологический процесс ремонта букс, вопросы по БЖД на участке. Обосновать с точки зрения экономики данную модернизацию.
1 АНАЛИЗ КОНСТРУКЦИИ БУКСОВОГО УЗЛА
1.1 Конструкция буксового узла тепловоза 2ТЭ10
Буксовый узел служит для передачи различных сил между колесной парой и рамой тележки. К этим силам относятся: силы тяги и торможения, поперечныесилы от набегания на рельс, так же поперечные и продольные перемещения колесной пары относительно рамы тележки. На буксовый узел действуют следующие факторы: тормозные и продольные тяговые усилия 25 кН, вертикальные статические нагрузки 94 – 100 кН, удары колес на стыках, вызывающие ускорение буксовых узлов и рамные усилия до 50 – 75 кН. При движении тепловоза статические и вертикальные нагрузки могут возрасти в 1,5 раза. Буксовый узел обеспечивает безопасность движения и благодаря своей конструкции эксплуатационную долговечность подшипников не менее 2,5 миллионов километров пробега. Рассмотрим конструкцию буксового узла тепловоза ТЭ10 и его особенности.
На рисунке 1.1 представлен буксовый узел тепловоза ТЭ10.
Рисунок. 1.1 – Буксовый узел тепловоза ТЭ10
На рисунке 1.1 имеются следующие обозначения: а – букса крайней колесной пары; б – осевой упор средней колесной пары; 1 – лабиринтное кольцо; 2 – стопорный болт; 3 – шайба; 4 – задняя крышка; 5, 20 – шнуры; 6 – роликоподшипник; 7 – корпус буксы; 8, 9 – дистанционные кольца; 10, 12 – стопорные кольца; 11 – кронштейн; 13 – упорный подшипник; 14 – амортизатор; 15 – передняя крышка; 16 – пружина; 17 – упор; 18 – проволока; 19, 22 – болты; 21 – коническая пробка; 23 – поводок.
Корпус буксы 7 двумя поводками 23 соединен с рамой тележки. Корпус буксы и рама соединяются с валиками поводков с помощью клиновых соединений. Пружины рессорного подвешивания тележки, принимающие вертикальные усилия, устанавливаются на два боковых опорных кронштейна, которые находятся по бокам корпуса буксового узла.
В корпусе буксы 7 в пространстве между задней крышкой 4 и передней 15 размещен блок из двух роликовых подшипников 30-32532 Л1М (160х290х80 мм) с дистанционными кольцами 8 и 9 между ними. Радиальный зазор между подшипниками равен не более 0,03 миллиметра, что, в свою очередь, повышает срок службы данных подшипников. Кроме того, строение корпуса буксового узла сделано специально так, чтобы более равномерно распределять нагрузки между роликами и увеличить число роликов, находящихся в рабочей зоне, а именно, увеличена толщина верхней части корпуса.
На предподступичную часть оси до упора в галтель надевают с натягом лабиринтное кольцо 1. Температура нагрева лабиринтного кольца составляет 120 – 150 оС. Лабиринтное кольцо образует с задней крышкой 4 четырехкамерное уплотнение буксы. Внутренние кольца подшипников устанавливаются на шейку оси с натягом 0,035 – 0,065. Дистанционное кольцо 9, нагревается в специальном масле до температуры 100 – 120 оC и устанавливается так же на шейку оси колесной пары. Стопорное кольцо 10 предотвращает сползание с шейки оси колесной пары внутренних колец подшипников.
Осевой упор одностороннего действия устанавливается в передней крышке 15 через упорный шарикоподшипник 8320 (100х170х55 миллиметра), кольца которого установлены на упоре 17 с натягом 0,003 – 0,016 миллиметра и на торцевой проточке оси. Упор 17 пружиной 16 прижимается с усилием около 2 кН к торцу шейки оси колесной пары, благодаря этому предотвращается раскрите упорного подшипника. Стопорное кольцо 12, при снятии крышки 15, удерживает осевой упор. Амортизатор 14 находится между осевым упором и крышкой, представляющий собой две металлические пластины толщиной 2 мм с привулканизированным к ним резиновым элементом. В буксовых узлах средних колесных пар нет амортизатора, в связи с чем появляется свободный осевой разбег 14 миллиметров, равный толщине этого амортизатора. Гаситель колебаний крепится к кронштейну, который приварен на передней крышке буксы.
Знаки на буксовых узлах «КР» и «СР» позволяют отличать буксы средних и крайних колесных пар, они наносятся на передней крышке букс. Стопорный больт 2, который предотвращает сползание буксы с шейки оси при снятой колесной паре с тепловоза, установлен на задней крышке буксы.
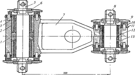
Рассмотрим устройство поводка буксы и его особенности, представленного на рисунке 1.2.
Рисунок. 1.2 – Поводок буксы
На рисунке 1.2 имеются следующие обозначения: 1 – полукольцо; 2, 13 –металлические втулки; 3, 12 – резиновые втулки; 4 – штифт; 5 – рамный валик; 6 – полукольцо; 7 – корпус; 8 – буксовый валик; 9 – шайба; 10 – резиновый элемент; 11 – кольцо.
Характеристики
Тип файла документ
Документы такого типа открываются такими программами, как Microsoft Office Word на компьютерах Windows, Apple Pages на компьютерах Mac, Open Office - бесплатная альтернатива на различных платформах, в том числе Linux. Наиболее простым и современным решением будут Google документы, так как открываются онлайн без скачивания прямо в браузере на любой платформе. Существуют российские качественные аналоги, например от Яндекса.
Будьте внимательны на мобильных устройствах, так как там используются упрощённый функционал даже в официальном приложении от Microsoft, поэтому для просмотра скачивайте PDF-версию. А если нужно редактировать файл, то используйте оригинальный файл.
Файлы такого типа обычно разбиты на страницы, а текст может быть форматированным (жирный, курсив, выбор шрифта, таблицы и т.п.), а также в него можно добавлять изображения. Формат идеально подходит для рефератов, докладов и РПЗ курсовых проектов, которые необходимо распечатать. Кстати перед печатью также сохраняйте файл в PDF, так как принтер может начудить со шрифтами.
















