Диплом Жучков Д.А. (1225009), страница 11
Текст из файла (страница 11)
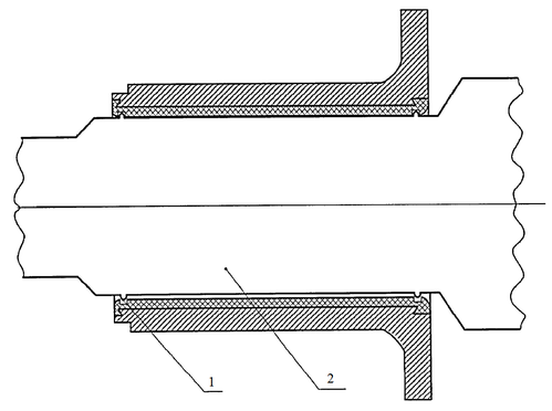
Рисунок 4.21 – Изменение зазора «на масло» в моторно-осевых подшипниках электровозов: 1 – моторно-осевых подшипников с латунными корпусами; 2 – моторно-осевых подшипников со стальными корпусами
Ростовский ЭРЗ в настоящее время выпускает серийно МОП со стальными корпусами и баббитовой заливкой, устанавливая их на электровозы при капитальном ремонте.
4.5 Внедрение ультразвуковой дефектоскопии в литейные цеха депо
Наиболее часто в эксплуатации происходит задир моторно-осевых подшипников (рисунок 4.20) [6]. При этом причиной задиров могут быть различные факторы – от недостатка и загрязненности смазки, установки на ось не подогнанных по размеру подшипников, а иногда даже необработанных заготовок до несоответствия бронзы по химическому составу.
Рисунок 4.20 – Задиры в бронзовом слое моторно-осевых подшипников локомотивов
Относительно реже встречаются случаи разрушения МОП в эксплуатации. Как правило, разрушаются половинки МОП, имеющие польстерные окна, и трещины идут от польстерного окна к торцу МОП, особенно если в этих зонах находятся концентраторы напряжений в виде пор или других литейных дефектов либо грубой механической обработки. Так в депо Агрыз характерно огромное количество литейных пор (рисунок 4.22), в том числе и сквозных, при наличии которых данный подшипник по всем нормативным документам нельзя было устанавливать в эксплуатацию.
Рисунок 4.22 – Излом моторно-осевых подшипников из-за большого количества крупных газовых пор
Причиной образования такого количества литейных пор явилось захолаживание бронзы при отливке и нераскисление ее фосфором.
В дипломном проекте предлагается оснастить литейные цеха ультразвуковым дефектоскопом для проверки новых вкладышей МОП после их отливки. В качестве ультразвукового прибора использовать прибор марки TUD300 представленный на рисунке 4.23 [7].
Рисунок 4.23 – Ультразвуковой прибор марки TUD300 [7]
Ультразвуковой дефектоскоп TUD300 обладает следующими особенностями [7]:
- два способа отображения измерений на дисплее: тип А и тип В;
- три режима обнаружения: совмещенный, раздельно-совмещенный и трансмиссия;
- 10 каналов обнаружения доступны с отдельными параметрами обнаружения и кривыми DAC;
- функция автоусиления;
- контроль и отображение значений эквивалента эха с учетом различных кривых DAC;
- горизонтальные координаты на дисплее изменяются между отрезками звукового пути;
- функция памяти пика;
- во время построения кривой DAC, точки кривой могут повторно редактироваться.
Технические характеристики ультразвукового дефектоскопа TUD300 приведены в таблице (4.4) [7].
Таблица 4.4 — Технические характеристики ультразвукового дефектоскопа TUD300
| Наименование параметра | Значение |
| 1 | 2 |
| Диапазон сканирования, мм | 2,5-5000 |
| Диапазон усиления, дБ | 0-110 |
| D-Delay (сдвиг импульса), мкс | минус 20 до плюс 3400 |
| Р-Delay (задержка датчика), мкс | 0-99,99 |
| Диапазон перестройки скорости УЗК, м/с | 1000-9999 |
| Диапазоны частот, МГц: | 0,2-15 |
| - низкие | 0,2-1 |
| - средние | 0,5-4 |
Окончание табл. 4.4
| 1 | 2 |
| - высокие | 3-15 |
| Вертикальная линейная погрешность, % | 3 |
| Горизонтальная линейная погрешность, % | 2 |
| Динамический диапазон, дБ | 32 |
| Детектирование | положительная полу-волна, отрицательная волна, полная волна и RF (радиочастота) |
| Чувствительность обнаружения, дБ | 50 |
| Режим | эхо-метод, раздельно-совмещенный, сквозной |
| Генератор импульсов | генератор пикового возбуждения |
| Демпфирование, Ом | 50, 150, 400 |
| Подавление | линейный, 0-80 % полной высоты дисплея, шаг 1 % |
| Переключение единиц измерения | мм или дюймы |
| Интерфейс | RS-232 |
| АС Адаптер | 85 - 264 В переменный ток/ 1,0 А, 47 - 63 Гц |
| Диапазон рабочих температур, оС | 0-40 |
| Влажность, % RH | 20-90 |
| Аккумуляторы | литиевые аккумуляторы 4×3,6 В, 4000 мА |
| Время зарядки аккумуляторов, час | 7 |
| Габаритные размеры, мм | 243×173×70 |
| Масса, кг | 1,47 |
4.6 Способ восстановления МОП
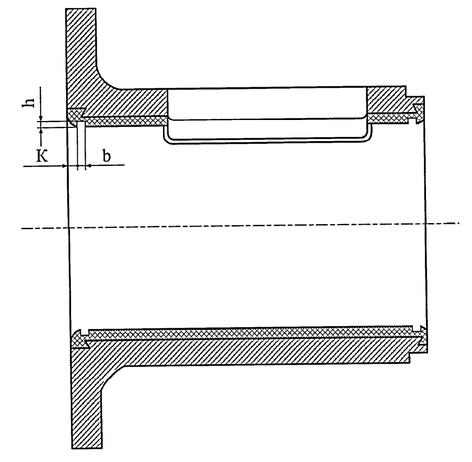
Предлагаемый способ заключается в том, что дополнительно при механической обработке внутри моторно-осевого подшипника, после его расточки под диаметр шейки оси колесной пары, изготавливать кольцевые канавки по краям МОП на расстоянии К от торцов, шириной канавки b и глубиной h (рисунок 4.6) [8].
Рисунок 4.24 – моторно-осевой подшипник с кольцевыми канавками по краям [8]
Величины размеров зависят от типа МОП. При работе моторно-осевого подшипника трения участки шейки оси колесной пары 2, лежащие в плоскостях канавок, практически изнашиваться не будут, и на шейке образуются кольцевые выступы 1 (рисунок 4.24).
Рисунок 4.25 – Схема размещения МОП относительно оси колесной пары [8] : 1 – выступы на шейках колесной пары; 2 – ось колесной пары
В результате формируется лабиринтное уплотнение. Расход масла через сопряжение становится меньше. С увеличением естественного износа рабочей зоны шейки оси колесной пары 2, образовавшиеся выступы на шейках становятся выше 1. И, как следствие этого, расход смазочных материалов еще больше уменьшается, что снижает негативное воздействие на окружающую среду, лабиринтное уплотнение повышает несущую способность масляного клина вкладыша, снижает износ МОП, повышая его ресурс, снижает вероятность попадания моторно-осевой смазки в кожуха зубчатой передачи тяговых двигателей, снижает вероятность попадания влаги и пыли в МОП.
5 БЕЗОПАСНОСТЬ ТРУДА РАБОТАЮЩИХ ПРИ ПРОИЗВОДСТВЕ РЕМОНТА КОЛЕСНО-МОТОРНОГО БЛОКА ЭЛЕКТРОВОЗА В
ОБЪЁМЕ ТР-3
5.1 Введение
Охрана труда – это система законодательных социально-экономических, организационных, технических, санитарно-гигиенических мероприятий по созданию условий, обеспечивающих безопасность, сохранение здоровья и работоспособности человека в процессе труда [10, 11].
Систему организационных и санитарно-технических средств, предотвращающих или уменьшающих воздействие на работающих вредных производственных факторов, представляет производственная санитария.
Вредными считаются, производственные факторы, воздействие которых на работающих в определенных условиях, приводит к заболеванию или снижению работоспособности.
Производственная санитария рассматривает вопросы санитарного благоустройства предприятий, улучшений условий труда, предупреждение профессиональных заболеваний и отравлений на производстве, а также охраны здоровья трудящихся.
Системой организационных и технических мероприятий и средств, предотвращающих воздействие на работающих опасных производственных факторов является техника безопасности.
К опасным относятся производственные факторы, воздействие которых на работающего в определенных условиях приводит к травме или другому внезапному ухудшению здоровья [12].
Мероприятия, предусматриваемые техникой безопасности, включают: улучшение технологических процессов; применение безопасной техники (машин, механизмов, устройств и т.п., сконструированных с учётом всех требований охраны труда); безопасных приемов работы; установку оградительных и блокирующих устройств, внедрение автоматической сигнализации, применение средств индивидуальной защиты и т.д.
Основные направления в области охраны труда [12]:
- предупреждение наездов подвижного состава на работающих путях станций и перегонов;
- совершенствование технологии, разработка новых технических средств, составление нормативно-технических документов по безопасности труба;
- предупреждение электротравматизма при эксплуатации и обслуживании электроустановок, контактной сети и электроподвижного состава железных дорог;
- улучшение условий труда работников железной дороги – разработка и внедрение средств, позволяющих довести параметры санитарно-гигиенических условий (шум и вибрация на рабочих местах, запылённость и загазованность воздушной среды, освещенность рабочих мест, температура в летний и зимний периоды, влажность воздуха) до уровня санитарных норм, разработка технических и гигиенический требований на новые виды спецодежды средств защиты для специфических профессий железнодорожников, организация производственных испытаний и массовое внедрение новых видов спецодежды;
- социально-экономические и организационные вопросы улучшения условий труда;
- экономическая и социальная оценка эффективности мероприятий по улучшению условий труда и разработка методов этой оценки;
- совершенствование организации работы по охране труба;
- оценка безопасности новой техники, поступающей на железнодорожный транспорт, разработка требований безопасности и методов оценки новой техники и технологии.
5.2 Анализ технологии производства работ с точки зрения Безопасности жизни деятельности и выявление опасных и вредных факторов
При ТО, ТР ТПС на работников могут воздействовать следующие основные опасные и вредные производственные факторы, установленные ГОСТ 12.0.003 [11]:
- движущийся подвижной состав и транспортные средства;
- движущиеся машины, механизмы, элементы подъёмно- транспортного и другого оборудования;
- перемещаемые изделия, заготовки и материалы;















