Организация ремонта и испытания колесных пар ЖДСМ на ДВЖД (1224680), страница 6
Текст из файла (страница 6)
В процессе эксплуатации муфты не требуют никакой регулировки. Следует лишь периодически контролировать износ дисков и щётки, а также чистоту масла.
Износ дисков не должен превышать 20% их первоначального веса. При большем износе диски необходимо заменить новыми.
Износ щётки контролируется по запасу хода, оставшегося у изношенной щётки. Если при повороте щёткодержателя (при вывёртывании) на один оборот контакт прерывается, щётку следует заменить новой.
4.2.3 Расчет привода бегунковой колесной пары
С учетом того, что на стенде планируется производить испытания не только тяговых тележек ССПС, и тележек бегунковых, поэтому необходимо разработать привод вращения бегунковой колесной пары.
Целью данного расчета является подбор электродвигателя и редуктора для передачи крутящего момента двигателя на приводной барабан.
Рисунок 21 - Геометрические и силовые параметры ременной передачи
Диаметр колеса бегунковой колесной пары равен 710мм(d2). Зададим диаметр приводного барабана (d1) равным 200мм.
Учитывая, что транспортная скорость составляет 80 км/ч поэтому определим количество оборотов которая должна сделать колесная пара при этой скорости.
Определим частоту вращения:
где Vтр – транспортная скорость, м/с
lкол – длина окружности колеса
Принимает стандартный размер колеса на СПС равный 710 мм
тогда :
Количество оборотов в минуту будет равно nоб=600 об/мин
Определим скорость ремня ν, м/с:
где dприв- диаметр приводного шкива,0,2м;
nном-частота вращения двигателя,25 об/сек.
Оптимальное межосевое расстояние определяем по формуле:
где а- межосевое расстояние ,мм,
dк.п- диаметр колесной пары, мм.
Определим длину ремня:
Находим окружную силу передаваемую ремнем:
где Pном – номинальная мощность двигателя, кВт
ν – скорость ремня, м/с
Определим площадь поперечного сечения ремня, мм2:
где δ – толщина ремня, мм;
b - ширина ремня, мм;
Принимаем прорезиненный ремень из аноидной ткани и капрона. Ширину ремня принимаем равной 100мм. Зададим толщину ремня равной 15мм.
Находим силу предварительного натяжения ремня, Н:
δ0 – предварительное напряжение, Н/мм2. Принимаем равным 2 Н/мм2;
Определим силу давления ремня на вал, Н:
где α1 – угол обхвата ремнем ведущего шкива, равный 1600
Определим передаточное число передачи:
где dбег.к.п- диаметр колесной пары;
dпр.бар-диаметр приводного шкива.
Рассчитаем общий коэффициент полезного действия (КПД) привода:
где ηЗП – коэффициент полезного действия закрытой передачи;
ηОП - коэффициент полезного действия открытой передачи;
ηМ - - коэффициент полезного действия муфты;
ηПК - коэффициент полезного действия подшипников качения;
ηПС - коэффициент полезного действия подшипников скольжения.
Определим мощность двигателя:
где Vоб – скорость колесной пары на стенде;
На основе полученных расчетов подбираем редуктор 1Ц2У-100, который соответствует всем требованиям по передачи крутящего момента от электродвигателя на приводной барабан.
Выбираем трехфазный асинхронный электродвигатель АИР132S4 мощностью 7,5 кВт и частотой вращения 1500об/мин.
Таблица 7-технические характеристики электродвигателя.
| Электродвигатель | Мощность | Об/мин | КПД,% | Масса, кг |
| АИР132S4 | 7,5 кВт | 1500 | 87,5 | 70 |
Рисунок 22- асинхронный электродвигатель АИР 132S4.
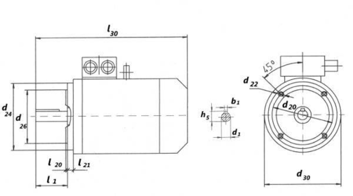
Таблица 8-габаритно-присоединительные размеры электродвигателя
IM 3681
| Эл-двигатель | Фланец | l30 | d24 | l1 | d1 | d20 | d22 | d25 | l21 | l20 | h5 | b1 | d30 | |
| ГОСТ | DIN | |||||||||||||
| АИР 132 S4 | FT130 | C160 | 505 | 160 | 80 | 38 | 130 | M8 | 110 | 15 | 3,5 | 41 | 10 | 255 |
| FT150 | C180 | 180 | 150 | M12 | 120 | 18 | 5,0 | |||||||
Таблица 9- Параметры редуктора 1Ц2У-100
Таблица 10 - Параметры редуктора 1Ц2У-100
| l1, мм | l2, мм | l3, мм | l4, мм | l5, мм | aωвых, мм | aωвх, мм | A1, мм | B1, мм | d, мм | S1, мм | S2, мм |
| 85 | 136 | 165 | 103 | 115 | 100 | 80 | 109 | 145 | 15 | 8 | 8 |
Рисунок 23 - Редуктор1Ц2У-100
4.3 Назначение систем вибрационного контроля, мониторинга и диагностики
В современной технической диагностике машин и оборудования использование сигналов является основой для решения как простых, так и самых сложных диагностических задач.
В порядке повышения сложности объектов диагностики первым направлением можно считать ультразвуковую дефектоскопию простейших деталей и конструкций. Она основана на анализе особенностей распространения вибрационных волн в зоне имеющихся в объекте диагностики дефектов. Вибрация создается специальным источником высокочастотных колебаний, являющимся частью дефектоскопа. Ультразвуковая дефектоскопия дает надежные результаты при входном и выходном контроле состояния заготовок и деталей, а также отдельных сварных швов и т.п. Проблемы возникают при диагностике собранных узлов, в которых имеют место многократные отражения и значительные потери высокочастотной вибрации, и, в первую очередь, в местах контакта соединяемых деталей. Технические средства ультразвуковой дефектоскопии используют, как правило, один источник ультразвуковой вибрации и один канал измерения отраженного сигнала.
Для оценки состояния вращающегося оборудования, являющегося источником колебательных сил и вибрации, как правило, применяются вибрационные методы функциональной диагностики. При этом используются самые разные технические средства, начиная от стетоскопов (слухачей) и кончая сложнейшими системами компьютерного анализа сигналов. Выбор конкретного типа прибора определяется поставленными задачами и основными практическими правилами виброакустической диагностики, которые формулируются следующим образом:
- зарождающиеся дефекты не могут быть источником существенной колебательной энергии и поэтому в состоянии заметно изменить вибрацию дефектного узла только на высоких частотах выше 3-5 кГц;















