Програма ремонта тележки ТГ-16М ПЗ (1224607), страница 12
Текст из файла (страница 12)
1
2
3
1-игольчатый подшипник; 2- упор 3- крестовина.
Рисунок 5.6 - Схема замера при подборе подшипников с крестовинами.
Подобранные подшипники и крестовины помечают чертилкой или кислотой. Вилки, фланцы, крестовины и подшипники собирают без установки уплотнения. При этом следят , чтобы бурты подшипников плотно прижимались к выточкам в вилках и фланцах. Специальным приспособлением измеряют суммарный зазор между торцами крестовин и упором подшипника. Он должен находиться в пределах 0,05-0,25 мм. Подобранные таким образом вилки, фланцы, крестовины, подшипники, маркируют и разбирают. На подшипники устанавливают уплотнения и завальцовывают. После этого вилки и фланцы собирают с крестовиной и подшипниками. Перед сборкой подшипники набивают смазкой ЦИАТИМ-203. Для предупреждения случаев заклинивания роликовых подшипников затяжку болтов крепления крышек к фланцам и вилкам производят моментом 19- 20кгс/м с помощью тарированного ключа. В противном случае при перетяжке гаек может уменьшиться радиальный зазор между иглами и цапфой крестовины, что приведёт к заклиниванию подшипника и выходу карданного вала из строя. По окончании сборки вилок последние сочленяют между собой. При этом шлицы смазывают смазкой УТВ1-13.
При сборке карданных валов обращают особое внимание на взаимное положение вилок. Они должны лежать в одной плоскости. После сборки карданные валы динамически балансируют. Для этой операции используют балансировочный станок (стенд). Устранение дисбаланса, который должен быть не более 150 гс/см, производят путём перемещения балансировочных грузов по пазам. После балансировки винты грузов завёртывают до упора, а пазы вилок возле торцов балансировочных грузов раскернивают рисунок 5.7.
1
7
3
4
5
6
2
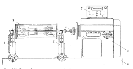
1 – задняя стойка; 2- передняя стойка; 3- приводная муфта; 4- измерительный пульт; 5- шпиндельная бабка; 6 – станина 7- оправка.
Рисунок 5.7 - Балансировочный станок
5.10 Установка карданных валов на тепловоз
-
установить карданный вал на тележку тепловоза. Отверстия под болты должны быть чистыми и сухими. Головки болтов должны плотно прилегать фланцам, зазоры не допускаются;
-
проушины вилок карданных валов на одной тележке должны находиться в одной плоскости;
-
после подкатки тележек под тепловоз соединить карданные валы с фланцами УГП. Карданные валы передней и задней тележек должны быть развернуты друг относительно друга на 900.
6 ОБЕСПЕЧЕНИЕ БЕЗОПАСНОСТИ РЕМОНТА БЕСЧЕЛЮСТНОЙ ТЕЛЕЖКИ В ОБЪЕМЕ ТР-3
6.1 Требования безопасности при ремонте бесчелюстной тележки в объеме ТР-3
При ремонте оборудования каждый должен знать технику безопасности.
Перед началом работы следует привести в порядок спец одежду: застегнуть манжеты рукавов, заправить одежду и застегнуть ее на все пуговицы, надеть каску.
Рабочее место не должно быть загромождено деталями и другими мате- риалами. Также требуется осмотреть рабочий инвентарь.
Требования безопасности во время работы:
- во время работы разборку и сборку тележки производить только на оборудованных позициях;
- при разборке запрещается кидать съемные детали на пол. Каждую деталь снимать только специальным оборудованием;
- производить работы напильником, зубилом только при надетых очках;
- управлять ремонтными машинами, производить мойку тележки в моечной машине имеют право только работники, прошедшие обучение в знании правил техники безопасности, при эксплуатации данных механизмов;
- запрещается выполнять слесарные работы по ремонту тележки во время производства ϶лектрᴏсварочных работ;
- тару для размещения мусора и металлолома содержать закрытыми, открывать только при их загрузке;
- при выполнении электросварочных работ при ремонте тележки для предупреждения воздействия лучей дуги на слесарей, рабочее место должно быть ограждено переносной ширмой или щитком.
Требования безопасности в аварийных ситуациях:
- при любой неисправности механизмов, угрожающих безопасности труда работников обрыва заземления, при повреждении подводящих кабелей и других неисправностях произвести выключение механизма доложить мастеру и не приступать к работе до устранения неисправности;
- при возникновении возгорания на участке, работники должны немедленно приступить к тушению очага возгорания первичными сҏедствами пожаротушения. Если очаг возгорания потушить своими силами не возможно, следует вызвать пожарную охрану и поставить в известность администрацию предприятия.
Требования безопасности по окончании работ:
- по окончании электросварочных работ либо во время технологических перерывов сварочное оборудование должно быть выключено;
- отключить ремонтные машины и другие механизмы и оборудование;
- привести в порядок рабочее место;
- на инструментах не должно быть задир, заусенцев, трещин и т.д.;
- убрать инструмент и приспособления в установленные места;
- сообщить обо всех замечаниях во время работы неполадках руководителю работ.
6.2 Инструктаж
Положение об организации обучения по охране труда и проверки знаний требований охраны труда работников ремонтного локомотивного депо Дальневосточное, Дирекции по ремонту тягового подвижного состава структурного подразделения Дирекции по ремонту тягового подвижного состава - филиала ОАО «РЖД» устанавливает порядок организации проведения инструктажей, обучения по охране труда и проверки знаний требований охраны труда работников ремонтного локомотивного депо Дальневосточное Дирекции по ремонту тягового подвижного состава.
При приеме, переводе на работу в ОАО «РЖД» по трудовому договору на неопределенный или определенный сроки в зависимости от профессии, должности, квалификации и вида предстоящей трудовой деятельности с работниками проводят:
- вводный инструктаж;
- первичный инструктаж.
В процессе работы в зависимости от профессии, должности, квалификации и вида трудовой деятельности с работниками проводят:
- повторный инструктаж;
- внеплановый инструктаж;
- целевой инструктаж.
Все виды инструктажей по охране труда завершают устной проверкой приобретенных работником знаний и навыков безопасных приемов работы лицом, проводившим инструктаж. Проведение всех видов инструктажей и стажировки регистрируют в журналах регистрации инструктажей по охране труда, в установленных соответствующими правилами случаях в наряде - допуске на производство работ или журнале учета работ по нарядам и распоряжениям с указанием даты проведения инструктажа и обязательной подписью инструктируемого и инструктирующего. Записи о проведении инструктажей и стажировки в журнале регистрации инструктажа по охране труда на рабочем месте следует вести в хронологическом порядке. Для регистрации каждого вида инструктажа и стажировки допускается в журнале выделять отдельные страницы. Кроме журналов регистрации инструктажей в подразделениях заполняют личную карточку прохождения работником инструктажей, обучения, стажировки, проверки знания требований охраны труда при поступлении или переводе на работу. Личную карточку выдают работнику в секторе управления персоналом депо при поступлении или переводе на работу, где работники отдела кадров заполняют графы 1-8. После проведения вводного инструктажа и отметки о его проведении в графе 9 личной карточки инженером по охране труда, заместителем руководителя подразделения, ведающим вопросами охраны труда, или другим специалистом, на которого возложены обязанности по охране труда и проведения инструктажа по пожарной безопасности и отметки о его проведении в графе 10 ответственным за проведение противопожарного инструктажа принимаемый или переводимый на работу работник должен представить личную карточку руководителю производственного подразделения. После проведения первичного инструктажа на рабочем месте и его отметке в журнале инструктажа и в графе 11 личной карточки работники, освобожденные от прохождения инструктажей и стажировки, допускаются руководителем производственного подразделения к самостоятельной работе, при этом в графе 13 личной карточки делается запись «без стажировки», в графе 14 – «дополнительная проверка знаний не требуется». Работники, занятые на работах, к которым предъявляются дополнительные требования безопасности труда, а также работники, подлежащие профессиональной подготовке, переподготовке и обучению их вторым профессиям и работники, имеющие перерыв в работе, проходят в установленном порядке обучение, стажировку и проверку знаний. Для проведения проверки знаний требований охраны труда работников в подразделениях локомотивного депо, приказом руководителя создаются комиссии по проверке знаний требований охраны труда. В состав комиссии включаются не менее трех человек, прошедших обучение по охране труда и проверку знаний требований охраны труда в обучающих организациях. Работники, не прошедшие в установленном порядке обучение и инструктаж по охране труда, стажировку и проверку знания требований охраны труда, к работе не допускаются.
6.3 Организация безопасного труда
В отдельных отраслях, связанных с работами, к которым предъявляются повышенные требования безопасности труда, проводят дополнительное специальное обучение безопасности труда с учетом этих требований.
Перечень работ и профессий, по которым проводят обучение, а также порядок, форму, периодичность и продолжительность обучения устанавливают с учетом отраслевой нормативно-технической документации руководители предприятий по согласованию с профсоюзным комитетом, исходя из характера профессии, вида работ, специфики производства и условий труда. Обучение осуществляют по программам, разработанным с учетом отраслевых типовых программ и утвержденным руководителем предприятия по согласованию с отделом охраны труда и профсоюзным комитетом. После обучения экзаменационная комиссия проводит проверку теоретических знаний и практических навыков. Результаты проверки знаний оформляют протоколом и фиксируют в личной карточке прохождения обучения, если она применяется. Рабочему, успешно прошедшему проверку знаний, выдают удостоверение на право самостоятельной работы. Рабочие, связанные с выполнением работ или обслуживанием объектов, установок, оборудования повышенной опасности, а также объектов, подконтрольных органам государственного надзора, должны проходить периодическую проверку знаний по безопасности труда в сроки, установленные соответствующими правилами. Перечень профессий рабочих, работа по которым требует прохождения проверки знаний, и состав экзаменационной комиссии утверждает руководитель предприятия, учебного заведения по согласованию с профсоюзным комитетом. Проведение проверки знаний рабочих по безопасности труда оформляют протоколом.
Таблица 6.1- Обмундирование слесаря по ремонту подвижного состава
| Костюм «Механик-Л» | 2 |
| Ботинки юфтевые на маслобензостойкой подошве с металлическим подноском | 1 пара на 9 месцев |
| Стельки бактерицидные | 4 пары |
| Фартук из прорезиненной ткани | 2 |
| Перчатки с полимерным покрытием | 12 пар |
| Каска защитная или каскетка | 1 на 2 года |
| Очки защитные | До износа |
| Жилет сигнальный 2 класса защиты | 2 |
| Перчатки виброзащитные | До износа |
| Комплект для защиты от пониженных температур «Осмотрщик» | 1 на 4 года |
| Белье нательное утепленное к комплекту для защиты от пониженных температур «Осмотрщик» | 1 |
| Шапка трикотажная | 1 на 2 года |
| Сапоги кожаные утепленные «СЕВЕР ЖД» | 1 на 3 года |
6.4 Обеспечение средствами индивидуальной защиты работников тепловозного участка
Выдача средств индивидуальной защиты осуществляется в соответствии с распоряжением от 28 декабря 2012 г. № 2738р.
Организация обеспечения работников ОАО "РЖД" средствами индивидуальной защиты осуществляется в соответствии с:















