Выпускная Квалификационная Работа (1222294), страница 9
Текст из файла (страница 9)
Рисунок 4.4 – Излом МОП из-за большого количества крупных газовых пор
Причиной образования такого количества литейных пор явилось захолаживание бронзы при отливке и нераскисление ее фосфором.
В дипломном проекте предлагается оснастить литейные цеха ультразвуковым дефектоскопом для проверки новых вкладышей МОП после их отливки. В качестве ультразвукового прибора использовать прибор марки TUD300 представленный на рисунке 4.5 [7].
Рисунок 4.5 – Ультразвуковой прибор марки TUD300 [7]
Ультразвуковой дефектоскоп TUD300 обладает следующими особенностями [7]:
- два способа отображения измерений на дисплее: тип А и тип В;
- три режима обнаружения: совмещенный, раздельно-совмещенный и трансмиссия;
- 10 каналов обнаружения доступны с отдельными параметрами обнаружения и кривыми DAC;
- функция автоусиления;
- контроль и отображение значений эквивалента эха с учетом различных кривых DAC;
- горизонтальные координаты на дисплее изменяются между отрезками звукового пути;
- функция памяти пика;
- во время построения кривой DAC, точки кривой могут повторно редактироваться.
Технические характеристики ультразвукового дефектоскопа TUD300 приведены в таблице (4.1) [7].
Таблица 4.1 — Технические характеристики ультразвукового дефектоскопа TUD300
| Наименование параметра | Значение |
| 1 | 2 |
| Диапазон сканирования, мм | 2,5-5000 |
| Диапазон усиления, дБ | 0-110 |
| D-Delay (сдвиг импульса), мкс | минус 20 до плюс 3400 |
| Р-Delay (задержка датчика), мкс | 0-99,99 |
| Диапазон перестройки скорости УЗК, м/с | 1000-9999 |
| Диапазоны частот, МГц: | 0,2-15 |
| - низкие | 0,2-1 |
| - средние | 0,5-4 |
| - высокие | 3-15 |
| Вертикальная линейная погрешность, % | 3 |
| Горизонтальная линейная погрешность, % | 2 |
| Динамический диапазон, дБ | 32 |
| Детектирование | положительная полуволна, отрицательная волна, полная волна и RF (радиочастота) |
| Чувствительность обнаружения, дБ | 50 |
| Режим | эхо-метод, раздельно-совмещенный, сквозной |
| Генератор импульсов | генератор пикового возбуждения |
| Демпфирование, Ом | 50, 150, 400 |
| Подавление | линейный, 0-80 % полной высоты дисплея, шаг 1 % |
| Переключение единиц измерения | мм или дюймы |
Окончание таблицы 4.1
| 1 | 2 |
| Интерфейс | RS-232 |
| АС Адаптер | 85 - 264 В переменный ток/ 1,0 А, 47 - 63 Гц |
| Диапазон рабочих температур, оС | 0-40 |
| Влажность, % RH | 20-90 |
| Аккумуляторы | литиевые аккумуляторы 4×3,6 В, 4000 мА |
| Время зарядки аккумуляторов, час | 7 |
| Габаритные размеры, мм | 243×173×70 |
| Масса, кг | 1,47 |
4.3 Способ восстановления МОП
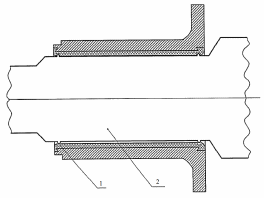
Предлагаемый способ заключается в том, что дополнительно при механической обработке внутри моторно-осевого подшипника, после его расточки под диаметр шейки оси колесной пары, изготавливать кольцевые канавки по краям МОП на расстоянии К от торцов, шириной канавки b и глубиной h (рисунок 4.6) [8].
Рисунок 4.6 – МОП с кольцевыми канавками по краям [8]
Величины размеров зависят от типа МОП. При работе моторно-осевого подшипника трения участки шейки оси колесной пары 2, лежащие в плоскостях канавок, практически изнашиваться не будут, и на шейке образуются кольцевые выступы 1 (рисунок 4.7).
Рисунок 4.7 – Схема размещения МОП относительно оси колесной пары [8]: 1 – выступы на шейках колесной пары; 2 – ось колесной пары
В результате формируется лабиринтное уплотнение. Расход масла через сопряжение становится меньше. С увеличением естественного износа рабочей зоны шейки оси колесной пары 2, образовавшиеся выступы на шейках становятся выше 1. И, как следствие этого, расход смазочных материалов еще больше уменьшается, что снижает негативное воздействие на окружающую среду, лабиринтное уплотнение повышает несущую способность масляного клина вкладыша, снижает износ МОП, повышая его ресурс, снижает вероятность попадания моторно-осевой смазки в кожуха зубчатой передачи тяговых двигателей, снижает вероятность попадания влаги и пыли в МОП.
5 РАСЧЕТ СЕБЕСТОИМОСТИ ИЗГОТОВЛЕНИЯ МОТОРНО-ОСЕВЫХ ПОДШИПНИКОВ ЭЛЕКТРОВОЗА 2ЭС5К
5.1 Теоретические основы определения экономической эффективности
Экономическая эффективность производства, перевозок, новой техники и капитальных вложений является критерием целесообразности создания и применения новой техники, реконструкции действующих предприятий, а также мер по совершенствованию производства и улучшению условий труда [9].
Экономическая эффективность капитальных вложений и новой техники в общем виде определяется как соотношение между затратами и результатами, как итоговый показатель качества экономического развития отрасли, предприятия.
Анализ эффективности мероприятий производится по большому кругу показателей стоимостных, натуральных, эксплуатационных и технических. При анализе экономической эффективности капитальных вложений в мероприятия следует помнить, что они дают эффект не сразу, а спустя некоторое время, включающее срок осуществления мероприятия, время основания мероприятий, время основания проектной мощности объекта и достижения расчетных показателей себестоимости, производительности труда и т.д.
Важным требованием к расчету экономической эффективности применяемых решений является сопоставимость сравниваемых вариантов по качественным параметрам техники, фактору времени, по социальным факторам производства, включая влияние на окружающую среду.
При этом необходимо применять одинаковый расчетный срок и выполнять расчеты с одинаковой точностью, а также проводить расчеты на равный объем в год, либо на единицу продукции.
Эффективность есть отношение эффекта технического, эксплуатационного или экономического к затратам, обслуживающим его получение. Существует два типа эффективности технико-эксплуатационная и обобщающая экономическая (абсолютная, относительная, сравнительная).
Технико-эксплуатационная эффективность характеризуется отношением технического и эксплуатационного эффекта в виде улучшения технического параметра или количественного показателя к трудовым или стоимостным затратам.
Целесообразность создания и использования новой техники, изобретений и рационализаторских предложений решается на основе расчета экономического эффекта, определяемого на годовой объем производства или годовой объем работы, выполняемой с помощью новой техники в расчетном году.
Годовой экономический эффект представляет собой суммарную экономию всех видов производственных ресурсов (живого труда, материалов, капитальных вложений).
Годовой экономический эффект от внедрения нового оборудования в литейный цех депо Смоляниново
, руб. будет определяться по формуле
, (5.1)
где
,
– себестоимость изготовления одного моторно-осевого подшипника (МОП), до и после внедрения нового оборудования, тыс. руб.;
– годовая программа изготовления МОП электровоза 2ЭС5К,
шт/год.
5.2 Определение затрат на внедрение нового оборудования
Капиталовложения на модернизацию определяются затратами на материалы, покупные комплектующие изделия, изготовление нестандартных изделий, а также сборку и установку оборудования на ремонтные позиции.
Цены оборудования, материалов и нестандартных изделий приведены за 2016 год.
Затраты на приобретение основного технологического оборудования, материалы и нестандартное оборудование литейный цех показаны в таблице 5.1.
Таблица 5.1 – Затраты на приобретение оборудования
| Наименование оборудования | Единица измерения | Кол-во | Цена за единицу, руб. | Сумма, руб. |
| Ультразвуковой прибор марки TUD300 | шт. | 2 | 229000 | 458000 |
| Итого: | - | - | 229000 | 458000 |
5.3 Определение экономического эффекта
Себестоимость изготовления одного МОП электровоза серии 2ЭС5К, руб.
, (5.2)
где
– общие годовые затраты на изготовление одного МОП, руб.;
– годовая программа изготовления МОП;
шт.
Общие годовые затраты на изготовление МОП
, руб. определяем по формуле
, (5.3)
где
– затраты на оплату труда, тыс. руб.;
– фонд дополнительной заработной платы, тыс. руб.;
– отчисления во внебюджетные фонды, тыс. руб.;
– затраты на освещение литейного цеха, тыс. руб.;
– затраты на электроэнергию для производственных целей, тыс. руб.;
– расходы на воду, тыс. руб.;
– затраты на материалы и запасные части, тыс. руб.;









