Чирков. ПЗ. раздел 3 (1221670), страница 2
Текст из файла (страница 2)
- производят непрерывно-последовательный многоимпульсный индукционный нагрев поверхностного слоя металла.
- охлаждают поверхность катания колеса со скоростью 50–60 0С/сек через 14–17 сек с момента прохождения металла колеса под первым витком индуктора, что соответствует 3–6 сек с момента выхода металла колеса из-под второго витка индуктора.
Выбор времени начала ускоренного охлаждения при первых двух циклах термообработки (τ ≈ 9–19 сек) на минимум по абсолютному значению величины остаточных напряжений необходим для минимума градиента фазовых и термических напряжений в поверхностном и нижележащих слоях, для осуществления процесса дробления зерна в равнонапряженном поверхностном слое колеса. Третий цикл термообработки еще больше измельчает зерно, а выбор времени начала ускоренного охлаждения (τ ≈ 3–6 сек), исходя из условий получения сжимающих остаточных напряжений дополнительно повышает сопротивление колесной стали износу и образованию дефектов контактно-усталостного происхождения, и в том числе за счет получения твердости металла максимально допустимой по техническим условиям на колесные пары данного типа.
Циклическая обработка индукционным нагревом способствует образованию множества центров аустенитизации при нагреве, что приводит к измельчению в конечной структуре перлитных зерен (до десяти раз) с частичной сфероидизацией карбидной фазы. Кроме измельчения зерен перлита происходит дробление ферритной сетки. Выделение феррита избыточного становится все более дисперснее при переходе от первой к последней обработке. Измельчение структуры проявляется и в постепенном уменьшении межпластиночного расстояния в перлите, эвтектоид при переходе от первого к последнему режиму термообработки становится дисперснее. Нагрев и его обеспечение на установке ТВЧ был подобран экспериментально в производственных условиях электродепо «Дачное» путем отладки установки на резонансный режим.
Проведенные испытания показали повышение работоспособности колесных пар за счет формирования более прочного износостойкого рабочего слоя металла обода катания колеса.
3.4 Наплавка гребней колесных пар
В настоящее время большое внимание на железнодорожном транспорте общего и не общего пользования уделяется разработке и реализации технологий восстановления поврежденных поверхностей наплавкой и напылением. Некоторые организации, в том числе и отделение сварки ВНИИЖТ, выполняют исследования по разработке технологий и оборудования для двухдуговой наплавки гребней бандажей колесных пар в составе тележки с выкаткой колесных пар из-под локомотива. С 1992 г. на сети дорог введено в эксплуатацию десять участков по восстановлению гребней бандажей, на которых наплавлено более 1600 локомотивных колесных пар. При этом для наплавки гребней применяется сварочная проволока марки Св-08ХГ2СМФ по ТУ 130-284-97 диаметром 3 мм и флюсы марок АН-348, АН-348АМ и АНЦ-1. Комплект оборудования участка для наплавки гребней включает вращатель колесной пары с пультами управления; два манипулятора с механизмами подачи сварочной проволоки; два сварочных выпрямителя; флюсоудерживающие и флюсоуборочные приспособления и устройства; установку индукционного нагрева двух ободьев колес перед наплавкой; два комплекта термостатов для замедленного остывания колес после наплавки и установку для очистки и намотки сварочной проволоки. Внешний вид установки показан на рисунке 3.4.
Рисунок 3.4 – Установка для автоматической наплавки под слоем флюса гребней бандажей после выкатки колесной пары из-под электровоза
Наплавка гребней бандажей без выкатки колесных пар из-под электровоза
производилась еще более пятидесяти лет назад. Инструкция по освидетельствованию, ремонту и формированию колесных пар локомотивов и электросекций 1954 года позволяет наплавлять следующие элементы бандажей: изношенные гребни, выбоины (ползуны), местный прокат. После выполнения наплавочных работ колесных пар паровозов без выкатки их из-под локомотива следовала обработка с помощью специального устройства с точильными кругами для придания концентричности.
Наплавка гребней бандажей промышленных электровозов требует специальной технологии, обеспечивающей наряду с износостойкостью гарантию отсутствия сварочных дефектов под воздействием неизбежных на железнодорожном транспорте общего пользования технологических отклонений. Кроме того, выполнение требований такого рода осложнено тем, что бандажная сталь относится к трудносвариваемым из-за высокого содержания углерода и склонности при сварке к образованию горячих и холодных трещин. В настоящее время для восстановления гребней бандажей электровозов на предприятиях ОАО РЖД применяют двухдуговую наплавку под слоем флюса с предварительным нагревом бандажа до 250 °С и последующим охлаждением в течение шести часов. После наплавки и охлаждения производят механическую обработку и ультразвуковой контроль бандажа колесной пары. При этом время нахождения одной колесной пары после выкатки из-под электровоза в процессе наплавки составляет не менее восьми часов.
Из-за перечисленных выше недостатков разработанная ВНИИЖТом установка и сама технология не нашли применения на железнодорожном транспорте необщего пользования. Возникла задача разработать установку и менее энергоемкую технологию, не требующую предварительного подогрева бандажей колесных пар, с возможностью использования на промышленном железнодорожном транспорте. Такая установка для одновременной наплавки двух гребней бандажей без выкатки колесной пары из-под электровоза ПЭ2М была разработана в железнодорожном цехе ОАО «Ураласбест», схема установки с обозначением всех деталей показана на рисунке 3.5, а внешний вид установки – на рисунке 3.6.
1 – перемещение тележки установки относительно оси 0Х; 2 – перемещение установки по платформе относительно оси 0Y; 3 – редуктор червячный спаренный; 4 – электродвигатель вращения колесной пары; 5 – манометр контроля давления масла; 6 – регулятор давления масла; 7 – золотники управления домкратами; 8 – муфта привода колесных пар; 9 – пульт управления электродвигателя вращения колесных пар и насоса; 10 – маслобак; 11 – распределительный электрощит; 12 – редуктор регулирования давления сжатого воздуха; 13 – ванночка горения проволоки под флюсом; 14 – бункер для флюса; 15 – гидравлический домкрат; 16 – барабан с бухтой проволоки; 17 – механизм подачи электродной проволоки.
Рисунок 3.5 – Схема установки для наплавки гребней бандажей без выкатки колесных пар
Рисунок 3.6 – Вид установки для наплавки гребней бандажей без выкатки
Перед началом работы заправляются флюсом бункеры 14 установки и производится ввод электровоза в депо, закрепляя его тормозными башмаками. Перекатывая тележки 1 установки относительно оси OХ, добиваются их установки 2 напротив наплавляемой колесной пары таким образом, чтобы ось колесной пары совпала с осью муфты привода колесных пар 8. С буксы колесной пары снимается крышка. С помощью пульта управления и гидравлических домкратов 15, установленных под буксой, вывешивают наплавляемую колесную пару. Перемещая тележку станка относительно оси OY, соединяют муфту вращения электродвигателя 4 со стопорной гайкой буксового подшипника. Смонтированные на передвижных рамах электродвигатели вращения колесной пары 4 и приводы масляных насосов обеспечивают подъем от рельса на высоту 10–20 мм наплавляемой колесной пары и ее плавное вращение с заданной для сварочных полуавтоматов скоростью. В качестве электрода можно использовать сварочную проволоку диаметром от 1 до 6 мм. Подачу проволоки (100–300 м/ч) можно регулировать с помощью специального устройства 17. Флюс к месту наплавки подается по шлангу сжатым воздухом давлением 0,5–1,0 атм., которое регулируется редуктором 12, установленным перед входом в маслобак.
3.5 Плазменная модификация
Сущность плазменной модификации (далее ПМ) состоит в осуществлении скоростных химико-термических реакций взаимодействия металла с атмосферой плазмы, генерируемой при атмосферном давлении воздушно-дуговым плазмотроном.
Цель ПМ – изготовление колесных пар со специальными свойствами поверхности – износостойкостью, антифрикционностью, коррозионностойкостью и др.
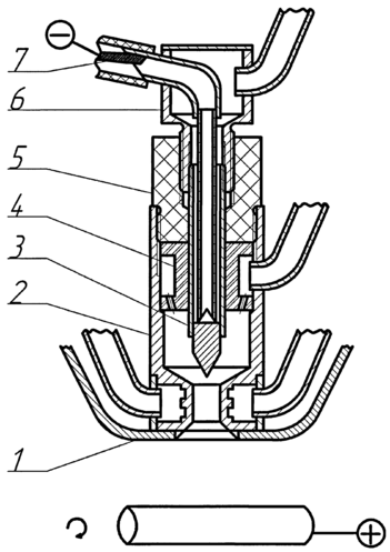
1 – магнитопровод; 2 – дуговая камера сопла; 3 – электрод; 4 – втулка с каналами; 5 – изолирующая втулка; 6 – корпус катодного узла; 7 – токопровод.
Рисунок 3.7 – Плазмотрон
Эффект от ПМ достигается за счет изменения физико-механических свойств поверхностного слоя основного металла: увеличения твердости,
уменьшения коэффициента трения, создания сжимающих напряжений, залечивания микродефектов, образования коррозионностойкого поверхностного слоя, специфической топографии поверхности.
Оборудование для ПМ включает в себя источник тока, блок аппаратуры,
плазмотрон, компрессор (при отсутствии стационарной воздушной магистрали), блок автономного охлаждения (при отсутствии системы водоснабжения), устройство механизации взаимного перемещения плазмотрона и изделия.
Технологический процесс ПМ проводится при атмосферном давлении и
состоит из операций предварительной очистки (любым известным методом) и непосредственно модификации обрабатываемой поверхности путём взаимного перемещения изделия и плазмотрона.
Рисунок 3.8 – Взаимное расположение плазмотрона и поверхности катания колеса
Температура нагрева изделия в процессе ПМ не превышает 100–150 оС. Параметры шероховатости после ПМ не изменяются.
Контроль качества ПМ осуществляется по наличию и сравнению цветовой гаммы поверхностного слоя на обработанной поверхности и эталона, а также путем замера твердости переносными малогабаритными твердомерами. После ПМ твердость поверхностного слоя повышается в 1,5–2 раза.
Результаты испытаний процесса ПМ Трибологические исследования пары
трения колесо-рельс показали, что интенсивность изнашивания образца (колеса), подвергнутого ПМ, в первые 120000 циклов нагружения составляет в среднем 0,54 мм3 за 10000 циклов нагружения, что в 78–92 раза меньше интенсивности изнашивания образца-колеса, не подвергавшегося ПМ. По мере увеличения количества циклов нагружения средняя интенсивность изнашивания плазменно-модифицированного образца-колеса уменьшается. В среднем за все опыты с модифицированным колесом (999848 циклов нагружения) интенсивность его изнашивания составила 0,25 мм3 за 10000 нагружений. Образцы-рельсы,
работавшие с плазменно-модифицированным образцом-колесом, изнашивались в 4–10 раз медленнее, чем рельсы при работе в паре с колесом, не подвергавшемся ПМ.
Внедрение ПМ при упрочнении колесных пар локомотивов показало исключительную перспективность новой технологии за счет значительного (не менее двух раз) повышения срока их службы. ПМ используется как на новых колесных парах, так и на колесных парах, проточенных в ремонтный размер.
3.6 Статистические данные по износу
Опыт эксплуатации показал, что интенсивность проката колес тепловозов для среднесетевых условий составляет 0,38 мм на 104 км пробега. Интенсивность износа гребня при протяженности кривых на участке эксплуатации около 50 % составляет 0,8 мм на 104 км пробега. Это вызывает необходимость преждевременной обточки колес для восстановления профиля бандажей по износу гребней. Толщина слоя снимаемого металла, определяемая по износу гребня, значительно больше, чем это требуется для восстановления профиля поверхности катания.
Для уменьшения износа гребней бандажей и увеличения срока их службы ВНИИЖТ предложен новый профиль одноточечного касания между колесом и рельсом при любом расположении колесной пары в рельсовой колее. Профиль с одноточечным контактом отличается от стандартного прямолинейным участком 20 мм с конусностью 1:50, который соединяется с выкружкой гребня переходной кривой радиусом 70 мм, обеспечивающей одноточечный контакт и относительное свободное поперечное перемещение колесной пары в колее. Выкружка гребня выполнена радиусом 15 мм, согласованным с радиусом скругления рельсовой головки для среднесетевых условий, чтобы обеспечить меньшее
контактное давление на выкружке гребня. Угол наклона гребня принят 65 °, что соответствует профилю головки среднесетевого рельса и обеспечивает с ним облегающий контакт на участках пути с крутыми кривыми. Испытания показали, что бандажи с одноточечным контактом будут иметь меньший на 20 % износ гребней, уменьшится на 15—20 % количество колесных пар с односторон-
ним износом и смещенным прокатом. Кроме того, этот профиль уменьшит возможность образования ступенчатого проката. Интенсивность проката при этом профиле бандажей сохраняется на прежнем уровне.
3.7 Оборудование для восстановления бандажей
3.7.1 Колёснотокарный станок РТ-908
Для обточки бандажей без выкатки используется станок РТ-908. Колесотокарный станок с ЧПУ модели РТ908 предназначен для обточки колесных пар без выкатки их из-под локомотива с целью восстановления профиля изношенных бандажей железнодорожных колес. Станок устанавливается в локомотивном депо ниже уровня рельсов. Обточка бандажей колесных пар может производиться с применением механического копировального устройства или с ручным перемещением суппортов. Для передвижения локомотива и установки колесной пары на ось станка используются выдвижные рельсы, которые механизировано, устанавливаются над станком. После установки локомотива на домкраты выдвижные рельсы перемещаются из зоны резания в исходное положение.
Высокопроизводительная обработка бандажа колесной пары производится с использованием режущих пластин LMNX-301940 и LMNX-191940 производства России или аналогичных режущих пластин 175.32-301940-25 и 175.32-191940-25 производства «SANDVIK COROMANT».















