ПЗ дипломная работа (1220661), страница 10
Текст из файла (страница 10)
где
- мощность i-го слоя, м.
В случае, если толща
однородного грунта более 2 м, то ее делят на элементарные слои каждый из которых не более 2м.
Несущая способность сваи по грунту cоставляет:
Расчетная нагрузка на сваю по грунту определяется по формуле:
где
коэффициент надежности по грунту.
Максимальная продольная сила, действующая на сваю составляет:
N=662,31 кН
Условие прочности по несущей способности сваи:
Несущей способности сваи достаточно. Количество свай – 1 шт.
3.1 Разработка технологической карты на устройство кровли из металлочерепицы
3.1.1 Область применения
Технологическая карта разработана на устройство стропильной кровли из металлочерепицы жилого трехэтажного здания в c.Новотроицкое.
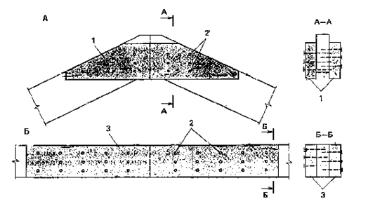
Отметка конька кровли составляет +12,500, кровля принята двускатная с наружным водостоком (рис. 3.1).
Технологическая карта предусматривает устройство несущих элементов крыши из брусьев с деревянной обрешеткой из досок. Стропильные ноги этой конструкции опираются мауэрлат, под коньковый прогон устанавливается стойка с подкосами, которая увеличивает жёсткость стропильной конструкции.
Рисунок 3.1 - Кровля из металлочерепицы «Классик»:
а) обрешетка; б) металлочерепица
В состав технологической карты входят следующие виды работ:
- установка лежней и мауэрлатов; установка коньковых прогонов и стоек; установка подкосов и стропильных ног; установка обрешетки; монтаж металлочерепицы и устройство примыканий кровли.
Ведомость объемов работ дана в таблице 3.1
Таблица 3.1
Ведомость объемов работ
| Наименование процесса и операций | Объем работ | |
| ед. изм. | кол-во | |
| Утепление покрытия верхнего этажа: - пароизоляция - утеплитель - цементная стяжка | 100м2 100м2 100м2 | 5,642 5,642 5,642 |
| Устройство: - стропильной системы - деревянной обрешетки | м3 м3 | 22,21 10,97 |
| Монтаж металлочерепицы | 100 м2 | 5,642 |
| Подача материалов (грузов) консольно-балочным краном грузоподъемностью до 1 т | 100 м3 | 0,62 |
Работы ведутся в одну смену в теплый период года.
3.1.2 Организация и технология выполнения работ
Подготовительные работы
До начала устройства стропильной системы следует выполнить следующие организационно-подготовительные работы и мероприятия [37]:
- выполнить и принять нижележащие конструкции, включая монтаж чердачного перекрытия, монтаж вентиляционных стояков выше чердачного перекрытия и крыши, устройство карниза;
- установить консольно-балочный кран К-1;
- подготовить инструмент, инвентарь, приспособления;
- доставить на рабочее место изделия и материалы;
- оформить наряд-допуск на работы повышенной опасности;
- ознакомить исполнителей с технологией и организацией работ.
Заготовленные заранее, обработанные защитными составами, замаркированные элементы стропильной системы подают консольно-балочным краном К-1 на чердачное перекрытие. Одновременно подают инвентарные средства для монтажа.
Устройство стропильной системы
Установку элементов стропильной системы выполняют с разбивкой фронта работ на две захватки в следующем порядке:
- устанавливают лежни и мауэрлаты; устанавливают стойки и коньковые прогоны; устанавливают подкосы и стропильные ноги; устанавливают обрешетку.
Установку мауэрлатов и лежней выполняют с предварительной прокладкой по верху стен двух слоев рулонной гидроизоляции. После укладки лежней и мауэрлатов в проектное положение на лежень устанавливают стойки, временно раскрепив их подкосами. Затем по стойкам укладывают коньковый прогон, выверяют его положение с помощью уровня и фиксируют элементы строительными скобами или болтами.
Соединения элементов стропильной системы выполняют с помощью врубок. Для соединения прогонов со стойками используют врубки со сквозным и несквозным шипом. Крестообразное пересечение брусьев соединяют вполдерева (рис. 3.2).
Рисунок 3.2 - Врубки при сопряжении брусьев: а - сквозным шипом;
б - несквозным шипом в потемок; в - в полдерева.
Стропильные ноги и подкосы устанавливают в следующем порядке:
- производят разбивку на мауэрлатах проектного положения стропильных ног;
- выбирают гнезда в мауэрлатах;
- устанавливают раздвижные инвентарные подмости и стойки;
- укладывают элементы составных стропильных ног: нижний - на мауэрлат и в вилку раздвижной стойки, верхний - между верхними накладками и в вилку задвижной стойки;
- между ветвями первого составного элемента устанавливают болты, соединяющие стропильную ногу с верхними накладками;
- заводят подкосы между нижними накладками и ветвями верхних элементов составных стропильных ног, устанавливают болты, скрепляющие подкосы с нижними накладками;
- совмещают верхние плоскости обоих элементов составных стропильных ног с помощью раздвижной стойки и рейки;
- просверливают отверстия в месте сопряжения элементов подкоса и составной ноги, устанавливают болты;
- места сопряжения стропильных ног с мауэрлатами и концы стропильных ног на опорах дополнительно антисептируют.
Для сопряжения стропильных ног с горизонтальной затяжкой используют врубки: лобовую с двойным зубом, лобовую с одним зубом (рис. 3.3).
Рисунок 3.3 - Врубки в элементах стропил:
а - лобовая с одним зубом; б - лобовая с двойным зубом
Сопряжения элементов деревянных стропил (раскосы и подкосы) выполняют на скобах и гвоздях, усиленных накладками (рис. 3.4).
Рисунок 3.4 – Безврубочные сопряжения дощатых стропил: I - узел сопряжения с затяжкой; II - сопряжение подкоса со стропильной ногой; III - стропильных ног в коньке; IV - подкоса с затяжкой; 1 - затяжка; 2 - стропильная нога; 3 - подкос; 4 – накладки.
Несущие элементы крыши изготавливают из досок сечением 100 на 200 мм. В местах стыков прибивают двойные накладки из досок толщиной 250 до 300 мм, длина гвоздей в 2,5 - 3 раза должна превышать толщину прибиваемых досок или брусков.
Гвозди размещают косыми или параллельными рядами под углом 45 градусов к оси накладки. Расстояние от торца накладки до оси крайнего ряда должно быть не менее 15d (d - диаметр гвоздя), а от оси продольного ряда до кромки не менее 4d. Концы гвоздей, прошедшие через пакет досок, следует загнуть поперек волокон. Правильность забивки гвоздей обеспечивают с помощью шаблона - листа фанеры, по размерам равного накладке, в который в соответствии с чертежом забиваются гвозди. Наложив шаблон на накладку, острыми концами гвоздей делают наколки, по которым затем забивают гвозди (рис.3.5). Длина гвоздей должна быть в 2,5 раза больше толщины накладок. Допускаемое отклонение между центрами гвоздей 2 мм.
Рисунок 3.5 - Узел соединения стропил в коньке: А - верхняя накладка; Б - нижняя накладка; 1- фигурная накладка; 2 - гвозди; 3 - прямоугольная накладка
После установки первых четырёх, пяти стропильных ног начинают устройство обрешетки. Бруски прибивают от карниза к коньку с проектным шагом, который зависит от вида кровельного покрытия. По свесу кровли над карнизом, под стыками листов, а также в разжелобках и на коньке укладывают сплошной настил из обрезной доски.
После пришивки обрешетки делают вырезы для слуховых окон и лазов. Затем монтируют слуховые окна.
Монтаж стропильной системы осуществляют с инвентарных подмостей звеном в составе четырех плотников и одного подсобного рабочего, в том числе:
- плотник четвёртого разряда - один человек; плотник третьего разряда - один человек; плотник второго разряда - два человека; подсобный рабочий первого разряда - один человек.
Подачу грузов консольно-балочным краном К-1 выполняет звено в составе машиниста и двух такелажников, в том числе:
- машинист третьего разряда - один человек; такелажники второй разряд - два человека.
Перед началом устройства кровли из металлочерепицы необходимо произвести контрольный обмер скатов с установлением плоскостности и их перпендикулярности по отношению к линиям конька и карнизов. Этот процесс является контрольным потому, что он будет определяющим к соблюдению качества укладки металлочерепицы.
Обрешетка под листы металлочерепицы выполняется из антисептированных досок сечением 100 х 32 мм с расстоянием по осям для листов «Классик» расстояние от крайней обрешетины - 300 мм, последующие расстояния между осями - 350 мм (рис. 3.6).
Рисунок 3.6 - Разметка положения брусков обрешетки
Выходящая на карниз доска должна быть на 10-15 мм толще других. Обрешетку следует укладывать сверху на свободно уложенный на стропила гидропароизоляционный материал для обеспечения вентиляции под кровельными листами (между металлочерепицей и гидроизоляционным материалом) и предотвращения конденсата с нижней стороны кровельного листа.
Для гидропароизоляции используется мембрана "Тайвек". Материал гидропароизоляции должен впитывать влагу со стороны теплоизоляции. Для хорошей вентиляции гидропароизоляция делается так, чтобы струя холодного воздуха беспрепятственно могла пройти от карниза под конек крыши. Вентиляционные отверстия устраиваются и самом высоком месте кровли. Гидропароизоляционный материал (прокладку) устанавливают внахлест (100-150 мм) от карниза к коньку.
Карнизная планка закрепляется до укладки листов металлочерепицы гвоздями через 300 мм. Чтобы коньковая планка была хорошо закреплена, под нее по обе стороны прибивают по две дополнительные доски.
Монтаж листов металлочерепицы начинается с торцевых участков на двускатной крыше, а на шатровой крыше листы устанавливают и крепят от самой высокой точки ската по обе стороны. Монтаж кровельных листов можно начинать как с левого, так и с правого торца. Когда монтаж начинают с левого края, то следующий лист устанавливают под последнюю волну предыдущего листа. Край листа устанавливают по карнизу и крепится с выступом от карниза на 40 мм.
















