РАЗРАБОТКА ТЕХНОЛОГИИ ВОССТАНОВЛЕНИЯ ХВОСТОВИКОВ (1210775), страница 8
Текст из файла (страница 8)
К конструкции сварочного приспособления предъявляем следующие требования:
-
удобство в эксплуатации;
-
обеспечение заданного качества сварного изделия;
-
обеспечение сварки всей конструкции с одной установки;
-
технологичность детали и узлов приспособления;
-
обеспечение заданной последовательности сварки в соответствии с разработанной технологией и принятом технологическим оборудованием и оснасткой;
-
использование механизмов для загрузки, подачи и установки деталей, снятия, выталкивания и выброски собранного изделия.
Приспособление должно быть ремонтоспособным, безопасным в эксплуатации, иметь достаточно высокий срок службы, для этого следует предусмотреть возможность замены быстро изнашиваемых деталей и восстановления требуемой точности приспособления.
3.12.4 Разработка технологии восстановления перемычки корпуса автосцепки
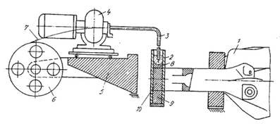
С учётом принятого способа электрошлаковой сварки составляем принципиальную схему получения перемычки хвостовика корпуса автосцепки электрошлаковым способом, которая представлена на рисунке 3.12.1.
Рисунок 3.12.1 - Принципиальная схема получения перемычки хвостовика корпуса автосцепки электрошлаковым способом: 1 – автосцепка; 2 – кокиль; 3 – мундштук; 4- подающий механизм; 5 – аппарат подачи проволоки; 6 – кассета; 7 - сварочная проволока; 8,9 – технологическая прибыль; 10 – перемычка.
Для начала производится разделка перемычки корпуса автосцепки. У корпуса автосцепки внутренняя поверхность отверстия механически обрабатывается.
Далее производится электрошлаковая наплавка перемычки хвостовика. В корпусе автосцепки зачищается наждачным камнем внутренняя поверхность отверстия под клин.
Толщина слоя металла при механической обработке определяется качеством внутренней поверхности отверстия. Удаляются все литейные дефекты: пригар, плены, микротрещины, неметаллические включения, которые в условиях знакопеременной нагрузки могут служить очагами зарождения усталостных трещин.
После зачистки наплавляют перемычку хвостовика электрошлаковым способом, для этого на образовавшемся при отливке заготовки зазоре перемычки хвостовика собирают кокиль, представленный на рисунке 3.12.2 и чертеже графического материала ДП 190302.65.05. В собранное формирующее устройство вводят мундштук, закрепленный в подающем механизме аппарата для электрошлаковой сварки типа А-1304.
Рисунок 3.12.2 – Кокиль для восстановления перемычки хвостовика: 1 – внутренняя форма; 2 – щёчки; 3 – кронштейн; 4 - профилированный упор; 5 – коллектор; 6 – медный лист; 7 – днище; 8 – удлинитель; 9 – дно; 10 - коллектор; 11 – кронштейн; 12 – ось; 13, 14 – эксцентричные кулачки; 15 – стяжные рычаги; 16 – выступ; 17 – рукоятка.
К корпусу автосцепки и мундштуку подающего механизма подключают источник питания электрошлаковой сварки. В пространство, образованное пазом хвостовика и формирующим устройством, засыпают металлическую (стальную) стружку крупку или порошок слоем 10—20 мм и затем флюс марки АН-8 или 48-ОФ-6 слоем высотой 50—60 мм, после чего подающим механизмом подают в кассеты сварочную проволоку марки СВ-08Г2С диаметром 3 мм до закорачивания на металлическую стружку (порошок, крупку и т. д.) в камере. Кокиль состоит из формирующих элементов, которые выполнены в виде двух форм: внутренней и внешней. Внутренняя форма 1 состоит из профилированного листа, к которому приварены две щечки 2, служащие опорой внутренней формы 1 на поверхности хвостовика корпуса автосцепки. К внутренней форме припаян кронштейн 3 с профилированным упором 4, опирающимся на базовую поверхность отверстия в хвостовике корпуса. Внутри профилированного листа и на наружной поверхности щечек 2 припаивается коллектор 5 для охлаждения внутренней формы проточной водой.
Внешняя форма формирующего устройства спаяна из медного листа 6, повторяющего форму хвостовика корпуса, и днища 7 с профилированной выемкой. К днищу 7 припаян удлинитель 8 с донышком 9, для того, чтобы вынести из зоны заварки хвостовика начало процесса электрошлаковой сварки, где всегда имеются внутренние дефекты в металле. По наружной поверхности внешней формы припаян коллектор 10 для охлаждения формы проточной водой. На внешней форме крепятся винтами два кронштейна 11, в расточках которых устанавливаются оси 12 с эксцентричными хвостовиками 13 и 14. На эти хвостовики одеваются стяжные рычаги 15, захватывающие своими выступами 16 профилированный лист внутренней формы 1. На оси 12 устанавливаются рукоятки 17, служащие для поворота осей.
Сборка формирующего устройства выполняется в следующем порядке.
На хвостовик корпуса автосцепки в имеющееся отверстие, с базированием упора 4 по ближнему к головке корпуса автосцепки устанавливают внутреннюю форму 1, затем с фиксацией днищем 7, по противоположной поверхности хвостовика корпуса собирается внешняя форма до упора ее в щечки 2 внутренней формы, при этом днище 7 должно упираться в профилированный лист внутренней формы. Далее поворотом рукояток 17 устанавливают оси 12 так, чтобы можно было выступы 16 хвостовиков 13 завести за профилированный лист внутренней формы 1, затем поворотом рукояток 17 устанавливают собранное формирующее устройство на хвостовике корпуса.
Предлагаемая установка форм устройства на поверхность хвостовика корпуса позволяет выполнять сборку его независимо от допусков, предусмотренных на изготовление хвостовика корпуса автосцепки, исключая зазоры, через которые возможно протекание расплавленного металла, а эксцентриковые зажимы обеспечивают быструю установку и съем устройства. Конструкция кокиля позволяет достичь требуемые размеры и форму хвостовика и перемычки корпуса автосцепки без дополнительной механической обработки рабочих поверхностей и свести к минимуму подготовительные операции по установке формирующего устройства, а также снизить расходы сварочных материалов.
Кокиль для электрошлаковой сварки, содержащий внутренний и внешний водоохлаждаемые элементы, увеличивает производительность и экономию сварочных материалов, внутренний формирующий элемент снабжен опорными щечками и кронштейном с профилированным упором, а внешний — днищем с жестко присоединенными к нему удлинителем и кронштейнами, расположенными симметрично по обе стороны от внутреннего формирующего элемента двумя осями с эксцентричными хвостовиками, установленными в кронштейнах и стяжными рычагами, выполненными с захватом на одном конце и жестко насаженными другим концом на эксцентричные хвостовики, причем внешний формирующий элемент выполнен из гибкого листа, базирующегося своей средней частью на опорных щечках внутреннего.
Включением напряжений на источнике питания кратковременно образуют сварочную дугу, в результате чего плавится флюс и возникает шлаковая ванна. В момент возникновения шлаковой ванны: сварочная дуга пропадает (отсутствует) и возникает стабильный процесс электрошлаковой сварки, в процессе которого заполняется пространство для перемычки и формируется соединение хвостовика корпуса автосцепки. Наплавленный металл легируется кремнием и марганцем, что повышает прочность и износостойкость перемычки хвостовика.
Технология и конструкция кокиля обеспечивает отсутствие образований пустот в начале процесса, непропаров в течение электрошлаковой сварки и усадочных раковин в конце процесса, для чего предусматриваются технологические прибыли. Технологические прибыли после наплавки перемычки удаляются резкой.
Соблюдение перечисленных в таблице режимов электрошлаковой наплавки обеспечивает легирование наплавленного металла кремнием в количестве 0,35—45% и марганцем в количестве 1,2—1,6% и значение коэффициента прочности металла наплавленной перемычки в пределах 1,05— 1,10, т. е. увеличение прочности перемычки по сравнению с основным металлом корпуса автосцепки.
Разработанной технологией работы обеспечивается мелкозернистая структура наплавленной перемычки и качественное ее сплавление с литым корпусом автосцепки.
Для выполнения качественного восстановления перемычки принимаем режимы электрошлаковой наплавки, приведённые в таблице 3.12.1.
Таблица 3.12.1 - Режимы электрошлаковой наплавки
| № п/п | Наименование параметра | Величина параметра |
| 1 | Напряжение холостого хода источника питания, В | 48-50 |
| 2 | Рабочее напряжение сварки, В | 46-48 |
| 3 | Скорость подачи сварочной проволоки, м/ч | 130-160 |
| 4 | Сварочный ток, А | 450-500 |
| 5 | Глубина шлаковой ванны, мм | 40-50 |
| 6 | Диаметр сварочной проволоки, мм | 3 |
| 7 | Расстояние электрода от кромок отрезанной перемычки, мм | 17-20 |
| 8 | Наружный диаметр плавящегося мундштука, мм | 16 |
| 9 | Внутренний диаметр плавящегося мундштука, мм | 4 |
Предлагаемый способ позволяет восстанавливать бывшие в эксплуатации автосцепки с трещиной в перемычке хвостовика, ранее сдававшиеся в металлолом.
Компоновка производственных участков в основном здании ЛВЧД Хабаровск представлен на чертеже графического материала ДП 190302.65.06. План участка по ремонту автосцепного оборудования представлен на рисунке 3.12.3 и чертеже графического материала ДП 190302.65.07.
Рисунок 3.12.3 – Планировка отделения по ремонту автосцепного устройства после внедрения установки ЭШН: 1 – площадка для исправных тяговых хомутов; 2 – площадка для неисправных автосцепок; 3 – стенд-манипулятор для наплавки хомутов; 4 – площадка для неисправных тяговых хомутов; 5 – дефектоскоп МД-12ПШ; 6 – универсальный шестиместный стенд; 7 – стенд для мех. обработки и проверки действия механизма автосцепки; 8 – ремонтный верстак; 9 – шкаф для приспособлений; 10 – установка вентиляции Sovplim 075; 11 – заточный станок; 12 – полуавтомат сварочный А-765; 13 – стол сварщика; 14 – сварочный трансформатор ВКСМ-1000; 15 – кран-балка, Q = 2,5 т; 16 – сварочный агрегат; 17 – накопитель для исправных тяговых хомутов; 18 – стенд для дефектоскопии тяговых хомутов; 19 – дефектоскоп МД-12ПС; 20 - Установка АД-381Ш для ЭШС перемычки хвостовика; 21 - Шкаф хранения оснастки и приспособлений.
У корпусов автосцепок, бывших в эксплуатации, с недопустимыми дефектами в виде трещин в перемычке и износом упорной поверхности хвостовика больше допустимого, перемычку хвостовика разделывают, газовой резкой, внутреннюю поверхность отверстия под клин обтачивают для удаления микротрещин, надрывов и других дефектов, после чего электрошлаковым способом восстановливают новую перемычку.
Изготовление перемычек корпусов автосцепок предложенным способом позволит уменьшить выход их из строя по причине трещин в перемычке хвостовика. В результате снизится себестоимость технического содержания подвижного состава, уменьшится простой в ремонте, что будет способствовать росту грузооборота подвижного состава.
4 ЭКОНОМИЧЕСКАЯ ЭФФЕКТИВНОСТЬ ПРИМЕНЕНИЯ ЭЛЕКТРОШЛАКОВОГО СПОСОБА СВАРКИ ПРИ ВОССТАНОВЛЕНИИ ПЕРЕМЫЧКИ ХВОСТОВИКА АВТОСЦЕПКИ
4.1 Общие сведения
Любая деятельность имеет определенный результат, который человек всегда стремился оценить. С развитием производства, а особенно его промышленного масштаба, эта оценка, стремление «получать больше взамен на меньшее или, по крайней мере, столько же» спровоцировала появление концепции эффективности производства – как отдельной серьёзной составляющей изучения экономики организации.
Нужно различать понятие «эффект» и «эффективность».
Эффект – абсолютный показатель результата какого-либо действия или деятельности. Он может быть как положительным, так и отрицательным.
Эффективность – относительный показатель результативности и может быть только положительной величиной.
Показателем для эффективности народного хозяйства является соотношение национального дохода и производственных фондов народного хозяйства; для измерения эффективности капитальных вложений – соотношение прибыли и объема капитальных затрат. Положительный экономический эффект — это экономия, отрицательный — убыток.
Одним из видов экономического эффекта (при повышении качества и надежности изделий) является предотвращенный убыток, т. е. не возникший отрицательный экономический эффект (этот эффект иногда ошибочно называют экономией).
Эффективность можно исследовать с различных сторон: с точки зрения формирования затрат, планирования объема производства, прибыли, реализации инвестиционных проектов и др.
Однако анализ поведения затрат, методов их распределения, составление и контроль выполнения смет, калькулирование себестоимости изделий и продукта, определение порога рентабельности производства и реализаций продукции — лишь необходимый начальный этап анализа общей эффективности деятельности предприятия, функционирующего как единое целое. Результаты анализа дают администрации предприятия и другим пользователям — субъектам анализа необходимую информацию о состоянии анализируемых объектов
Современная экономическая теория также рассматривает экономическую эффективность по Парето (Парето-эффективность). Суть данного подхода обычно описывается следующим образом: относительно замкнутая (закрытая) экономическая система является эффективной (экономически эффективной), если невозможно иное перераспределение ресурсов, при котором возможно увеличение производства продукции без ухудшения положения хотя бы одного участника данной системы.
Главным критерием социально-экономической эффективности является степень удовлетворения конечных потребностей общества, и прежде всего потребностей, связанных с развитием человеческой личности.










