РАЗРАБОТКА ТЕХНОЛОГИИ ВОССТАНОВЛЕНИЯ ХВОСТОВИКОВ (1210775)
Текст из файла
СОДЕРЖАНИЕ
ВВЕДЕНИЕ 8
1 АНАЛИЗ ЭКСПЛУАТАЦИИ АВТОСЦЕПНОГО УСТРОЙСТВА 11
1.1 Анализ неисправностей автосцепных устройств 11
1.2 Межремонтный пробег и анализ работы автосцепки в эксплуатации 16
2 АНАЛИЗ СПОСОБОВ СВАРКИ И НАПЛАВКИ 19
2.1 Общие сведения 19
2.1.1 Дуговая сварка металла 20
2.1.2 Автоматическая и полуавтоматическая сварка металла под флюсом 21
2.1.3 Дуговая сварка металла в защитном газе 22
2.1.4 Электрошлаковая сварка металла 22
2.1.5 Сравнительный анализ способов сварки и наплавки 23
2.2 Технология электродугового способа сварки 28
2.3 Технология газовой сварки и наплавки 33
2.4 Технология индукционно-металлургического способа 35
2.5 Технология электрошлакового способа 38
2.6 Анализ технической оснащённости участка КПА ЛВЧД станции Хабаровск-1 41
3 РАЗРАБОТКА ТЕХНОЛОГИИ ВОССТАНОВЛЕНИЯ ПЕРЕМЫЧКИ ХВОСТОВИКОВ АВТОСЦЕПОК ЭЛЕКТРОШЛАКОВОЙ СВАРКОЙ НА ОСНОВЕ ФЛЮСОВ ИЗ МИНЕРАЛЬНОГО СЫРЬЯ ДАЛЬНЕВОСТОЧНОГО РЕГИОНА 46
3.1 Технологические требования к выполнению электрошлаковой сварке 46
3.2 Требования к подготовке свариваемых заготовок и сварочных материалов 47
3.3 Требования к технологическому процессу сварки 49
3.4 Требования к составу и технологических операций ЭШС 49
3.5 Требования к основному и вспомогательному технологическому оборудованию 50
3.6 Требования к технологической оснастке 52
3.7 Требования к пооперационному контролю 53
3.8 Требования к характеристикам рабочего места и производственного помещения 54
3.9 Требования к продукции 55
3.10 Обоснование способа сварки и выбор сварочных материалов 55
3.11 Выбор электротехнического оборудования 57
3.12 Выбор сварочных материалов 61
3.12.1 Технология приготовления наплавочной шихты 61
3.12.2 Технология изготовления флюса 62
3.12.3 Разработка кокиля для электрошлаковой наплавки 63
3.12.4 Разработка технологии восстановления перемычки корпуса автосцепки 65
4 ЭКОНОМИЧЕСКАЯ ЭФФЕКТИВНОСТЬ ПРИМЕНЕНИЯ ЭЛЕКТРОШЛАКОВОГО СПОСОБА СВАРКИ ПРИ ВОССТАНОВЛЕНИИ ПЕРЕМЫЧКИ ХВОСТОВИКА АВТОСЦЕПКИ 73
4.1 Общие сведения 73
4.2 Данные для расчёта эффективности инвестиционного проекта 75
4.4 Выводы по экономическому эффекту 79
5 ТЕХНИКА БЕЗОПАСНОСТИ ПРИ ВЫПОЛНЕНИИ СВАРОЧНЫХ РАБОТ 81
5.1 Общие требования 81
5.2 Вредные факторы влияющие на работника 82
5.3 Средства индивидуальной защиты 85
5.4 Технические средства защиты 87
5.5 Защитное заземление, зануление и отключение электросварочных установок и постов 89
5.6 Пожарная безопасность 92
ЗАКЛЮЧЕНИЕ 96
Список использованных источников 97
ВВЕДЕНИЕ
Использование автосцепного устройства взамен применявшейся упряжи винтовой явилось одним из технических направлений, которые привели к резкому увеличению пропускной способности железных дорог. Это обусловлено тем, что автосцепка обладает очень высокой прочностью, позволяет ускорять маневровые работы и формирование поездов за счет автоматической сцепляемости вагонов, быстрого расцепления при поворачивании рычага. Также, автосцепное устройство позволяет улучшить условия труда при выполнении этих работ, поэтому требует стабильной и надёжной работы.
Вагонный парк характеризуется многообразием типов и конструкций вагонов, используемых в перевозочном процессе грузов и пассажиров. Условия эксплуатации вагонов связаны со испытанием статических и динамических нагрузок, а в некоторых случаях воздействие высоких и низких температур при перевозке груза, повышенной влажности, агрессивных сред на конструкцию вагонов. При перевозках значительно возрастает интенсивность ведения погрузочно-разгрузочных работ, с использованием различных средств механизации. Многофункциональное и интенсивное использование вагонов железнодорожного транспорта требует проведения их качественного технического обслуживания и ремонта квалифицированными специалистами.
Автосцепка обеспечивает: автоматическое сцепление при соударении единиц подвижного состава с различными маневровыми скоростями; автоматическое запирание замка в нижнем положении у сцепленных автосцепок, что устраняет самопроизвольное расцепление на ходу поезда (саморасцеп); расцепление подвижного состава без захода человека между концевыми балками и удержание механизма в расцепленном положении до разведения автосцепок; автоматическое возвращение механизма в положение готовности к сцеплению после разведения автосцепок; восстановление сцепления у ошибочно расцепленных автосцепок без их разведения; маневровую работу толчками (работа «на буфер»), когда при соударении автосцепки не сцепляются.
Автосцепка СА-3 является тягово-ударной нежесткого типа. Она состоит из корпуса и деталей механизма сцепления: замка, замкодержателя, предохранителя , подъемника, валика подъемника.
Головная часть автосцепки (голова) переходит в удлиненный пустотельный хвостовик, в котором имеется отверстие для размещения клина, соединяющего автосцепку с тяговым хомутом. Голова автосцепки имеет большой и малый зубья. В пространство между малым и большим зубьями, в так называемый зев автосцепки, выступают замок и замкодержатель, взаимодействующие в сцепленном состоянии со смежной автосцепкой.
Большой зуб имеет три усиливающих ребра: верхнее, среднее и нижнее, плавно переходящие в хвостик и соединенные между собой перемычкой. Голова автосцепки заканчивается сзади упором, предназначенным для передачи при неблагоприятном сочетании допусков на основные размеры жесткого удара на хребтовую балку через концевую балку рамы вагона и ударную розетку.
Хвостовик автосцепки - это часть корпуса, предназначенная для крепления на железнодорожном подвижном составе и передачи продольных нагрузок.
Литые детали сцепных и автосцепных устройств разделяют на три группы. Корпус автосцепки относят к деталям первой группы. Детали первой группы отливаются из стали марки 20ГЛ и изготавливают по чертежам в соответствии с установленными требованиями, а также возможностью взаимозаменяемости для автосцепок и сцепок одной модели.
Нагрузку автосцепка передает через клин на тяговый хомут, который опорной частью передает усилие на дно корпуса поглощающего аппарата. Нажимной корпус с упорной плитой передает это тяговое усилие на упоры балки хребтовой рамы вагона.
Сжимающее усилие передается от хвостовика корпуса автосцепки на упорную плиту, которая сжимает поглощающий аппарат, опирающийся основанием корпуса на задние упоры хребтовой балки рамы вагона. Передние и задние упоры расположены на вертикальных стенках хребтовой балки и передают нагрузку на раму вагона. Современные вагоны оборудованы передними упорами, отлиты ми вместе с ударной розеткой, а задние упоры-заодно с надпятниковой отливкой.
Корпус автосцепки является ответственной деталью за исправную и безаварийную вагона.
Разработка более совершенных методов ремонта позволят снизить трудоёмкость работ, повысить качество выполненных работ и улучшить условия труда при ремонте автосцепки.
1 АНАЛИЗ ЭКСПЛУАТАЦИИ АВТОСЦЕПНОГО УСТРОЙСТВА
1.1 Анализ неисправностей автосцепных устройств
Анализ повреждений автосцепного устройства показал, что текущий отцепочный ремонт на автосцепное устройство приходится примерно 9 % от всех неисправностей. Техническое состояние автосцепного устройства влияет на безопасность движения подвижного состава. Своевременно не устранённые неисправности приводят к возникновению саморасцепа или падения деталей на путь, который приводят к угрозе схода с рельс подвижного состава.
Причинами неисправностей автосцепных устройств являются:
-
динамическая нагрузка, которая имеет максимальные значения при торможении и рывке с места, при маневрах, при движении в кривых пути и сортировочной горки;
-
наличие износов в результате трения поверхностей;
-
допущенные несоответствия технологии производства и ремонта;
-
наличие перепадов температур в пути следования;
-
отсутствие полной защищенности от абразивных частиц в зону трущихся поверхностей.
Вышеуказанные неисправности безусловно ведут к возникновению в деталях дополнительных износов поверхностей, трещин, отколов, обрывов и изгибов.
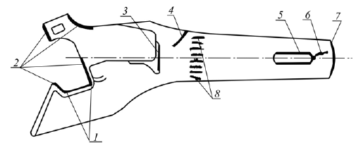
Общий вид корпуса автосцепки представлен на чертеже графического материала ДП 190302.65.01. К основным неисправностям корпуса автосцепки относятся (рисунок 1.1.1):
-
трещины 1 в углах ударной стенки зева и боковой стенки большого зуба, тяговой стороной большого зуба;
-
трещины в углах проема зева автосцепки для замка и замкодержателя. Данные трещины появляются в результате возникающих напряжений в зонах перехода поверхностей, в следствии уменьшения радиусов сопряжений контура зева корпуса автосцепки. Использование автосцепного устройства указало, что 40,3 % от общего количества корпусов автосцепки имеют трещины в этих зонах, что приводит к выбраковке;
Рисунок 2.1 – Места повреждений и износов корпуса автосцепки.
-
трещины 4 в месте перехода головы корпуса к хвостовику, а также трещины 6 в стенке отверстия под клин хомута. Неисправности в этой зоне возникают из-за разрушения и в результате большого износа перемычки со стороны клина. Уменьшение толщины происходит в результате износа 7 торца хвостовика при взаимодействии с упорной плитой, а также износа 5 стенок отверстия при взаимодействии с клином. Причиной износа является наличие продольных сил, действующих в поездах, значения которых могут превышать предел текучести металла применяемого для изготовления. Существующее соединение клином в автосцепках тип 2 заменили шарнирным соединением;
-
износы 2 тяговых и ударных поверхностей зубьев корпуса снижают качество динамики поездов и являются непосредственно причинами саморасцепа, а износы 8 поверхностей, которые соприкасаются с проёмом передней розетки случаются при отклонении корпуса автосцепки от вертикальной и горизонтальной осей. Проход вагона в кривых особенно при сцеплении вагонов с различной длиной в консольной части рамы оси автосцепки отклоняются и на первыми подвержены износам в вертикальных стенках корпуса. В случаях возникновения максимального допустимого износа остаточная прочность стенок является критической, в следствии чего хвостовик изгибается в горизонтальной плоскости, что приводит к появлению трещин. Такое же наблюдается и в вертикальном направлении, т.е. в поезде проходя разнообразные профили – происходят запирание корпусов автосцепок, что приводит хвостовик автосцепки вагонов в упор и через тяговый хомут в верхнюю полку хребтовой балки и вагон приподнимается. В этом случае происходит изгиб хвостовика или излом подвесок центрирующего прибора. Изучение подобных автосцепок с трещинами и изломами, указало на то что 62% от общего количества, при изготовлении имели дефекты производственного происхождения.
-
износ поверхности 3 упора головы автосцепки возникает в результате неэффективности работы поглощающих аппаратов при эксплуатации вагона. В случаях полного использования энергоемкости превышающая нормативную часть кинетической энергии передается мгновенно от упора корпуса на передний упор, и далее хребтовую балку. Данная система передачи усилий негативно влияет на исправность рамы и её эксплуатационные характеристики.
Значительные повреждения автосцепок на сортировочных станциях при сверхдопустимой скорости соударения вагонов, примерно 27 % вагонов повреждаются при производстве маневров, в том числе возникают трещины, изломы и разрывы сварных конструкций. Данные узлы не переносят значительные продольные усилия, а в литых деталях из-за наличия в них концентраторов напряжений; сварные – из-за наличия остаточных напряжений после производства сварки, разнородности металла и присутствия концентраторов напряжений. Осмотр на наличие трещин при техническом обслуживании вагонов выполняется осмотрщиками-ремонтниками вагонов по технологии установленной вагонным депо.
Одним из видов нарушения безопасности движения поездов по неисправностям автосцепного оборудования является обрыв автосцепки, что составляет около 4%. Причинами обрыва является наличие старых или вновь образованных трещин, которые своевременно не могут быть выявлены в эксплуатации, в тяговых полосах и хвостовиках, излом клина, просадка или излом пружин поглощающего аппарата. В исключительных случаях сход вагонов происходит из-за наезда колёсной пары на посторонний предмет.
Одной из главных причин количества обрывов является длительный срок службы корпуса автосцепки, при этом нормативные документы ограничивают срок службы тягового хомута в случаях обнаружения трещин трещин, а именно 20 лет. Ситуация ухудшается с возрастанием срока службы вагонного парка, а также большого количества вагонов с предельным сроком службы. Неразрушающий контроль литых деталей при назначении нового срока службы не исключает возможность появления дефектов в период эксплуатации. Данная проблема может быть решена внесением изменений в конструкцию автосцепки и использованием новых технологий контроля технического состояния.
Таже проблемой являются возникающие саморасцепы ( примерно 2–5 % общего количества событий). Причинами саморасцепа являются наличие износов на деталях механизма, в том числе неисправный предохранитель от саморасцепа по причине излома, изгиба, излома замкодержателя; сверхдопустимые износы деталей приводит к преждевременному включения предохранителя, а именно влечёт за собой сход с шипа замкодержателя; износ лапы замкодержателя или изменение формы упорной части противовеса замкодержателя.
Характеристики
Тип файла документ
Документы такого типа открываются такими программами, как Microsoft Office Word на компьютерах Windows, Apple Pages на компьютерах Mac, Open Office - бесплатная альтернатива на различных платформах, в том числе Linux. Наиболее простым и современным решением будут Google документы, так как открываются онлайн без скачивания прямо в браузере на любой платформе. Существуют российские качественные аналоги, например от Яндекса.
Будьте внимательны на мобильных устройствах, так как там используются упрощённый функционал даже в официальном приложении от Microsoft, поэтому для просмотра скачивайте PDF-версию. А если нужно редактировать файл, то используйте оригинальный файл.
Файлы такого типа обычно разбиты на страницы, а текст может быть форматированным (жирный, курсив, выбор шрифта, таблицы и т.п.), а также в него можно добавлять изображения. Формат идеально подходит для рефератов, докладов и РПЗ курсовых проектов, которые необходимо распечатать. Кстати перед печатью также сохраняйте файл в PDF, так как принтер может начудить со шрифтами.










