ПЗ (1207587), страница 10
Текст из файла (страница 10)
Рис 3.4 Схема расстановки бульдозеров и грейдера при срезке старого балласта.
Путеукладочным поездом УКС-25/9-18 укладывают новые звенья. Работу выполняют 30 монтеров пути бр. №2 и 3 и 4 машиниста. При этом (в отличие от технологии работ с симметричным звеном) после опускания звена выполняются следующие операции:
-
поперечное перемещение заднего конца звена на ось земполотна до совмещения концов стыкуемых рельсов;
-
стыковка звена с установкой накладок на стыки рельсов колеи 1067мм и наживление двух болтов на каждом звене;
-
поперечное перемещение переднего конца звена на ось земполотна с контролем положения в плане;
-
окончательное опускание и расстроповка звена;
-
грубая рихтовка середины звена;
-
частичное ослабление клемм, продольное перемещение рельсов с установкой нормальных стыковых зазоров, закрепление клемм.
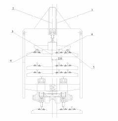
Рис. 3.5 Положение вывешенного звена в порталах УКс-25/9-18.
1- Ось земполотна и пути колеи 1520 мм. 2- Ось пути колеи 1067 мм и крана. 3- Ось вывешенного звена.
4- Инвентарные рельсы. 5- Строповочные рубки.
Во время остановок работы крана для перетяжки пакетов звеньев эти же бригады выполняют частично поправку шпал по эпюре, установку и закрепление остальных стыковых болтов. За путеукладочным поездом 8 монтера пути бр. №4 поправляют остальные шпалы по эпюре, демонтируют строповочные рубки с укладкой их на обочину, на подготовленные площадки.
В конце участка работ 8 монтеров пути бр. №3 отрезают рельсы демонтируемого пути по разметке, сверлят болтовые отверстия и укладывают инвентарные рельсовые рубки. 14 монтеров пути выполняют грубую рихтовку старого пути на сопряжении с новым с образованием S-образных кривых для отвода проектного смещения оси пути.
Из хоппер-дозаторов выгружается щебеночный балласт в объеме 650 м3 на 1км пути (527 м3 на фронт работ 675 м) по всей ширине пути с установкой дозатора на отметку «0». В пределах последнего уложенного звена балласт выгружается только на протяжении первых 5 м.
Вслед за хоппер-дозаторами движется электробалластер без работы. В пределах последнего уложенного звена (на протяжении которого выполнен отвод срезки старого балласта) дозаторными крыльями электробалластера старый балласт перемещается с обочин на концы шпал.
8 монтеров пути бр. № 2 забрасывают старый балласт в путь на отводе. 4 монтера пути бр. № 3 готовят место для зарядки струн электробалластера за 30 м до начала участка работ.
Возвращаясь в начало работ, электробалластер дозаторными крыльями выполняет срезку валов старого балласта с обочин. После зарядки дозаторных струн производится подъемка пути ЭЛБ-4МКС на величину 10-12 см.
Выправка пути со сплошной подбивкой шпал в подрельсовой зоне колеи 1067 мм выполняется двумя машинами ВПРС-03С: первая работает на протяжении 350 м в конце фронта работ и на протяжении 50 м на старом пути для выполнения отвода, вторая начинает работу за 25 м до начала фронта работ и работает на протяжении 325 м первой половины фронта работ.
По окончании вышеуказанных работ и проверки состояния пути на всем участке перегон открывают для движения первого поезда со скоростью 15 км/час, последующих – 25 км/ч.
На следующий день, в «окно», на фронте работ 675 м (участок № 1) из хоппер-дозаторов выгружается щебеночный балласт на концы шпал в объеме 340 м3 на 1 км пути (230 м3 на фронт работ). При этом дозатор со стороны рельсовой нити колеи 1520 мм устанавливается на отметку «+15», с другой стороны – на отметку «0». ВПО-3000С производится подъемка пути на высоту 80 мм. ВПРС-03С выполняется измерительный проезд, сплошная подбивка шпал в зонах рельсов колеи 1067 мм и выправка пути в местах зарядки и разрядки ВПО-3000С и отклонений по уровню и в плане. После проверки состояния пути перегон открывается для движения поездов со скоростью 25 км/ч.
На участке №2 в этот день выполняются подготовительные работы, а на следующий день комплекс работ по смене рельсошпальной решетки.
В пятый день, в «окно», на участке №1 из хоппер-дозаторов выгружается 360 м3 на 1 км пути (260 м3 на фронт работ) щебеночного балласта на концы шпал и 340 м3 на 1 км пути (260 м3 на фронт работ) – на участке № 2.
На участке № 2 ВПО-3000 производится подъемка пути на высоту 80 мм и сплошная подбивка шпал в зонах рельсов колеи 1067 мм и выправка пути ВПРС-03.
На участке №1 16 монтеров пути выполняют перераспределение балласта следующим образом: со стороны рельсовой нити колеи 1520 мм щебень с концов шпал перемещается на откос балластной призмы, со стороны общей рельсовой нити щебень с концов шпал и его излишки с откоса балластной призмы забрасываются внутрь колеи. ВПР-02 выполняется выправка пути со сплошной подбивкой шпал.
После проверки состояния пути перегон открывается для движения поездов со скоростью 25 км/ч на участке №2 и со скоростью 40 км/ч на участке №1.
В отделочный период бригада в составе 10 монтеров пути выполняет оправку балластной призмы с формированием плеча балластной призмы шириной 35 см, 2 монтера пути выполняют установку и окраску путевых знаков, монтаж стеллажа покилометрового запаса. Путевым стругом производится планировка обочин и откосов земполотна.
ВПР –02 выполняется выправка пути со сплошной подбивкой шпал в подрельсовых зонах колеи 1067 мм с формированием проектного плана и профиля пути. По окончании выправки путь открывается со скоростью 60 км/час.
1 раз в 10 дней на протяжении 5 фронтов смены рельсошпальной решетки краном МПТ загружаются строповочные рубки с обочины пути с укладкой на прицепную платформу. Работу выполняют 4 монтера пути и 2 машиниста МПТ. Загруженная платформа отправляется на звеносборочную базу.
После обкатки выполняется послеосадочная выправка пути.
На фронте работ 675 м из хоппер-дозаторов выгружается щебеночный балласт на концы шпал в объеме 360 м3 на 1 км пути (200 м3 на фронт работ). При этом дозатор со стороны рельсовой нити колеи 1520 мм устанавливается на отметку «+15», с другой стороны – на отметку «0».
16 монтеров пути выполняют перераспределение балласта следующим образом: со стороны рельсовой нити колеи 1520 мм щебень с концов шпал перемещается на откос балластной призмы, со стороны общей рельсовой нити щебень с концов шпал и его излишки с откоса балластной призмы забрасываются внутрь колеи.
ВПР-02 выполняется выправка пути со сплошной подбивкой шпал.
Бригада в составе 16 монтеров пути выполняет оправку балластной призмы.
После выполнения послеосадочной выправки путь открывается с установленной скоростью.
График распределения работ по дням приведен на рисунке 3.6
Условные обозначения
3.4 Калькуляция стоимости 1 км капитального ремонта
Калькуляция стоимости 1 км капитального ремонта пути на участке Томари - Пензенская Дальневосточной ж.д. составлена на основании рабочего проекта в соответствии со следующими нормативными документами:
– Инструкция о составе, порядке разработки, согласования и утверждения проектно-сметной документации на капитальный ремонт зданий и сооружений железнодорожного транспорта ВНКР-97.от 03.07.97г.
– Отраслевые нормы времени на работы по ремонту верхнего строения пути. Утверждены Вице- президентом ОАО РЖД С. Ю. Ивановым 08.04.2004 (ТНК-2004).
– Отраслевые элементные сметные нормы на ремонты верхнего строения ж. д. пути ОЭСНр-2001 сб.2. Разные работы, выполняемые при ремонтах (вторая редакция).
– Сметные нормы и единичные расценки на капитальный ремонт объектов ж.д. транспорта.
Путевые работы выполняются ПМС-186. Стоимость работ определена в текущих ценах по состоянию на 2016 г.
Стоимость затрат труда определена в соответствии с минимальной тарифной ставкой работников 1 разряда, связанной с движением, годовой нормой часов и коэффициентом, предусмотренным ОЕТС.
1 разряд 45,95руб.
2 разряд 52,38 руб.
3 разряд 62,03 руб.
4 разряд 71,22 руб.
5 разряд 79,49 руб.
6 разряд 86,39 руб.
При необходимости средний тарифный разряд работ типовой укрупненной нормы времени определяется самостоятельно согласно п.15 ТНК-2004.
В составе прочих затрат на оплат труда согласно ВНКР 97 от 02.07.97 учтены:
– Затраты, связанные с подвижным характером работ-30%, Распоряжение №135 от 31.01.07.
– Затраты, связанные с разъездным характером работ -1,5%, Положение об оплате труда №551 от 28.07.04.
– Затраты на премиальную систему оплаты труда монтерам пути-60%, справки дирекции
– Затраты на премиальную систему оплаты труда механикам машин тяжелого типа-60%, справки дирекции
– Районный коэффициент - 30%, Постановление №76 от 04.02.91.
– Доплата за непрерывный стаж работы - 30%, Постановление № 948 п.2
– Затраты на отпускные монтерам пути и механикам - 11%, справки дирекции.
При определении заработной платы монтеров пути, занятых на работах с железобетонными шпалами, а также на работы в «окно» , применен коэффициент- 1,08 в соответствии со справкой, предоставленной Дальневосточной дирекцией по ремонту пути.
Калькуляция приведена в Приложении А, таблицы А.2-А.8.
-
ПРОЕКТ ОРГАНИЗАЦИИ РАБОТ ПО УКЛАДКЕ ПЛЕТЕЙ БЕССТЫКОВОГО ПУТИ
-
Общие соображения и предпосылки
-
Бесстыковой путь – железнодорожный путь со сварными рельсовыми плетями, у которых при изменениях температуры удлиняются или укорачиваются концевые участки длиной до 50 - 70 м, а на остальном протяжении возникают продольные силы, пропорциональные изменениям температуры.
Начиная с 1960-х годов бесстыковой путь широко применяется как типовая конструкция на железных дорогах большинства развитых стран.
В России бесстыковой путь впервые был предложен в 1930 году инженерами М. С. Боченковым и К. Н. Мищенко.
Протяжённость бесстыкового пути на отечественных железных дорогах в начале 1980-х годов превысила 50 тысяч км (26 % длины сети) .
Число рельсовых стыков (самых слабых и напряжённых мест пути) в бесстыковом пути минимально. В бесстыковом пути сопротивления сдвигу преодолеваются в стыках и на двух концевых участках, называемых температурно-подвижными по 50—70 м , а средняя основная часть бесстыкового пути остаётся неподвижной. Такая конструкция бесстыкового пути(температурно-напряжённого типа) общепринята (различия заключаются лишь в длине плетей и способах их стыкования). Бесстыковой путь отечественных железных дорог представляет собой конструкцию со сварными рельсовыми плетями длиной 150—950 м, которые чередуюся с участками уравнительных пролётов, состоящих из 2—4 пар рельсов длиной по 12,5 м.
Бесстыковой путь в мировой практике железных дорог является наиболее прогрессивной и широко распространенной конструкцией верхнего строения пути, которая эксплуатируется в различных эксплуатационных и климатических условиях и дает существенный технико-экономический эффект благодаря ряду ее преимуществ, среди которых:
- повышение плавности и комфортабельности движения поездов по сравнению со звеньевым путем
- улучшение показателей динамического взаимодействия пути и подвижного состава
- увеличение межремонтных сроков этих технических средств
- уменьшение расходов на тягу поездов вследствие снижения основного сопротивления их движению,
- повышение надежности работы тяговых и сигнальных электрических цепей,
- уменьшение расхода металла для стыковых скреплений
- улучшение экологической ситуации за счет снижения шума от проходящих поездов и применения железобетонных шпал при сокращении потребления ценной деловой древесины и пропитки деревянных шпал вредными для здоровья антисептиками.
Эффективность и расширение сфер применения бесстыкового пути увеличиваются в результате освоения перекладки рельсовых плетей на участках их эксплуатации и повторного использования старогодных плетей на менее деятельных путях.
На железных дорогах Российской Федерации эксплуатируется температурно-напряженная конструкция бесстыкового пути. Основное отличие работы бесстыкового пути от обычного звеньевого состоит в том, что в рельсовых плетях действуют значительные продольные усилия, вызываемые изменениями температуры. При повышении температуры рельсовых плетей по сравнению с температурой закрепления в них возникают продольные силы сжатия, которые могут создать опасность выброса пути. При понижении температуры - появляются растягивающие силы, которые могут вызвать излом плети и образование большого зазора, опасного для прохода поезда, или разрыв рельсового стыка из-за среза болтов. Дополнительное воздействие на бесстыковой путь оказывают силы, создаваемые при выправке, рихтовке, очистке щебня и других ремонтных путевых работах.















