Белов- БЖД (1183106), страница 45
Текст из файла (страница 45)
Действующие в настоящее время Правила устройства и безопасной эксплуатации сосудов, работающих под давлением (ПБ–115–96), распространяются на:
– сосуды, работающие под давлением воды с температурой выше 115 °С или другой жидкости с температурой, превышающей температуру кипения при давлении 0,07 МПа, без учета гидростатического давления;
– сосуды, работающие под давлением пара или газа свыше 0,07 МПа;
– баллоны, предназначенные для транспортирования и хранения сжатых, сжиженных и растворенных газов под давлением свыше 0,07 МПа;
– цистерны и бочки для транспортирования и хранения сжиженных газов, давление паров которых при температуре до 50 °С превышает давление 0,07 МПа;
– цистерны и сосуды для транспортирования или хранения сжатых, сжиженных газов, жидкостей и сыпучих тел, в которых давление выше 0,07 МПа создается периодически для их опорожнения;
– барокамеры.
Правила не распространяют своего действия на:
– сосуды, изготавливаемые в соответствии с «Правилами устройства и безопасной эксплуатации оборудования и трубопроводов атомных энергетических установок», утвержденными Госатомэнергонадзором России, а также сосуды, работающие с радиоактивной средой;
– сосуды вместимостью не более 0,025 м3 независимо от давления, используемые для научно-экспериментальных целей;
– сосуды и баллоны вместимостью не более 0,025 м3, у которых произведение давления в МПа на вместимость в м3 не превышает 0,02;
– сосуды, работающие под давлением, создающимся при взрыве внутри их в соответствии с технологическим процессом;
– сосуды, работающие под вакуумом;
– сосуды, состоящие из труб с внутренним диаметром не более 150 мм без коллекторов, а также с коллекторами; выполненными из труб с внутренним диаметром не более 150 мм, а также ряд других типов сосудов (сосуды, устанавливаемые на морских и речных судах, самолетах и других летательных аппаратах; воздушные резервуары тормозного оборудования подвижного состава железнодорожного транспорта, автомобилей и других средств передвижения; сосуды специального назначения военного ведомства и т. д.);
– сосуды, на которые распространяется действие «Правил устройства и безопасной эксплуатации сосудов, работающих под давлением», до пуска их в эксплуатацию должны быть зарегистрированы в органах Госгортехнадзора России. Исключение составляют:
– сосуды 1-й группы, работающие при температуре стенки не выше 200° С, у которых произведение давления в МПа на вместимость в м3 не превышает 0,05, а также сосуды 2-й, 3-й, 4-й групп, работающие при указанной выше температуре, у которых произведение давления в МПа на вместимость в м3 не превышает 0,1 (к первой группе относятся сосуды, содержащие взрывоопасные и пожароопасные среды, или вещества 1-го и 2-го классов опасности по ГОСТ 12.1.007 независимо от температуры стенки и расчетного давления (выше 0,07 МПа). 2-я, 3-я, 4-я группы сосудов определяются расчетным давлением и температурой стенки, при условии, что сосуд не содержит среду, указанную для группы 1);
– аппараты воздухоразделительных установок и разделения газов, расположенные внутри теплоизоляционного кожуха;
– резервуары воздушных электрических переключателей;
– бочки для перевозки сжиженных газов, баллоны вместимостью до 100 л включительно, установленные стационарно, а также предназначенные для транспортировки и (или) хранения сжатых, сжиженных и растворенных газов;
– генераторы (реакторы) для получения водорода, используемые гидрометеорологической службой;
– сосуды, включенные в закрытую систему добычи нефти и газа (от скважин до магистрального трубопровода);
– сосуды для хранения или транспортировки сжиженных газов, жидкостей и сыпучих тел, находящиеся под давлением периодически при их опорожнении;
– сосуды со сжатым и сжиженными газами, предназначенные для обеспечения топливом двигателей транспортных средств, на которых они установлены;
-
сосуды, установленные в подземных горных выработках.
Для обеспечения безопасной и безаварийной эксплуатации сосуды и аппараты, работающие под давлением, должны подвергаться техническому освидетельствованию после монтажа и пуска в эксплуатацию, периодически в процессе эксплуатации, а в необходимых случаях и внеочередному освидетельствованию.
Объемы, методы и периодичность технического освидетельствования оговариваются изготовителем и указываются в инструкциях по монтажу и эксплуатации. В случае отсутствия таких указаний техническое освидетельствование проводится по указанию «Правил» ПБ10– 115–96. Так, для сосудов, не подлежащих регистрации в органах Госгортехнадзора России, установлена следующая периодичность: гидравлические испытания пробным давлением один раз в восемь лет, наружный и внутренний осмотр один раз в два года при работе со средой, вызывающей разрушение и физико-химическое превращение материала (коррозия и т. п.) со скоростью не более 0,1 мм в год и 12 месяцев при скорости более 0,1 мм в год.
Сроки и объемы освидетельствований других типов сосудов и баллонов, зарегистрированных и не зарегистрированных в органах Госгортехнадзора России, также устанавливаются в зависимости от условий эксплуатации (скорость физико-химических превращений) и типа сосуда.
При гидравлических испытаниях испытываемую емкость заполняют водой, после чего давление воды плавно повышают до значений пробного давления, указанного в табл. 5.1.
Таблица 51 Давление при гидравлических испытаниях
| Тип сосуда | Пробное давление, МПа | Примечание |
| Кроме литых Литые Из не металлических материалов Из не металлических материалов Криогенные сосуды Металлопластиковые | Рпр = 1,25 К*Ррас Рпр = 1,50К Ррас Рпр = 1,30 К Ррас Рпр = 1,60 К Ррас Рпр = 1,25 Ррас – 0,1 МПа Рпр = (1,25Км + α(1- Км)Ррас К | Ударная вязкость материала более 20 Дж / см Ударная вязкость материала менее 20 Дж /см Наличие вакуума в изо< ляционном пространстве |
К= δго,δt –допустимое напряжение для материала сосуда или его элемента соответственно при 20 °С и расчетной температуре, МПа, Км – отношение массы металлоконструкции к общей массе сосуда; а = 1,3 –для неметаллических материалов с ударной вязкостью более 20 Дж/см2. а = 1,6 –для неметаллических материалов с ударной вязкостью 20 Дж/см2 и менее
Применяемая вода должна иметь температуру не ниже 5 и не выше 40 °С, если иное не оговорено в паспорте на сосуд. Разность температур стенки сосуда и окружающего воздуха во время испытаний не должна вызывать конденсации влаги на поверхности стенок сосуда. Использование сжатого воздуха или другого газа для подъема давления не допускается.
Давление в испытываемом сосуде контролируется двумя манометрами одного типа, предела измерения, одинаковых классов точности, цены деления. Время выдержки пробного давления устанавливается разработчиком и обычно определяется толщиной стенки сосуда. Так, при толщине стенки до 50 мм оно составляет 10 мин, при 50–100 мм – 20 мин, свыше 100 мм – 30 мин. Для литых неметаллических и многослойных сосудов независимо от толщины стенки время выдержки составляет 60 мин.
После выдержки под пробным давлением давление снижается до расчетного, при котором производят осмотр наружной поверхности сосуда, всех его разъемных и сварных соединений. Сосуд считается выдержавшим гидравлическое испытание, если не обнаружено:
– течи, трещин, слезок, потения в сварных соединениях и на основном металле;
–течи в разъемных соединениях;
– видимых остаточных деформаций, падения давления по манометру.
Гидравлическое испытание допускается заменять пневматическим при условии контроля этого испытания методом акустической эмиссии или другим, согласованным с Госгортехнадзором России.
Техническое освидетельствование установок, работающих под давлением, зарегистрированных в органах Госгортехнадзора, производит технический инспектор, а установки, не зарегистрированные в этих органах,–лицо, на которое приказом по предприятию возложен надзор за безопасностью эксплуатации установок, работающих под давлением.
Сжиженные газы хранят и перевозят в стационарных и транспортных сосудах –цистернах (сосуды для сжиженных газов), которые в случае хранения криогенных жидкостей снабжены высокоэффективной тепловой изоляцией.
Криогенные сосуды номинальным объемом 6,3...40 л изготовляют в соответствии с ТУ 26-04-622–87.
Стационарные резервуары изготовляют объемом до 500 тыс. л и более. В зависимости от конструкции они бывают цилиндрической (горизонтальные и вертикальные) и шарообразной формы. Основные параметры и размеры внутренних резервуаров для сжиженных газов регламентированы ТУ 26-04-622–87.
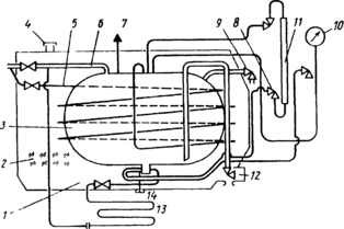
Транспортные сосуды (цистерны) обычно имеют объем до 35 тыс. л. Принципиальная схема такого резервуара представлена на рис. 5.3. Низкие температуры, при которых эксплуатируются внутренние сосуды криогенных резервуаров и цистерн, накладывают ограничения на материалы, используемые при их изготовлении.
В
промышленности в настоящее время используют газгольдеры низкого и высокого давления. Газгольдеры низкого давления–это сосуды переменного объема, давление газа в которых практически всегда остается постоянным. Из газгольдеров высокого давления расходуемый газ подается сначала на редуктор, а затем к потребителю. Газгольдеры высокого давления обычно собирают из баллонов большого объема, изготовляемых на рабочее давление меньше 25 МПа по ГОСТ 9731–79* и на 32 и 40 МПа по ГОСТ 12247–80*.Для управления работой и обеспечения безопасных условий эксплуатации сосуды в зависимости от назначения должны быть оснащены:
– запорной или запорно-регулирующей арматурой;
– приборами для измерения давления;
– приборами для измерения температуры;
–
Рис 53 Криогенный резервуар
1–кожух; 2–изоляции; 3–сосуд для криогенной жидкости; 4–предохранительная мембрана;
5 – змеевик; 6 – дренажная труба; 7 – предохранительный клапан; 8 – вентиль; 9 – заправочный вентиль; 10–манометр; 11–указатель уровня; 12–вентиль для слива; 13–испаритель; 14– пробка для продувки отстойника
предохранительными устройствами;– указателями уровня жидкости.
Арматура должна иметь следующую маркировку:
– наименование или товарный знак изготовителя;
– условный проход;
– условное давление, МПа (допускается указывать рабочее давление и допустимую температуру);
– направление потока среды;
– марку материала корпуса.
На маховике запорной арматуры должно быть указано направление его вращения при открывании или закрывании арматуры. Арматура с условным проходом более 20 мм, изготовленная из легированной стали или цветных металлов, должна иметь паспорт установленной формы, в котором должны быть указаны данные по химсоставу, механическим свойствам, режимам термообработки и результатам контроля качества изготовления неразрушающими методами.
Каждый сосуд и самостоятельные полости с разными давлениями должны быть снабжены манометрами прямого действия. Манометр устанавливается на штуцере сосуда или трубопроводе между сосудом и запорной арматурой. Манометры должны иметь класс точности не ниже 2,5–при рабочем давлении сосуда до 2,5 МПа, 1,5–при рабочем давлении сосуда свыше 2,5 МПа. Манометр должен выбираться с такой шкалой, чтобы предел измерения рабочего давления находился во второй трети шкалы. На шкале манометра владельцем сосуда должна быть нанесена красная черта, указывающая рабочее давление в сосуде. Манометр должен быть установлен так, чтобы его показания были отчетливо видны обслуживающему персоналу. Номинальный диаметр корпуса манометров, устанавливаемых на высоте до 2 м от уровня площадки наблюдения за ним, должен быть не менее 100 мм, на высоте от 2 до 3 м –не менее 160 мм. Установка манометров на высоте более 3 м от уровня площадки не разрешается.
Между манометром и сосудом должен быть установлен трехходовый кран или заменяющее устройство, позволяющее проводить периодическую проверку манометра с помощью контрольного.















