10.А И М ГОШ (1171743), страница 2
Текст из файла (страница 2)
для коротких (1/d 1-1,5) бункеры типа воронок , для длинных (1/d = 2 - 6) - ножевого типа. Для заготовок диаметром более 50 мм, квадратных заготовок, а также для стержневых заготовок с 1/d 8- 10 обычно применяются магазинные ориентирующие устройства.
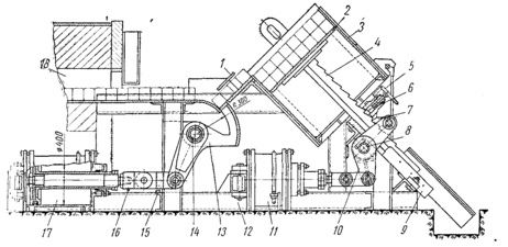
Рис. 5. Шиберная подача с кассетным магазинным устройством
На рис. 5 показано шиберное подающее устройство с пневматическим приводом и кассетным магазинным устройством для загрузки в методическую печь квадратных заготовок 100 Х 100 мм и длиной 200 мм. Все узлы устройства смонтированы на сварном основании 12, которое одновременно является и столом.
Заготовки (192 шт.), загружаются в съемную кассету, представляющую собой сварную коробку З с подвижным дном 2, установленную на основании 12. для удобства загрузки одна из боковых стенок кассеты сделана откидной; дно кассеты укреплено на торце зубчатой рейки 4, перемещающейся по направляю щей 9. Подъем дна на шаг обеспечивается от пневматического цилиндра 11 через двуплечий рычаг 10, поворачивающийся вокруг оси 8. движение от рычага 10 к рейке 4 передается через собачку 7. Шаг зубьев рейки равен стороне квадрата заготовки. Фиксатор 6 дает возможность рейке свободно перемещаться вверх, а вниз - только при оттянутой рукоятке 5.
При включении пневматического цилиндра 11 дно кассеты приподнимается, выдвигая последовательно по одному ряду заготовок, которые под действием силы тяжести попадают в приемник 1. Нижняя заготовка, находящаяся в приемнике, двигаясь по дуге, заталкивается шибером 13 в печь 18. При этом заготовки, находящиеся в печи, перемещаются на шаг, а крайняя (нагретая до не обходимой температуры) сталкивается на питающее устройство, транспортирующее ее к штамповочному агрегату.
Привод секторного шибера 13, качающегося на оси 14, обеспечивается от пневматического цилиндра 17. Упор 16, закрепленный на вилке штока, набегает на конечный выключатель 15, обеспечивающий переключение воздухораспределительного клапана и возвращение шибера 13 в исходное положение. Команда на включение цилиндра 17 подается от устройства, контролирующего нагрев крайней заготовки.
Количество заготовок в одной кассете достаточно для работы печи в течение 140 - 170 мин, т. е. за смену приходится менять кассеты до трех раз.
Рис. 6. Шиберная подача с лотковым устройством
На рис. 6 приведена схема работы шиберного толкателя с лотковым магазинным устройством для круглых заготовок 1, загружаемых в индукционный нагреватель 4. Толкатель 3, приводимый в действие от штока цилиндра 6, перемещает находящуюся на лотке 2 нижнюю заготовку в индукционный нагреватель 4 и сталкивает одновременно крайнюю заготовку из индуктора в питающее устройство. Включение штока цилиндра 6 на рабочий и обратный ход обеспечивается воздухораспределительным клапаном 5. Заготовки подаются в лоток 2 автоматически и вручную.
Расчет толкающих подающих устройств должен производиться исходя из условия обеспечения усилия проталкивания, необходимого для продвижения заготовок по неподвижному поду нагревательного устройства:
где Qр.п - расчетное усилие на штоке привода; G - сила тяжести одной заготовки;
m - число проталкиваемых заготовок;
β - коэффициент запаса, учитывающий динамические нагрузки и принимаемый равным 1,8-2;
µ - коэффициент трения при толкании, принимаемый равным по чугунным направляющим 0,5, по стальным 0,7, по кирпичной кладке 0,9.
Темп выдачи t из печи нагретых заготовок определяется ее производительностью П:
где П — производительность нагревательного устройства
шт/мин.
Число ходов n толкателя в минуту определяется по формуле
где m1 - число заготовок в одном ряду.
Величина хода L толкателя определяется в зависимости от расстояния, проходимого заготовкой от исходной позиции до позиции загрузки в печь:
где l - длина заготовки в направлении толкания;
lx - расстояние от исходной позиции по позиции загрузки.
Минимальная средняя скорость перемещения толкателя определяется из условия его непрерывной работы при темпе выдачи, равном :
где k = 1,2-1,4 - коэффициент, учитывающий неравномерность, перемещения толкателя и время переключения системы управления;
n - число ходов толкателя в мин.
Максимальную среднюю скорость Vmах рекомендуется принимать равной
где нижний предел берется для крупных заготовок, верхний - для мелких и средних.
Выносящие подающие устройства
Выносящие подающие устройства (за исключением транспортеров) обычно применяются на участках свободной ковки или штамповки при серийном производстве крупных поковок. Различают выносящие устройства малой механизации: посадочные вилки, патроны, крановые клещи и т. д. которые выполняют обычно только одну операцию (захват и удержание заготовки) и используются с универсальными подъемно-транспортными средствами, и выносящие устройства комплексной механизации, к которым относятся посадочные машины (шаржир-машины) различного типа.
Посадочные машины обеспечивают подачу заготовок к нагревательной печи, загрузку заготовок в печь и поворот их в печи, а также выдачу нагретых заготовок из печи к ковочному прессу или манипулятору.
Применяются следующие типы посадочных машин: 1 — напольные рельсовые; I —напольные безрельсовые; II — напольные стационарные; I — подвесные.
Машины типов II—IУ применяются при обслуживании печей, установленных у ковочных и штамповочных молотов, а также у мощных кривошипных горячештамповочных прессов; машины типа 1 — при обслуживании камерных печей у ковочных гидравлических прессов усилием до 12 000 кН (1200 тс) и у специализированных прессов (ковка жаропрочных сталей и специальных сплавов) усилием до 63 000 кН (6300 тс). Обычно одна посадочная машина обслуживает до 8—9 нагревательных печей или до З ковочных прессов.
Рис. 7. Рельсовая напольная посадочная машина
Посадочная машина состоит из приводного клещевого захватного органа и (в зависимости от универсальности) четырех приводов. Приводы обеспечивают следующие движения захватного органа — хобота (рис. 7): передвижение по цеху, вращение вокруг вертикальной оси, качание хобота в вертикальной плоскости и перемещение его параллельно горизонтальной оси. Управление этими движениями осуществляется оператором с рабочего места.
Напольные рельсовые машины (ГОСТ 1682—56) изготовляют грузоподъемностью 10, 30, 50 и 75 кн (1; 3; 5 и 7,5 тс). Выпускаются и более мощные машины, однако они очень громоздки, поэтому их применение в каждом конкретном случае должно быть обосновано.
Основными узлами машин типа 1 являются мост З, тележка 4, хобот 2 с захватным органом 1 и механизмы перемещения в на правлениях А, Б, В и Г.
В качестве приводов используются электрический (от сети или аккумуляторов), гидравлический (от индивидуального насоса, установленного обычно на машине) и реже пневматический привод. Подвод электроэнергии или подсоединение к цеховой пневмосети обеспечивается кабелем и гибкими шлангами, подвешенными на специальных кронштейнах.
Рис. 8. Безрельсовая напольная посадочная машина
На рис. 8 показана безрельсовая напольная посадочная машина, имеющая обычно три колеса: два передних и одно заднее, ведущее. Благодаря этому машина обладает необходимой подвижностью и маневренностью. Привод ведущего колеса машины осуществляется от электродвигателя 1. От этого же двигателя приводится масляный насос 2 для привода цилиндра З подъема хо бота 9 и силового цилиндра 7 захвата. Управление осуществляется рычагом 5 через контроллер 4. Электрический кабель подвешен к мачте б.
Посадочные машины этого типа выполняются грузоподъемностью от 1 до 10 кН (от 100 до 1000 кг) и имеют следующие основные узлы: основание (рама) 8, хобот 9 с силовым цилиндром 7 клещевого захвата, цилиндр З для качания хобота в вертикальной плоскости, электродвигатель 1 для перемещения и поворота машины. Кроме того, некоторые посадочные машины имеют приводы подъема и вращения хобота вокруг оси.
Напольные стационарные и подвесные посадочные машины изготовляются грузоподъемностью до 20 кН (2 тс), они представляют собой хобот с захватным органом, установленный или подвешенный на мостовом (балочном) кране. Эти машины менее универсальны и имеют до двух-трех движений хобота.
Проектирование и расчет посадочных машин проводятся аналогично проектированию ковочных манипуляторов. При выборе грузоподъемности посадочной машины нужно иметь в виду, что паспортное ее значение указывается исходя из строго заданного (максимального) расстояния центра тяжести груза от передних колес. Для определения основных параметров, необходимых для проектирования посадочных машин, можно воспользоваться рекомендациями, приведенными ниже для ковочных манипуляторов
4. Удаляющие устройства
Мелкие и средние нагретые заготовки транспортируются
к штамповочному агрегату с помощью стационарных и переносных
транспортеров, наклонных не приводных лотков, а крупные — с помощью посадочных машин и крановых клещей.
Лотки являются простейшими удаляющими устройствами, и для горячих заготовок и поковок их изготовляют в виде наклонных стальных или лучше чугунных плит толщиной 4— мм. Угол наклона лотка для заготовок, перемещающихся за счет скольжения, принимается равным 0,262—0,69 рад (15—40°), за счет качения 0,122—0,175 рад (7—10°). Чтобы избежать самопроизвольного падения, лотки должны иметь борта, придающие им форму желоба.
В кузнечных цехах применяются самые различные конструкции транспортеров. В последнее время наибольшее распространение для заготовок массой до 30 кг получили сетчатые и траковые транспортеры (рис. 9). Главными преимуществами траковых транспортеров по сравнению с пластинчатыми, цепными и другими являются их прочность, долговечность и удобство в эксплуатации. Звенья (траки) 2 обычно штампуют из отходов углеродистой стали и подвергают незначительной механической обработке (фрезерование и сверление ушков). Отдельные звенья — траки соединяются между собой пальцами 1 и легко заменяются при их износе.
Рис. 9. Траковый транспортер
Перемещение траковой ленты транспортера осуществляется при помощи шестигранных барабанов З, приводимых в движение от электродвигателя через ведущую шестерню (звездочку) 5. Для натяжения ленты служит устройство 4.
При сборке ленты траки собираются гладкой стороной книзу, что позволяет установить транспортер под углом до 0,524 рад (30°).
Для передачи заготовок, ориентированных в осевом направлении, применяются однорядные цепные транспортеры; двухрядные обеспечивают ориентацию заготовок, ось которых расположена перпендикулярно движению.
Рис. 10. Скребковый транспортер
Заготовки из приемников удаляются скребковыми транспортерами, обеспечивающими надежную связь скребка с заготовкой (рис. 10). Скорость движения заготовок на таком транспортере достигает до 1 м/сек, предельный угол наклона транспортера 0,785 рад (450)
















