2_7 (1086084), страница 2
Текст из файла (страница 2)
xn-1(t) = UCm sin[(С + )t + n-1], (n – 1)TC t nTC.
При вычислении выходного напряжения коррелятора U [] учтем, что посылка xn-1(t) после совмещения ее во времени с посылкой xn(t) (с помощью линии задержки на время = TC) примет вид
xn(t) = UCm sin[(С + )(t + ) + n-1].
Тогда U [] 0,5 UCm TC cos (n – n-1 + ).
Следовательно, результат обработки сигнала зависит от случайного изменения частоты , и если > 0,5 TC, то в соответствии с (2.9) знак U [] изменяется и в фиксируемом сообщении произойдет ошибка. Поэтому для такой системы р0ФРМ-1 invar .
В системе с ФРМ-2 информация заложена во вторую разность фаз
2 = (n+1 – n ) – (n – n-1).
Структурная схема приемного решающего устройства – рис. 2.4. Отсчет напряжения на выходе интегратора пропорционален
cos(n – n-1) и sin(n – n-1);
остальные элементы схемы вычисляют значение cos2. Такой приемник реализует алгоритмы обработки трех последовательных посылок сигнала xn-1, xn, xn+1:
U [] = sign (XnXn-1 + YnYn-1),
Где Xn =
xn+1(t) xn(t) dt; X n-1 =
xn(t) x n-1(t) dt;
Yn =
xn+1(t) x*n(t) dt; Y n-1 =
xn(t) x*n-1(t) dt.
Здесь символ «*» означает преобразование Гильберта.
U [x(t)] = 0,5 UCm TC cos 2 = invar .
Плата за инвариантность – усложнение аппаратуры и снижение помехоустойчивости к аддитивным помехам.
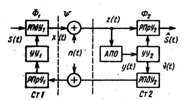
2.8.3 Адаптивные системы радиосвязи. Адаптация – процесс изменения структуры системы радиосвязи или/и ее параметров на основе текущей информации об обстановке в канале с целью достижения требуемого качества приема сообщений при априорной неопределенности сведений о помехах в изменяющихся условиях работы. Адаптация обеспечивает расширение инвариантности системы связи к помехам. Пример адаптивной симплексной радиолинии показан на рис. 2.5.
Процесс передачи сообщений – это последовательность преобразования сигналов, источника S(t) в радиопередатчике РПдУ1, среде распространения и радиоприемнике РПрУ2, описываемых соответствующими операторами 1, и 2. К получателю поступает
Ŝ(t) = 2 < {1 [S(t)]}
– оценка сигналов S(t) с учетом влияния помех n(t), нелинейности функциональных элементов канала, запаздывания исполнения команд управления, посылаемых со станции 2 на станцию 1 по обратному (вспомогательному – командному) каналу. Оператор среды — объективно независимый, и его влияние можно ослабить только целенаправленным изменением операторов 1 и 2. Сложность реализации этих операторов, обеспечивающих близость оценки Ŝ(t) к сигналу S(t), зависит от полноты совокупности сведений об операторе и степени их использования. Соответствующие функции выполняет анализатор помеховой обстановки (АПО), который оценивает параметры принимаемого колебания z(t) и формирует сигнал y(t), несущий сведения о помеховой обстановке. По сигналу y(t) управляющее устройство УУ2 вырабатывает сигналы управления РПрУ2 и командные сигналы (t) управления РПдУ1 посылаемые по командному (служебному) каналу. Решение о функционировании системы может выноситься на передающей (системы с информационной ОС) или на приемной (системы решающей ОС) стороне.
В диапазоне ВЧ получили распространение частотно-адаптивные радиолинии (ЧАР) с изменяющейся присвоенной частотой. С этой целью все множество рабочих частот разбивается на частотные группы (ЧГ), равноудаленные друг от друга. Обычно ЧАР службы связи и вещания имеют 8…10 таких групп по 5…10 рабочих частот в каждой. При этом характерны два режима функционирования ЧАР – смена частот в пределах частотной группы и смена самих ЧГ. Первый режим соответствует адаптации к быстрым замираниям и узкополосным помехам, второй – к медленным замираниям и широкополосным помехам.
Из всех известных алгоритмов функционирования ЧАР наибольшее распространение получил экстремально-пороговый алгоритм, который сводится к выбору частоты, на которой обеспечивается наибольшее среднее время работы при вероятности ошибки p0 p0Д. Для оценивания ЭМО в информационном канале в АПО используются автоматизированные панорамные РПрУ. Запаздывание исполнения команд управления и их искажение вызывают ошибки двух видов – переключение радиолинии на частоту, на которой не обеспечивается приведенное выше условие, что может сопровождаться появлением пакетов ошибок, и простой пригодного частотного канала, что снижает оперативность связи. Поэтому управление частотами целесообразно осуществлять по прогнозируемым значениям hС2, а в командном канале использовать помехоустойчивые коды.
Частотно-адаптивные радиолинии могут работать в автономном режиме и с централизованным управлением. Автономный режим усложняет процедуру присвоения частот при высокой засоренности диапазона станционными помехами, затрудняет обеспечение электромагнитную совместимость (ЭМС) с неадаптивными радиолиниями. Объединение нескольких ЧАР в группу, присвоение ей общей полосы частот и централизованное управление сменой частот в радиолиниях группы позволяют более экономно расходовать частотный ресурс и улучшают ЭМС с адаптивными радиолиниями. Во всех случаях в РПрУ должны осуществляться беспоисковое вхождение в связь и бесподстроечное ее ведение.
Адаптация в РПрУ. Функциональные элементы с адаптивным управлением в РПрУ: антенны с пространственной обработкой сигналов, компенсаторы помех в тракте радиочастоты и УПЧ, мажоритарные модуляторы составных сигналов, демодуляторы цифровых сигналов с робастными алгоритмами обработки.
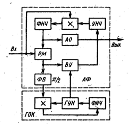
Принцип действия адаптивного компенсатора помех иллюстрируется рисунком 2.6.
Адаптивная весовая обработка заключается в суммировании всех п параллельных каналов приема с учетом их шумовых весов – в формировании выходного сигнала
Такая обработка реализуется в корректорах ФЧХ канала и в адаптивных п-элементных антенных решетках.
Адаптивные поляризационные компенсаторы эффективны, когда помеха перекрывается с сигналом по частоте и времени и попадает на вход РПрУ по основному лепестку диаграммы направленности антенны. Такие компенсаторы содержат антенную решетку из биортогональных элементов с устройством суммирования и обеспечивают подавление помех на 10...15 дБ.
Адаптивные демодуляторы дискретных цифровых сигналов обычно выполняются на корреляторах либо на согласованных фильтрах. В первом случае основная техническая задача заключается в формировании когерентных опорных сигналов, во втором – в реализации фильтра с малыми потерями. Обычно известна точно только несущая частота посылок, а начальная фаза оценивается с погрешностью, задаваемой системой ФАПЧ, с помощью которой из принимаемого колебания формируется опорный сигнал. Поиск и захват несущей частоты осуществляются системой ЧАПЧ – такие демодуляторы называются квазикогерентными.
Для приема дискретных фазомодулированных (фазоманипулированных (ФМн)) сигналов известны различные схемы формирования опорного напряжения, которые на высоких промежуточных частотах могут оказаться недостаточно эффективными, и в УПЧ необходимо применять быстродействующую автоматическую регулировку усиления (БАРУ). Современные адаптивные квазикогерентные демодуляторы ФМн (PSK) сигналов не содержат системы БАРУ и АО на входе, но имеют высокие показатели.
| Демодулятор на рис.2.7 содержит два основных функциональных блока – адаптивный фильтр (АФ) и генератор опорных колебаний (ОК). В состав АФ входит реверсивный модулятор (РМ), устраняющий модуляцию входного сигнала и охваченный цепью обратной связи. В этой цепи с помощью вычитающего устройства (ВУ) сравниваются амплитуды колебаний с устраненной модуляцией и опорного. При большом усилении в цепи обратной связи их значения оказываются примерно одинаковыми ври изменении входного сигнала uВХ(t) в широких пределах. |
Полоса пропускания цепи обратной связи выбирается шире спектра сигнала. Поэтому она работает как малоинерционная АРУ и стабилизирует уровень колебаний на входе генератора опорных колебаний. Это ослабляет влияние замираний в канале на величину фазового рассогласования , вносимого начальной расстройкой генератора опорных колебаний.
Робастные методы обработки сигналов применяются в задачах обнаружения, оценивания и кодирования сигналов в системах связи и вещания при распознавании образов и др. Робастный подход полезен, когда необходимо учитывать снижение эффективности оптимальных процедур обработки из-за отклонения реальных значений параметров сигналов и помех от априорной модели. Оптимальные алгоритмы обработки чувствительны к таким отклонениям и неустойчивы в сложной электромагнитной обстановке (ЭМО) при появлении в канале комплекса помех с различными законами распределений параметров. Робастные алгоритмы обладают высокой эффективностью в номинальных условиях.
2.9 СПОСОБЫ ОСЛАБЛЕНИЯ ВОСПРИИМЧИВОСТИ
РАДИОПРИЕМНЫХ УСТРОЙСТВ К ПОМЕХАМ
Технические меры защиты РПрУ от помех: экранирование элементов, фильтрация в цепях питания, заземление, ослабление электромагнитных связей между проводниками, искрогашение в контактных устройствах.
2.9.1 Экранирование элементов радиоприемников. Электромагнитный экран ослабляет поля излучений внешних источников в пределах определен-ной зоны. Экранирование применяется для отдельных элементов, функциональных узлов и блоков радиоаппаратуры. В зависимости от материала и конструкции экраны по-разному ослабляют электрическую и магнитную составляющие поля – различают электростатические, магнитостатические и электромагнитные экраны.
Характер поля помех в данной точке пространства зависит от типа источника (электрический или магнитный диполь) и его удаления RH от рецептора. В дальней зоне излучения (RH 100, где = – волновой параметр) характеристические сопротивления среды при электрическом ZE и магнитном ZH диполе практически совпадают, и экран одинаково ведет себя относительно обоих полей. В ближней зоне излучения (RH < 0,01) роль магнитной составляющей с понижением частоты падает, что сопровождается ростом ZE, а при f = 0 поле становится электростатическим. Для магнитного диполя имеем обратную картину, и при f = 0 поле становится магнитостатическим.
Электростатическое экранирование – замыкание силовых линий поля источника на поверхность экрана и отвод наведенных зарядов на массу – эффективно устраняет емкостные связи. Магнитостатическое экранирование основано на замыкании силовых линий поля в толщине материала экрана, обладающего повышенной магнитной проницаемостью. С ростом частоты в стенках экрана; возникают вихревые токи, поле вытесняется из толщи экрана в его наружный слой – экран переходит в электромагнитный режим.
Экраны выполняются из металлов (медь, латунь, сталь, алюминий), а также из ферромагнитных материалов (пермаллой, -металл). Они могут быть одно- и многослойными, сплошными и перфорированными, сетчатыми. Для снижения массы и повышения температурной стойкости экранов их часто изготавливают из сплавов алюминия и магния, легированных марганцем и цинком. При жестких требованиях к эффективности и массогабаритным показателям экраны выполняют многослойными в виде чередующихся слоев из немагнитных (наружный слой) и магнитных материалов, например: медь-сталь-медь, алюминий-сталь-алюминий. С этой же целью применяются пластмассы, керамика, слюда с металлизированным покрытием, наносимым напылением, а также металлические сетки, заформованные в неопрене или резине.
Особое внимание необходимо уделять экранированию катушек индуктивности, трансформаторов, интегральных микросхем (ИМС). Платы с ИМС должны иметь общие экраны. В узлах аппаратуры с помехообразующими элементами целесообразно применять ИМС с металлостеклянными или металлокерамическими корпусами. Сплошные и двухслойные металлические оболочки коаксиальных кабелей обеспечивают эффективность экранирования более 40 дБ. Металлические оплетки из проволоки или ленты, используемые для экранирования межблочных соединительных линий, обеспечивают в диапазоне частот 20...200 кГц эффективность экранирования 40...60 дБ.















