Химмотология ракетных и реактивных топлив (1043407)
Текст из файла
Химмотология ракетных и реактивных топлив.
ВВЕДЕНИЕ
Вторая половина XX века ознаменовалась бурным развитием реактивной техники — авиационной, ракетной, космической, т. е. техники, в которой используется реактивный принцип движения, осуществляемый с помощью реактивных двигателей. Обычно реактивные двигатели делят на два класса: ракетные, работающие на жидком или твердом топливе, и воздушно-реактивные—газотурбинные, турбовинтовые, прямоточные и пульсирующие двигатели. В первых окислитель и горючее находятся в самой ракете, поэтому они могут функционировать без атмосферного воздуха, в частности, в космическом пространстве. Вторые способны работать лишь в условиях воздушной среды, поскольку в этих двигателях окислителем горючего служит кислород воздуха.
Применение ракетных двигателей позволило решить проблему достижения высоких скоростей движения летательных аппаратов, в том числе 1-й и 2-й космической, обеспечить возможность преодоления больших расстояний как в земных условиях—межконтинентальные баллистические ракеты, так и в космосе—полеты космических аппаратов на околоземных орбитах, на Луну, Венеру и к другим планетам Солнечной системы.
Использование воздушно-реактивных двигателей (ВРД) в авиации дало возможность преодолеть звуковой барьер скорости, увеличить высоту и дальность полета самолетов. Уже достигнуты скорости 2—4 М, т. е. в 2—4 раза превышающие скорость звука; создаются гиперзвуковые летательные аппараты с еще большими скоростями полета. Постепенно авиационная техника смыкается с космической. Пилотируемый космический корабль многоразового действия несет в себе многие качества самолета, а беспилотный летательный аппарат с ВРД называют крылатой ракетой. Самолеты с воздушно-реактивным двигателем составляют основу современной авиации, вытеснив самолеты с поршневыми двигателями, эксплуатационные характеристики которых значительно хуже.
Бурное развитие, особенно за последние 30—40 лет, получила ракетная техника. Созданы многочисленные конструкции ракет самого разного назначения — от небольших противотанковых реактивных снарядов до огромных межконтинентальных баллистических ракет и ракет-носителей, способных выводить на околоземную орбиту многотонные космические аппараты и корабли многоразового действия, в том числе с экипажем в составе 3—7 человек. Во всех этих ракетах и космических аппаратах установлены ракетные двигатели—жидкостные или твердотопливные различной тяги: от нескольких граммов (микродвигатели коррекции космических аппаратов) до сотен тонн (двигатели ракет-носителей).
Ведущая роль в создании и развитии реактивной техники принадлежит нашей Родине. Великий русский ученый Н. Е. Жуковский, которого по праву называют отцом русской авиации, еще в 1882—1886 гг. впервые в мире разработал основы теории реактивного движения. Неоценим вклад в развитие реактивной, и в частности ракетной, техники выдающегося русского изобретателя и ученого К. Э. Циолковского —основоположника современной космонавтики. Он разработал научную теорию межпланетных и космических полетов, показав, что единственным средством для их осуществления являются многоступенчатые ракеты с жидкостными ракетными двигателями (ЖРД) [I]. Ему же принадлежат разработка принципа действия и схемы ЖРД, обоснование схемы насосной подачи компонентов ракетного топлива в камеру сгорания, наружного охлаждения стенок двигателя одним из компонентов топлива. Он вывел формулу для расчета максимальной скорости движения ракеты в конце активного участка.
В качестве компонентов жидких ракетных топлив К. Э. Циолковский один из первых предложил рассматривать жидкий водород, углеводороды, жидкий кислород и оксиды азота. Это ракетные окислители и горючие, которые и в настоящее время используют в ЖРД ракет-носителей, что позволило осуществить заветную мечту К. Э. Циолковского о космических полетах. Им были исследованы величины тепловых эффектов реакций сгорания различных химических элементов и сформулированы основные требования к жидким ракетным топливам (ЖРД) [I].
В дальнейшем основные идеи К. Э. Циолковского были развиты и экспериментально осуществлены его последователями Ю. В. Кондратюком, Ф. А. Цандером, В. П. Ветчинкиным, М. К. Тихонравовым, С. П. Королевым, В. П. Глушко, А. М. Исаевым, Ю. А. Победоносцевым, Н. Г. Чернышевым и другими энтузиастами ракетной техники [2]. Многие из них внесли существенный вклад не только в создание и развитие жидкостных ракетных двигателей, но и в обоснование выбора и применения компонентов ракетных топлив. Ю. В. Кондратюк, например, предложил использовать в качестве ракетных горючих гидриды бора и лития. Перспективными эффективными ракетными окислителями он считал жидкие озон и кислород, а горючими—нефтепродукты, жидкие водород, метан и ацетилен, а также некоторые металлы — алюминий, магний, кремний, бор, литий [2, 6]. Ф. А. Цандер одним из первых создал и испытал ЖРД на бензине и жидком кислороде. Он успешно разрабатывал вопросы рационального подбора компонентов ракетных топлив и использования в их составе металлов. Ему принадлежит идея сжигания в двигателе отдельных металлических частей ракеты после израсходования топлива [2].
Значительную работу по изучению свойств жидких ракетных топлив и процессов их горения в двигателе выполнил Н. Г. Чернышев [З]. Большой вклад в развитие отечественных жидкостных ракетных двигателей и топлив для них внес академик В. П. Глушко. Он всегда уделял особое внимание правильному выбору источников энергии для ЖРД. Им еще в 1930 г. было предложено использовать в качестве окислителей азотную кислоту, четырехокись азота (тетраоксид диазота), тетранитрометан, пероксид водорода и хлорную кислоту [2]. Тогда же 3. П. Глушко предложил использовать коллоидное горючее, содержащее бериллий. Ему принадлежит идея использования трехкомпонентных ракетных топлив, таких, как О2—Н2—Be и F2—Н2—Li, позволяющих получить удельную тягу до 500 с, а также разработка и внедрение принципа химического зажигания в ЖРД [1, 4].
Среди зарубежных исследователей наиболее существенный вклад в развитие ракетной техники, особенно в период ее зарождения, внесли Г. Оберт и В. Браун (Германия), Е. Зенгер (Австрия), Р. Эно-Пельтри (Франция), Р. Годдард (США) и другие [2, 5].
В создании и развитии воздушно-реактивных двигателей отечественная наука и практика также всегда занимали передовые позиции в мире. Еще в 1887 г. инженером П. Д. Кузьминым впервые был создан газотурбинный двигатель, работающий на керосине; и сегодня этот вид топлива является основным в авиации (с учетом, конечно, происшедших за истекшее время изменений в составе и технологии получения топлива). В 1906— 1908 гг. инженером Короводиным был построен воздушно-реактивный двигатель пульсирующего типа, работающий на бензине [6].
Важным вкладом в развитие воздушно-реактивных двигателей кроме фундаментальных работ Н. Е. Жуковского стали теоретические исследования С. А. Чаплыгина, Б. С. Стечкина, а также экспериментальные и опытно-конструкторские работы талантливых советских конструкторов А. Н. Туполева, В. В. Ильюшина, О. К. Антонова, А. С. Яковлева, М. Л. Миля, Н. Д. Кузнецова, А. М. Люльки и других. На советских самолетах и вертолетах с воздушно-реактивными двигателями установлены многие мировые рекорды по скорости, дальности и высоте полета. Большое значение для развития воздушно-реактивных двигателей имели многочисленные работы, выполненные советскими учеными в области создания реактивных топлив и их рационального применения в авиационной технике.
Создание и развитие реактивной техники стало важнейшей составной частью современного научно-технического прогресса, оказавшей и продолжающей оказывать огромное влияние на социальное и экономическое развитие всех стран. Многие миллионы людей ежегодно пользуются услугами гражданской авиации, миллионы тонн грузов переводит транспортная авиация; спутники связи, выведенные на соответствующие орбиты, обеспечивают передачу телевидения на огромные расстояния, фактически в любую точку земного шара; космические исследования открыли новые горизонты научных знаний и их практического применения. В то же время реактивная техника превратилась в грозное оружие войны, которое в сочетании с ядерными и другими средствами массового уничтожения людей несет смертельную опасность всему человечеству.
Современная реактивная техника чрезвычайно сложна и дорога, поэтому важнейшим требованием, предъявляемым к ней, являются высокая ее надежность и долговечность при эксплуатации. Большую роль при этом играют эффективность и качество ракетных и реактивных топлив, их эксплуатационные свойства. В связи с этим проблемы химмотологии указанных топлив имеют очень важное научное и практическое значение.
Раздел 1
Жидкие ракетные топлива
Глава 1
УСТРОЙСТВО И РАБОТА ДВИГАТЕЛЬНЫХ УСТАНОВОК С ЖИДКОСТНЫМИ РАКЕТНЫМИ ДВИГАТЕЛЯМИ
Химмотология жидких ракетных топлив рассматривает вопросы рационального их применения в тесной связи с конструкцией двигательных установок ракет. Конструкция и особенности работы жидкостных ракетных двигателей и в целом топливных систем ракет предъявляют определенные требования к физико-химическим и эксплуатационным свойствам компонентов ракетного топлива. В связи с этим в данной главе даются основные понятия об устройстве и особенностях работы двигательных установок с жидкостными ракетными двигателями.
1.1. ОСНОВНЫЕ ПРИНЦИПЫ УСТРОЙСТВА ДВИГАТЕЛЬНЫХ УСТАНОВОК С ЖИДКОСТНЫМИ РАКЕТНЫМИ ДВИГАТЕЛЯМИ
Жидкостным ракетным двигателем (ЖРД) называется такой реактивный двигатель, который создает силу тяги за счет вытекания из его сопла газовой струи продуктов сгорания жидкого ракетного топлива — окислителя и горючего, имеющихся на борту летательного аппарата (ракеты, самолета, космического корабля). Жидкий окислитель и горючее из баков летательного аппарата тем или иным способом (как правило, насосами) подаются при высоком давлении в камеру сгорания ЖРД. В камере сгорания за счет интенсивного горения топливной смеси образуются газообразные продукты, нагретые до высокой Температуры (3000—5000 К) [4]. Эти продукты за счет разности давлений в камере сгорания, достигающей десятков и сотен МПа, и на срезе сопла (атмосферное давление или вакуум) вытекают расширяясь в сопловом канале, с высокой скоростью.
Простейшая схема двигательной установки с жидкостным ракетным двигателем показана на рис. 1.1 [2]. Безусловно, такая схема позволяет лишь рассмотреть главные элементы двигательной установки: баки с окислителем и горючим, систему подачи топлива и камеру сгорания двигателя. На самом же деле эти установки значительно сложнее. В зависимости от системы подачи компонентов ракетного топлива—насосной или
Рис. 1.1. Схема двигательной установки с ЖРД:
/ — системы подачи горючего и окислителя;
2—головка, 3—камера сгорания; 4—сопло
Р
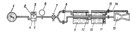
ис. 1.2. Схема ЖРД с турбонасосной системой подачи топлива:1, 2—насосы подачи окислителя и горючего; 3—парогазовая турбина; 4—камера сгорания вспомогательного двигателя для получения парогаза; 5—форсунки; 6—камера сгорания, 7—рубашка охлаждения; 8—реактивное сопло; 9 — баллон с сжатым газом;
А—бак с окислителем; Б—бак с горючим; В -бак с водой (для охлаждения камеры сгорания вспомогательного двигателя)
Рис 1.3. Схема ЖРД с газобаллонной системой подачи топлива зенитного снаряда «Вассерфаль»:
1—баллон с сжатым азотом, 2—поршень, приводимый в движение при сгорании порохового заряда; 3—пороховой заряд; 4—пусковой клапан; 5—разрывная диафрагма пускового клапана; 6—регулятор давления; 7 — предохранительный клапан; 8,1З—разрывные диафрагмы в трубопроводах; 9, 10 — баки с горючим и окислителем, 11 — гибкий трубопровод; 12'— газопровод; 14— калиброванные жиклеры; 15—камера сгорания.
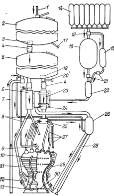
Рис. 1.4. Схема двигательной установки ракеты «Фау-2» (А-4):
1 — труба для наддува бака за счет скоростного напора; 2 — бак. с горючим (спиртом); 3—клапан расхода горючего; 4 — сильфон; 5 — бак с окислителем (жидким кислородом); 6 — насос подачи горючего, 7 — дренажный трубопровод окислителя; 8, 29 — трубопроводы подачи горючего; 9 — перепускной трубопровод (для снижения тяги), 10 — головка двигателя; 11 — камера сгорания, 12 — сопло двигателя, 13 — вход горючего в рубашку охлаждения, 14 — баллоны с сжатым азотом; 15—бак с раствором перманганата калия, 16 — редуктор; 17, 20—заправочные патрубки; 18— бак с Н2 О2; 19—клапан расхода окислителя; 21 — расходные клапаны, 22—парогазогенератор, 23— насос подачи окислителя; 24—турбина; 25 — распределитель; 26 — теплообменник; 27 — трубопроводы подачи окислителя; 28 — выход отработанного пара; 30—отверстия поясов внутреннего охлаждения.
балонной — схемы указанных установок бывают разные (рис. 1.2 и 1.3) [б]. В двигательных установках больших ракет с ЖРД длительного действия обычно применяют насосную систему подачи окислителя и горючего, конструктивно
оформленную в виде так называемого турбонасосного агрегата (ТНА). В небольших ракетах, например зенитных, с ЖРД кратковременного действия может применяться баллонная система подачи топлива с использованием сжатого газа (азота или гелия). Представление о степени сложности двигательной установки с ЖРД можно получить, рассмотрев схему двигателя ракеты «Фау-2» (А-4), показанную на рис. 1.4 [7]. Современные межконтинентальные ракеты и ракеты-носители типа «Атлас», «Титан-11», «Тор-Эйбл», «Сатурн», «Восток» и др. имеют более сложные, многокамерные двигательные установки.
Основные элементы жидкостных ракетных двигателей — камера сгорания и турбонасосный агрегат. Устройство и работа двигательных установок с ЖРД зависят от природы ракетного топлива. В случае однокомпонентного (унитарного) топлива схема установки наиболее простая. При использовании двухкомпонентного топлива ее схема значительно усложняется в связи с необходимостью раздельной подачи окислителя и горючего с помощью турбонасосного агрегата или методом вытеснения сжатым газом. В случае насосной подачи компонентов топлива требуется парогазогенератор, обеспечивающий вращение турбины турбонасосного агрегата и работающий на основном или вспомогательном топливе (рис. 1.5 и 1.6). При применении в ЖРД самовоспламеняющихся топлив облегчается начальный момент запуска двигателя, в случае применения несамовоспламеняющихся топлив возникает необходимость в специальных воспламеняющихся, устройствах (пиротехнических, электрических и др.) или в применении так называемого «пускового» топлива (горючего), обеспечивающего химическое зажигание основной топливной пары [2, 7].
Характеристики
Тип файла документ
Документы такого типа открываются такими программами, как Microsoft Office Word на компьютерах Windows, Apple Pages на компьютерах Mac, Open Office - бесплатная альтернатива на различных платформах, в том числе Linux. Наиболее простым и современным решением будут Google документы, так как открываются онлайн без скачивания прямо в браузере на любой платформе. Существуют российские качественные аналоги, например от Яндекса.
Будьте внимательны на мобильных устройствах, так как там используются упрощённый функционал даже в официальном приложении от Microsoft, поэтому для просмотра скачивайте PDF-версию. А если нужно редактировать файл, то используйте оригинальный файл.
Файлы такого типа обычно разбиты на страницы, а текст может быть форматированным (жирный, курсив, выбор шрифта, таблицы и т.п.), а также в него можно добавлять изображения. Формат идеально подходит для рефератов, докладов и РПЗ курсовых проектов, которые необходимо распечатать. Кстати перед печатью также сохраняйте файл в PDF, так как принтер может начудить со шрифтами.
















