Химмотология ракетных и реактивных топлив (1043407), страница 2
Текст из файла (страница 2)
Во всех типах жидкостных ракетных двигателей энергетические возможности топлива реализуются в камере сгорания, которая является главным и самым ответственным элементом двигателя. Камеры сгорания бывают различной геометрической формы: цилиндрические, сферические, грушевидные, конические и др. (рис. 1.7) [7]. Камера двигателя состоит из трех основ-
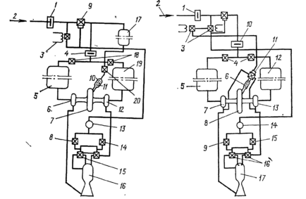
Рис. 1.5. Схема турбонасосной системы подачи компонентов жидкого ракетного топлива (турбина работает на пероксиде водорода):
1—регулятор высокого давления; 2—подвод высокого давления; 3—электромагнитный клапан; 4 — регулятор низкого давления; 5 — бак с горючим; 6 — насос горючего; 7—турбина; 8—отсечный клапан; 9—клапан магистрали наддува; /О—газогенератор; 11—пакет с катализатором; 12—насос окислителя; IS—аккумулятор; /4— дроссель;
15 — клапаны горючего и окислителя; 16 — камера сгорания ЖРД (охлаждается горючим); 17—бак с Н2 О2; 18—клапаны наддува; 19 — бак окислителя; 20—клапан газогенератора
Рис. 1.6. Схема турбонасосной системы подачи компонентов жидкого ракетного топлива (турбина работает на основных компонентах):
1 — регулятор высокого давления; 2 — подвод высокого давления; 3 ~ электромагнитные клапаны; 4 —клапаны наддува; 5 — бак с горючим; 6—газогенератор; 7—насос горючего; 8—турбина; 9—отсечный клапан; 10—регулятор низкого давления; 11—клапан газогенератора; 12—бак с окислителем; 13— насос окислителя; 14 — аккумулятор; 16— дроссель; 16—клапаны горючего и окислителя; 17—камера сгорания двигателя (охлаждается горючим)
Р
ис. 1.7. Различные формы камер сгорания:
a — цилиндрическая с горловиной; б — сферическая; в — грушевидная; г—цилиндрическая без горловины; д—коническая
ных частей: головки с форсунками, собственно камеры сгорания и расширяющегося сопла.
Каждая двигательная установка с ЖРД имеет систему подачи топлива, а также гидропневматическую систему [2]. Система подачи топлива включает в себя баки с окислителем и горючим, агрегат для создания давления подачи компонентов топлива (в виде турбонасосного агрегата, баллонов со сжатым газом, порохового или жидкостного аккумулятора давления). Гидропневматическая система включает арматуру, трубопроводы и систему электрического управления работой
отдельных агрегатов. Наибольшее применение получила насосная система подачи компонентов топлива, так как она позволяет максимально снизить давление «наддува» баков и, следовательно, их массу. Для приведения в действие турбонасосного агрегата необходимо иметь парогаз с соответствующими температурой и давлением. Для получения такого парогаза используют парогазогенераторы разной конструкции. Широкое распространение получили парогазогенераторы, в которых происходит каталитическое разложение концентрированного пероксида водорода с образованием нагретой до 700°С парогазовой смеси. Эта смесь поступает на лопатки турбины турбонасосного агрегата и обеспечивает работу насосов. Используют и другие типы парогазогенераторов, в которых парогаз получается за счет продуктов сгорания основной топливной пары (с избытком горючего или окислителя), либо продуктов медленного сгорания специального порохового заряда, либо продуктов сгорания, отбираемых из камеры сгорания двигателя [2].
Важным элементом двигательных установок ракет являются топливные баки. Они бывают нагруженные (под давлением) и разгруженные. Как правило, баки служат одновременно и силовыми элементами конструкции ракеты, поэтому их называют несущими баками. Они должны быть максимально легкими, но обладать при этом необходимой механической прочностью. Кроме того, они не должны подвергаться заметному коррозионному воздействию компонентов ракетных топлив, многие из которых — коррозионно-агрессивные вещества. В связи с этим баки ракет обычно изготавливают из высокопрочных алюминиевых сплавов или легированных сталей, обеспечивающих длительное нахождение ракет в заправленном состоянии [2]. Эти условия накладывают определенные требования к снижению коррозионной активности и повышению химической стабильности компонентов ракетного топлива.
1.2. ОСОБЕННОСТИ ПРОЦЕССОВ, ПРОТЕКАЮЩИХ В ЖИДКОСТНЫХ РАКЕТНЫХ ДВИГАТЕЛЯХ
По характеру протекающих процессов камеру сгорания жидкостных ракетных двигателей можно разделить на три зоны по ее длине (рис. 1.8) [2].
В первой зоне (0-1) происходит распыл топлива через форсунки при высоком давлении, а также частично его испарение и смешение капель топлива. Длина этой зоны определяется конструкцией головки (плоская, шатровая или сферическая) и типом форсунок (центробежные, струйные, сотовые и др.). Процессы, происходящие в первой зоне, в значительной степени определяют работу ЖРД в целом. От качества распыла компонентов топлива сильно зависит эффективность горения топлива и, следовательно, к. п. д. двигателя. На характер и качество распыла топлива, кроме конструкции форсунок и головки камеры, существенно влияют вязкость, плотность и поверхностное натяжение компонентов топлива.
Вторая зона (I-II)—это зона подогрева, испарения и смешения компонентов ракетного топлива, а также протекания предпламенных химических реакций и частичного горения топлива. Тепло, необходимое для подогрева и испарения капель компонентов топлива в первой и второй зонах, подводится за счет радиации из зоны горения, экзотермических химических реакций компонентов топлива, протекающих в указанных зонах, и за счет обратных вихревых потоков горячего газа—продуктов сгорания (рис. 1.9), несущих большую часть тепла, расходуемого на подогрев и испарение капель компонентов топлива. Во второй зоне интенсивно протекают реакции жидкофазного окисления капель горючего окислителем как газообразным, так и жидким [б]. В случае самовоспламеняющихся ракетных топлив реак
ции взаимодействия (горения) происходят на поверхности капель и горючего, и окислителя.
В третьей зоне (II—III) сгорает большая часть топлива. Это—зона смешения компонентов топлива и протекания интенсивных химических реакций, определяющих основные параметры процессов горения топлива. Первую часть указанной зоны, до сечения Л—Л, в которой скорость химических реакций относительно мала (поэтому она лимитирует процесс сгорания топлива), называют областью кинетического горения. В этой области топливо сгорает преимущественно
Рис. 1.8. Схема протекания процессов в камере сгорания ЖРД в различных зонах, выраженная относительным количеством топлива G’/G, израсходованного на: 1 — распыливание; 2 — испарение; 3 — смешение; 4 — химические реакции
Рис. 1.9. Вихревые токи газа у головки камеры сгорания
вследствие самовоспламенения объемов газообразной смеси горючего и окислителя. В ней возможно также протекание периодических предпламенных реакций, аналогичных тем, что имеют место в зоне (I—II). Скорость горения топлива в области кинетического горения ограничивается не процессами смешения, а кинетикой химических реакций.
Вторая часть рассматриваемой зоны (после сечения А—А) характеризуется высокими температурами и большими, практически мгновенными, скоростями химических реакций. Скорость горения топлива в этой области зависит от интенсивности смешения компонентов, которая, в свою очередь, определяется скоростью турбулентной диффузии. В связи с этим рассматриваемую часть третьей зоны называют областью диффузионного горения. Здесь топливо сгорает преимущественно вследствие распространения пламени в несгоревшей смеси, а процессы самовоспламенения играют незначительную роль.
Четвертая зона (III—IV) — это зона сопла, в которой происходит догорание топлива, расширение и ускорение истечения продуктов сгорания. От формы и размеров сопла, а также процессов, происходящих в нем, существенно зависит удельная тяга двигателя.
Процесс горения в жидкостном ракетном двигателе протекает в основном в диффузионной- области, поэтому время, необходимое для полного сгорания топлива, определяется главным образом скоростью смешения компонентов, хотя и нельзя пренебрегать ролью процессов, протекающих в зонах (0—I) и (I—II), а также в области кинетического горения.
Рассмотренное разделение камеры сгорания ЖРД на зоны, конечно, условное, так как в реальном двигателе трудно различить границы между ними. Совершенство камеры сгорания зависит прежде всего от полноты сгорания топлива, на которую влияют следующие факторы:
качество распыла и смесеобразования1 топлива, определяемое, с одной стороны, типом и расположением форсунок в головке камеры, формой головки и камеры сгорания, их гидравлическими характеристиками, давлением перед форсунками и в камере сгорания, а с другой—физико-химическими свойствами компонентов топлива (вязкостью, плотностью, поверхностным натяжением, испаряемостью и др.);
время, отводимое для протекания химических реакций сгорания, которое определяется скоростью движения газа в камере сгорания, объемом камеры, а также давлением и температурой в ней.
Рис. 1.10. Схема процесса горения в ЖРД самовоспламеняющихся и несамовоспламеняющихся топлив
Рис. 1.11. Схемы охлаждения камеры сгорания ЖРД
Г
орение топлива в камере сгорания ЖРД —сложный физико-химический процесс, зависящий от конструктивных особенностей двигателя и режима его работы, а также от состава и свойств топлива. Процесс горения в ЖРД самовоспламеняющихся и несамовоспламеняющихся топлив схематически показан на рис. 1.10 [7]. В камере сгорания ЖРД развиваются высокие температуры (3000—5000 К) и давления—десятки и сотни МПа, теплонапряженность камеры сгорания достигает 1010 Вт/м2, что в сотни раз превышает теплонапряженность камер сгорания воздушно-реактивных двигателей [4], За счет конвекции и лучеиспускания происходит интенсивный теплообмен между газообразными продуктами сгорания и стенкой камеры и сопла ЖРД. В таких условиях без специального охлаждения стенок камеры сгорания ни один металл не выдержал бы и разрушился.
Существуют различные способы снижения температуры стенок камеры сгорания: тепловая изоляция, регенеративное, пленочное и испарительное охлаждение (рис. 1.11). Камеры сгорания современных ЖРД, как правило, имеют охлаждающую рубашку. Она отсутствует лишь у двигателей малой тяги космических аппаратов и у некоторых типов двигателей с внутренней тепловой изоляцией. Кроме того, в теплонапряженных двигателях для предохранения стенок камеры сгорания от прогара создают пристеночную завесу из горючего, подаваемого через периферийные форсунки головки камеры сгорания, при этом обеспечивается пленочное или испарительное охлаждение.
В охлаждающую рубашку подают горючее или окислитель (окислитель используют в качестве охлаждающего агента значительно реже, чем горючее), которые, нагреваясь в рубашке, поступают при высоком давлении через форсунки в камеру сгорания и, будучи нагретыми, легче распыляются и испаряются; но, главное, они обеспечивают необходимое охлаждение стенки камеры сгорания. В двигателе ракеты «Фау-2» наряду с регенеративным охлаждением этанолом успешно применялось
















