Мальцев В.М., Мальцев М.И., Кашпоров Л.Я. - Основные характеристики горения (1043377), страница 20
Текст из файла (страница 20)
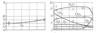
4. Исходные компоненты городского газа или продукты их разложения и превращения (100—х) масс, ч. приняты за 100 масс. ч. и в соответствии с этим пересчитаны первоначальные данные анализа проб из пламени (для каждой исследованной высоты). Полученные данные [в % (об.)] приведены на рис. II.6 и, по мнению автора, характеризуют изменение состава газа, происходящее в пламени только в результате химических превращений (а не в результате разбавления исследуемых продуктов азотом, парами воды и двуокисью углерода).
При анализе представленных на рис. 11.6 данных Ландольт отмечает следующее. Содержание окиси углерода до высоты 10 мм растет, затем остается постоянным, а с высоты 30 мм снова увеличивается. Последнее происходит вследствие того, что углерод. образующийся в пламени, восстанавливает двуокись углерода. Содержание водорода до высоты 20 мм быстро уменьшается, а затем (до высоты 30 мм) возрастает. Увеличение содержания водорода
Р.ис. 11.6. Изменение состава газа по оси ламинарного диффузионного пламени светильного газа (состав вследствие разбавления газа N2, H2O и СО2 не изменяется).
может происходить вследствие взаимодействия углерода с парами воды.
По сравнению с другими газами водород более быстро диффундирует «а поверхность пламени и сгорает. Углеводороды внутри пламени претерпевают химические превращения. Изменение содержания разных углеводородов неодинаково и зависит от природы. Более быстро превращаются предельные углеводороды (СН4) и более медленно непредельные (С4Н6, С2Н4).
Следует отметить отсутствие ацетилена в пламени светильного газа. На наш взгляд, это можно объяснить тем, что исследованный газ содержит 42% водорода, который, вероятно, в значительной мере подавляет реакции дегидрирования углеводородов, ведущие к образованию ацетилена.
Состав устойчивых газообразных продуктов в коническом воздушном ламинарном диффузионном пламени городского газа исследован в работе [18]: СН4 (78,9), Н2 (4,8), С2Н6 (3,8), С3Н8 (1,5), С2Н4 (0,4), СО (1,6), СO2 (2,0) N2 :[7,0 % (об.)]. Изменение состава газа по высоте пламени приведено на рис. II.7 Отбор газовых проб из пламени производился с помощью кварцевого ка-пилляра, который вводился по оси пламени снизу со стороны го-релки.Отобранный газ анализировался на содержание СО2, N2, CO,CH4, Н2, O2, С2Н6, C3Н8, С4Н10 ,С3Н6, С4Н8, С2Н2. Содержание CO2 определялось поглощением щелочью, остальные компоненты — хроматографически. Содержание паров воды не анализировалось. Кислород внутри пламени не обнаружен, а присутствует ацетилен. Концентрация предельных углеводородов С3Н8, С2Н6 и CH4 по оси пламени быстро убывает. При этом сначала исчезает пропан, затем этан и метан. С уменьшением содержания предельных углеводородов в газе увеличивается содержание водорода и этилена. На некотором расстояния от основания пламени появляется ацетилен. Содержание водорода, окиси углерода, этилена и ацетилена по мере приближения к вершине пламени сначала увеличивается, а затем уменьшается. Максимумы концентраций этилена и ацетилена .смещены относительно друг друга, причем максимум для ацетилена находится ближе к вершине пламени чем максимум для этилена.
5. Диффузионные пламена углеводородов
Состав газа в коническом воздушном ламинарном диффузионном пламени метана исследован в работах [19, 20]. Газовые пробы отбирали кварцевой трубочкой с внешним диаметром 127 мкм и внутренним диаметром 76 мкм. Конец газоотборника вначале запаивался, а затем шлифовался до образования отверстия диаметром меньше 25 мкм. Отбираемая проба находилась в горячей зоне газоотборника меньше 1 мс, причем все это время давление было очень низким. Горелку устанавливали на микроманипуляторе, чтобы можно было брать пробы из любой зоны пламени. Когда пламя полностью стабилизировалось, одновременно отбирались две пробы в две предварительно вакуумированные колбы. Пробы отбирались до давления в колбах около 2,7 кПа (~20 мм рт. ст.). Затем одну пробу анализировали с помощью масс-спектрометра, а другую — методом газовой хроматографии. Газы, пики которых было трудно идентифицировать на хроматограммах, собирали, и эту фракцию анализировали с помощью масс-спектрометра.
Удалось расшифровать сложные масс-спектры и проанализировать смеси, содержащие более 20 компонентов, .причем содержание некоторых из них составило всего 0,01 % от общего количества. Одновременно регистрировали температуры в тех точках; откуда брали .пробы. Для этого использовалась платино-платиноро-диевая термопара толщиной 25 мкм, покрытая очень тонким слоем кварца (25—50 мкм). (В некоторых случаях использовали непокрытую платино-платинородиевую термопару, при этом внутри светящейся зоны существенной разницы в температурах от покрытой термопары обнаружено не было.) В отличие от других зон в очень узкой зоне у края пламени температурные градиенты были настолько большими, что эти температуры не удалось измерить даже термопарой толщиной 25 мкм.
На рис.II.8 концентрации основных компонентов, находящихся внутри конуса диффузионного пламени метана, представлены в зависимости от отношения расстояния от газоотборника до оси
Рис. II.8. Состав газа ламинарного диффузионного пламени метана на высоте 20 мм над устьем горелки [19, 20] (r — расстояние от газоотборника до оси; R — радиус пламени).
пламени к общему расстоянию от оси пламени до края светящейся зоны.
Продуктами разложения метана являются водород и незначительные количества ацетилена, этилена, этана и метилацетилена. Метан исчезает очень быстро, и у края пламени его концентрация равна нулю. Концентрация воды я двуокиси углерода максимальна вблизи края пламени. Азот имеет очень высокую концентрацию во всех точках пламени, возрастающую по направлению к краю пламени; по оси пламени на высоте 7 мм над устьем горелки она равна почти 45% (мол.) от всей пробы.
В пробах всегда имеется некоторое количество кислорода, хотя принимались особые меры предосторожности против загрязнения проб воздухом. Авторы работ [19, 20] считают, что кислород присутствует в пламени и играет важную роль в процессе превращения метана. Таким образом, диффузионное пламя, по их мнению, можно рассматривать как пламя очень богатой горючим смеси, перемешанной с небольшим количеством кислорода.
Отношение полного содержания кислорода как в связанном, так и в свободном состоянии внутри конуса пламени к содержанию азота в той же точке пламени превышает отношение [O2]/[N2] в воздухе; Это свидетельствует о том, что средний коэффициент диффузии Н2О, СО и СO2 больше, чем коэффициент диффузии азота.
Константы равновесия реакции СО2+Н2 ↔Н2О +СО были вычислены по концентрациям СО, СО2, Н2 и Н2О в пробах. Все эти концентрации вполне достоверны, за исключением концентрации воды, которая занижена. Температуры внутри конуса пламени, соответствующие вычисленным константам равновесия, на несколько сот градусов .выше наблюдаемых температур. Поскольку концентрация воды занижена, вычисленные температуры являются минимальными, на основании чeго можно сделать вывод, что равновесие реакции внутри пламени не устанавливается.
Если чистый метан подвергается разложению в топке при 800—900 °С, то скорость его превращения очень мала. Согласно данным авторов [19, 20], в пламени при той же температуре метан исчезает со скоростью, на порядок большей. Известно, что небольшие количества кислорода сильно повышают скорость разложения углеводородов; именно это имеет место, по мнению авторов [19, 20], внутри конуса пламени. Промежуточные продукты пиролиза внутри конуса обнаружены везде в очень малых концентрациях, причем эти концентрации мало изменяются внутри конуса пламени, за исключением зоны, близкой к краю пламени. Единственный промежуточный продукт разложения метана, имеющий сравнительно высокую концентрацию, — водород.
По результатам газового анализа нельзя судить о том, что происходит с углеродом в метане. Авторы считают, что он превращается в углеродистые части. Особенно интересно отсутствие в пламени окисленных углеводородов.
Состав продуктов в диффузионном пламени парафиновой свечи в воздухе исследован авторами работы [21]. Отбор газовых проб из пламени производился с помощью кварцевого газоотборника. Конец пробоотборника сужался таким образом, что давление в процессе отбора резко падало. Газовая проба находилась в горячей части газоотборника около миллисекунды. При увели-чении времени нахождения пробы в нагретой части газоотборника примерно в 10 раз состав газа не изменялся. По мнению авторов, это показывает, что катализ в газоотборнике не играет роли.
Состав пробы анализировался с помощью масс-спектрометра. В целях идентификации продуктов проба была разделена при конденсации на пять частей по температурам (между температурой жидкого азота и 60 °С). В отличие от других приведенных в этом разделе работ, авторы исследовали жидкие при обычной температуре продукты. Пробы, взятые из центра светящейся зоны парафиновой свечи, содержат (в порядке уменьшения концентра-ций) N8, СО2, Н2О, СО, С2Н4, Н2, С2Н2, СН4, С3Нв) Аг, бутилен, бутадиен, метилацетилен, С2Н6, пентен, С6Н6, СеН12, циклопентадиен, гептен, винил ацетилен, диацетилен, толуол, О2, (пропан). Температура в точке отбора составляла 700 °С. Пробы, .взятые на одной и той же высоте от фитиля, но ближе к поверхности племени, содержат (в порядке уменьшения содержания) N2, CO2, Н2О, СО, О2, Аr, Н2, СаН2, С2Н4, СН4 и С3Н6. Температура в точке отбора составляла 900 °С.
Состав газа в коническом воздушном ламинарном диффузионном пламени парафина при горении на воздухе исследован авторами работы [22] (рис. 11.9). Отбор газовых проб из пламени производился с помощью кварцевого капилляра, который вводился в пламя снизу через осевой канал в исследуемом образце. Ото-
Рис. 11.9. Состав газа по оси ламинарного диффузионного пламени парафина [22]. Рис. 11.10. Состав газа по оси ламинарного диффузионного пламени толуола [18].
бранный газ анализировался на содержание СО2 (поглощение щелочью) и N2, О2, СО, Н2 и практически вcex газообразных углеводородов (хроматографическое разделение). Содержание паров воды и конденсированных при обычной температуре продуктов не анализировали. Продуктами разложения парафина, представляющего собой смесь насыщенных углеводородов условной формулы С26Н54, являются (в порядке уменьшения содержания): C2H4, С3H6, Н2, СН4 и небольшие количества других углеводородов: C4H8 (0,85), С2Н6 (0,46), С3Н8 (0,29) и бутадиена (0,26%) (последние два соединения на рис. 11.9 не приведены).
По мере приближения к вершине пламени (и повышения температуры) содержание углеводородов в газе уменьшается, а водорода возрастает. Ацетилен в пламени парафина отсутствует.
Состав газа в коническом воздушном ламинарном диффузионном пламени толуола исследован авторами работы [18]. Отбор и анализ проб выполнялся аналогично отбору и анализу проб из пламени парафина [22]. Результаты исследований приведены на рис. 11.10.
Продуктами разложения толуола являются водород и метан. Почти одновременно с ними происходит образование этилена. На некотором расстоянии от основания пламени появляется ацетилен. По мере приближения ас вершине пламени содержание водорода, метана и этилена уменьшается, а содержание ацетилена и окиси углерода сначала увеличивается, а затем уменьшается.
















