Занятие №1 (общ) (1039375), страница 2
Текст из файла (страница 2)
Пульт оперативного управления (ПОУ СВ) предназначен для ручного управления режимами работы СВ и контроля его функционирования в процессе боевой работы и технического обслуживания.
Внутренний магистральный канал (ВМК) обеспечивает информационную связь между ЗУ и блоками ВчУ и УО в процессе работы СВ.
1.3 Основные технические характеристики СВ.
Система команд и структура устройств СВ обеспечивает построение вычислителя со следующим максимальным составом аппаратуры:
-
максимальное число блоков ДЗУ по 8К 36-разрядных слов (32 информационных + 2 контрольных) - 8 (4 резервных и 4 рабочих, или при работе без резерва 8 рабочих);
-
емкость одного блока ДЗУ с электрической перезаписью информации – 8192 36-разрядных слов разрядных слов (32 информационных + 2 контрольных) (команд, констант);
-
максимальное число блоков ОЗУ по 4К 36-разрядных слов разрядных слов (32 информационных + 2 контрольных) - 7 (1 резервный и 6 рабочих, или при работе без резерва 7 рабочих);
-
емкость одного блока ОЗУ – 4096 36-разрядных слов разрядных слов (32 информационных + 2 контрольных);
-
суммарное количество процессоров УО и ВчУ в любом сочетании не может быть больше 8;
-
быстродействие при выполнении арифметических и логических операций - около 200000 операций в секунду;
-
разрядность обрабатываемой ВчУ информации - 18 разрядов
(16 информационных и 2 контрольных);
-
форма представления чисел - с фиксированной запятой в дополнительном коде;
-
схема приоритетного прерывания текущих программ от внешних сигналов и сигналов, вырабатываемых схемами аппаратного контроля - 16-ти канальная (хотя в системе используются только 5-ть каналов: 3 канала с РМ и 2 канала с ЦВК);
-
количество уровней прерывания - один (то есть прерывание в прерывании запрещено);
-
время вхождения в программу прерывания - не более 25 мкс;
-
способ реализации прерывания - аппаратно-программный;
-
количество каналов обмена с внешними устройствами - 4.
-
типы каналов - селекторные.
-
разрядность информационных слов в каналах от 1 до 36.
-
способ обмена информацией - последовательным кодом;
-
потребляемая мощность - не превышает 1,3 кВт;
-
предельная скорость обмена информацией-185тыс. слов/сек.
-
первичное электропитание - 220 5% В частотой 4005% Гц, обдув аппаратуры воздухом производится с производительностью - не менее 360 м/час с температурой от + 5 С до + 30 С.
Структура СВ, используемого в системе имеет вид, представленный на рис.1.
2. Структурная схема СВ. Взаимодействие элементов СВ в режимах "МОДИФИЦИРОВАННАЯ ЗАПИСЬ" И "ЧТЕНИЕ".
2.1 Принцип взаимодействия устройств СВ
Взаимодействие между устройствами, входящими в состав СВ, организуется через ВМК.
Основными видами взаимодействия являются:
-
Информационный обмен процессоров (УО или ВчУ ) с ЗУ ( ДЗУ, ОЗУ, ПЗУ ) и регистрами УК;
б) взаимодействие между ВчУ и УО;
в) информационный обмен между ВчУ и ПОУ СВ;
Информационный обмен осуществляется посредством ВМК :
-
по МА передаётся 18-ти разрядный адрес ячейки ЗУ (16 информационных + 2 контрольных) от процессора к модулю ЗУ. Адрес ячейки состоит из адреса модуля и адреса ячейки в модуле, при этом адрес ячейки в модуле ОЗУ составляет 12 разрядов, адрес ячейки ДЗУ 13 разрядов. Адресом модуля ЗУ является его номер, адресом ячейки является номер ячейки в блоке. 12 младших разрядов МА используются для передачи команд и нформации из ВчУ в регистры УК(Рг УК)
-
по МЧт передаётся 36-ти разрядное слово от ЗУ к процессору разрядных слов (32 информационных + 2 контрольных), а также 9-ти разрядное слово от Рг Ук к ВчУ
-
по МЗп передаётся 36-ти разрядное слово разрядных слов (32 информационных + 2 контрольных) от процессора к ЗУ
Управление этим обменом осуществляется УК, которое в СВ выполняет функции системы приоритетного обслуживания заявок ВчУ и УО на обращение к ЗУ. УК имеет 8 рангов приоритетов для подключения процессоров. УО имеет наивысший (0-й приоритет), а ВчУ – низший (7-ой приоритет)
Управление внутренним обменом УК осуществляет путём выдачи управляющих сигналов по кодовым шинам управления (КШУ).
КШУ 1 связывает УК и процессоры.
КШУ 2 связывает УК и модули ЗУ.
По КШУ 1 передаются следующие сигналы:
- ТрОбр1-0…ТрОбр1-7 (Требование обращения 1). Требование обращения процессора к модулю ЗУ для считывания информации по определённому адресу. Передаётся в УК процессором, желающим обратиться к модулю памяти. Номер модуля памяти является его адресом(АМ) и выдается процессором в магистраль адреса(4 старших разряда МА).
- ТрОбр2-0…ТрОбр2-7 (Требование обращения 2). Требование обращения процессора к ОЗУ для записи информации по определённому адресу. Передаётся в УК процессором, спустя некоторое время после сигнала ПрС, если данный процессор производит запись информации в память.
- ВдА0…ВдА7(Выдача адреса). Сигнал процессору на выдачу адреса требуемой ячейки ЗУ в магистраль адреса. Выдаётся УК тому процессору, требование на обращение 1 которого удовлетворенно.
- ПрС0…ПрС7 (Приём слова). Сигнал процессору на приём считанной из ЗУ информации по затребованному адресу. Выдаётся УК тому процессору, требование на обращение 1 которого удовлетворенно. Сигнал разрешает приём слова из МЧт.
- ВдС0…ВдС7 (Выдача слова). Сигнал процессору на выдачу слова информации в МЗп для записи его в ОЗУ по требуемому адресу. Выдаётся УК тому процессору, требование на обращение 2 которого удовлетворенно. Сигнал разрешает выдачу слова в МЗп.
По КШУ 2 передаются следующие сигналы:
- Обр1-0…Обр1-15 (Обращение 1). Сигнал, выдаваемый в ЗУ, для считывания информации по заданному адресу. Выдаётся УК незанятому модулю памяти, в случае если требование обращения от данного процессора удовлетворенно. Сигнал включает в работу данный модуль памяти.
-Зан-0…Зан-15 – (Занятость). Сигнал, запрещающий обращение к ЗУ до завершения начатого цикла работы. Выдаётся модулем ЗУ. Используется УК для анализа занятости модуля ЗУ, к которому адресуется требования на обращение. Сигнал выдаётся спустя 8 нс после прихода сигнала Обр1. Длительность его лежит в пределах 1,3 мкс (при чтении);
- Гот-0…Гот-15(Готовность). Сигнал о готовности ЗУ к выдаче или приёму информации. Выдаётся модулем памяти через 1,2 мкс после прихода сигнала Обр1. Сигнал используется для определения процессора, к которому адресуется считанное слово.
-
Обр2-0…Обр2-15 (Обращение 2). Сигнал в ОЗУ для записи информации по заданному адресу. Выдаётся УК тому модулю памяти, который получил сигнал Обр1 и признак записи. Сигнал управляет режимом записи выбранного модуля памяти.
Взаимодействие процессоров с ЗУ под управлением УК построено по синхронному принципу. Это означает, что пользование любой магистралью происходит в течение времени, равном периоду тактирования.
(Fтакт = 1,5 МГц, Тп = 665 нсек ).
Взаимодействие ВчУ и УО осуществляется путем из ВчУ в УО разовых команд.
Информационный обмен между ВчУ и ПОУ СВ осуществляется по управляющим, информационным шинам, а также по шинам индикации.
2.2 Чтение информации из ЗУ (режим “ Чтение “).
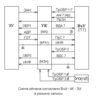
При обращении к ЗУ в режиме чтения информации процессор устанавливает в МА адрес ячейки ЗУ, к которой осуществляется обращение, а по КШУ 1 процессор выдаёт вУК сигнал Тр ОБР 1, который является заявкой процессора на обращении к ЗУ. Полный адрес ячейки ЗУ состоит из адреса модуля и адреса ячейки. Четыре старших разряда магистрали адреса(АМ0…АМ3) подключены к УК. По этим разрядам МА передаётся адрес модуля, где находится ячейка памяти, к которой осуществляется обращение.
Код, содержащийся в старших разрядах магистрали адреса АМ0…АМ3 – номер модуля определённого ЗУ, к которому процессор требует обращения, он передаётся в УК процессором, желающим обратиться к данному модулю памяти одновременно с сигналом ТрОбр1.
УК производит анализ этих сигналов с целью определения, свободен ли в данном такте работы УК требуемый модуль ЗУ, и нет ли в данном такте работы обращения более приоритетного процессора к незанятому модулю ЗУ.
Если требуемый модуль ЗУ свободен, и нет обращения к незанятому модулю со стороны более приоритетного процессора, то УК разрешает процессору, выставившему заявку на обращение к ЗУ, выдачу адреса ячейки ЗУ. Для этого УК выдает в процессор по КШУ 1 сигнал Вд А и запускает в работу требуемый модуль ЗУ путём выдачи по КШУ 2 сигнала ОБР 1.
В результате выдачи этих сигналов производятся следующие действия:
-
процессор выдаёт в МА адрес требуемой ячейки ЗУ;
-
в ЗУ возбуждается (начинает работать) схема управления, куда заносится адрес ячейки памяти и формируется сигнал ЗАН, используемый для анализа занятости ЗУ при обращении к нему процессоров (исключается обращение к занятому модулю другого процессора).
-
примерно через 1 мкс после поступления сигнала ОБР 1 сигнал ЗАН снимается, а через 1,2 мкс ЗУ по КШУ 2 выдаёт в УК сигнал готовности (ГОТ) и в МЧт считанную 36-ти разрядную информацию из ячейки с заданным адресом.
-
по сигналу ГОТ УК по КШУ 1 выдаёт в процессор, требовавший обращения к ЗУ, сигнал приём слова (ПрС), по которому производится приём считанной информации из МЧт в процессор.
На этом взаимодействие процессора и модуля ЗУ в режиме “Чтение” завершается. Последовательность обмена сигналами управления при взаимодействии процессора с ЗУ в режиме “Чтение” представлена на рис 2.
Рис.2. Схема обмена сигналами ВчУ-УК-ЗУ в режиме “Чтение”
Алгоритм взаимодействия устройств СВ в режиме чтения информации представлен на рис 5.
2.3 Запись информации в ЗУ ( режим “ Модифицированная запись”).
Режим записи можно разделить на две фазы. В первой фазе информация считывается из ЗУ, как и в режиме “Чтение”. Отличие от режима “Чтение” состоит в том, что одновременно с выдачей в МА адреса ячейки памяти, процессор выдаёт по специальной шине признак записи (ПрЗп), а в ЗУ момент снятия сигнала ЗАН отсчитывается не от сигнала Обр1, а от сигнала Обр2.
После получения информации из МЧт по сигналу ПрС и обработки её процессор по КШУ 1 выдаёт в УК сигнал Тр Обр 2.
Если в данном такте работы УК не поступил сигнал Тр ОБР 2 от более приоритетного процессора , то УК посылает в процессор по КШУ 1 сигнал “ выдача слова “ (ВдС), а в ЗУ по КШУ 2 – сигнал Обр 2.
В противном случае ( если есть сигнал Тр Обр 2 от более приоритетного процессора ) обслуживание процессора откладывается до следующего такта работы УК. По сигналу ВдС процессор выдаёт в МЗп сформированную для записи в ячейку памяти информацию. На этом процесс обмена информацией в режиме “Модифицированная запись” заканчивается. Последовательность обмена сигналами управления при взаимодействии процессора с ЗУ в режиме “Модифицированная запись” представлена
на рис 3.
Рис.3. Схема обмена сигналами ВчУ-УК-ЗУ в режиме “Модифицированная запись”
Алгоритм взаимодействия устройств СВ в режиме записи информации представлен на рис 6.
Структурная схема СВ. Взаимодействие ВчУ С УО
Для обмена информацией между ВчУ и УО используются специальные разовые команды управления обменом, сопровождаемые стробом разовых команд (строб разовых команд – это своеобразное разрешение выполнения разовой команды или «маска»). По этим командам производится сброс и пуск УО. При взаимодействии ВчУ и УО сброс УО в исходное состояние осуществляется программно при выполнении команды «Выдача разовых команд» ( ВРК ). При этом от ВчУ в УО поступает сигнал «Сброс» и «Строб разовой команды» ( СРК ) ВчУ, по которому устанавливаются в исходное состояние управляющие схемы УО.
Перед началом обмена ВчУ заносит в фиксированную ячейку памяти (адрес 020002) для УО константу, представляющую собой команду УО, а затем формирует команду ВРК. В результате выполнения этой команды от ВчУ в УО поступают сигналы «Заявка ВчУ» ( ЗвчУ ) и СРКВчУ. Эти сигналы воспринимаются схемой заявок и приоритетов УО как запрос на выполнение команды ВчУ ( записанной в фиксированную ячейку )
УО обращается к памяти по фиксированному адресу, считывает записанную константу, которая является первой командой программы обмена УО, и приступает к выполнению этой команды. После выполнения команды УО записывает в фиксированную ячейку (020002) ноль.
В процессе выполнения программы обмена УО формируются сигналы прерывания, которые поступают на Рг заявок ВчУ. УО формирует 2 типа сигналов запроса на прерывание:
-
импульсный сигнал запроса на прерывание по программе канала (ЗПРП). Этот сигнал вырабатывается в процессе реализации программы обмена УО при выполнении команд с признаком программного прерывания, а также по команде ТЕСТ 1 при наличии в ней признака контроля алгоритма;
-
потенциальный сигнал запроса прерывания по сбою формируется аппаратным способом. Сигнал сбоя в том и другом случае является обобщённым и конкретизируется при запросе и анализе словосостояния УО ( СС УО ) и словосостояния канала ( ССК ) программой ВчУ.
Такая организация взаимодействия ВчУ и УО позволяет программам ВчУ влиять на ход выполняемой программы каналов УО, выполнять разовые действия в УО по инициативе программ ВчУ, по инициативе программ каналов, либо при обнаружении в УО сбойных ситуаций.
















