ответы на экзаменационные вопросы (832570), страница 3
Текст из файла (страница 3)
Максимальное отрабатываемое системой значение перемещений по осям: от +999999 дискрет до −999999 дискрет;
Наибольшее задание размеров между двумя программируемыми точками — до 999999 дискрет;
Дискретность задания перемещений — 0.01 мм.
Задание рабочих подач: 0.01-99.99 мм/об., 1-9999 мм/мин.
Скорость ускоренных перемещений: 1-15000 мм/мин.
-
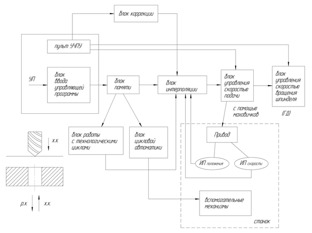
Программирование (как программировать функцию коррекции - L, G41, G42, линейная/круговая) и реализация функции коррекции инструмента (пример - схема управления приводом, подать L на двигатель и рассказать что будет происходит с перемещением. на блок схеме куда коррекция направлена? нарисовать блок схему - общую структурную схему однопроцессорную или мультипроцессорную) в микропроцессорных УЧПУ.
Коррекция учитывает износ инструмента, длину (вылет) инструмента, активный диаметр инструмента
Задание корректора
Корректор представляет из себя 4х-значное число со знаком «+» или «-» - величина коррекции эквидистанты
Первые два числа – миллиметры, вторые два часа дробная част
На примере задано число 2,5 мм
Программирование коррекции (в коде управляющей программы)
Задание коррекции в виде LА1А2А3 в конце кадра перед LF
А2А3 – номер корректора на пульте коррекции УЧПУ (1…18) // то, что мы выше рассмотрели, корректор вводится не в самой УП, а заранее
Вместо знака плюс и минус можно использовать специальные подготовительные функции G
| Функция интерполяции | Знак коррекции + | Знак коррекции - |
| G01 (линейная интерполяция) | G41 | G51 |
| G02 (круговая интерполяция по часовой стрелке) | G42 | G52 |
| G02 (круговая интерполяция против часовой стрелки) | G42 | G53 |
Задание А1. При линейной интерполяции это координаты, которые должны быть скорректированы
1 - х
2 – y
3 – х,y
4 – z
5 – x, z
6 – y, z
7 – x, y, z
Задание А1 при круговой интерполяции:
1 – начальная точка дуги лежит на горизонтальной оси
2 – начальная точка дуги лежит на вертикальной оси
Задание линейной коррекции
При линейной интерполяции при коррекции происходит алгебраическое сложение координат опорных точек с заданным значением коррекции
N009 G01 X+004000 LF // без коррекции
N009 G51 X+004000 L101 LF // код программы с коррекцией
G51 - при износе фрезы необходимо эквидистантно сужать контур движения фрезы.
L101: 1 – интерполяция по оси х; 01 – первый корректор
Пусть на 01 корректоре задана величина 0010, тогда программа отработает следующий код:
N009 G01 X+003990 L101 LF
Задание круговой коррекции
При круговой интерполяции при коррекции происходит алгебраическое сложение модуля соответствующей геометрической функции (X, Y, Z, I, J, K) с заданным значением коррекции
N007 G02 X+002000 Y-002000 J+002000 LF // без коррекции
N007 G52 X+002000 Y-002000 J+002000 L202 LF // код программы с коррекцией
G52 – при износе фрезы необходимо эквидистантно сужать контур движения фрезы.
L202: 2 – начальная точка дуги лежит на вертикальной оси; 02 – первый корректор
Пусть на 02 корректоре задана величина 0010, тогда программа отработает следующий код:
N007 G02 X+001990 Y-001990 J+001990 LF
Реализация коррекции инструмента
Подаем на привод сигнал L и микропроцессорная УЧПУ автоматически пересчитает координаты опорных точек траектории //другие сигналы рисовать не надо
Микропроцессорная УЧПУ может автоматически выполнять коррекцию управляющей программы, т.е. пересчитывать координаты опорных точек траектории заданной управляющей программы с учетом фактически используемых параметров инструмента, длины, радиуса и износа инструмента. Также могут быть скорректированы подача и частота вращения шпинделя. Учет фактического радиуса инструмента при коррекции сводится к формированию траектории эквидистантной запрограммированной, а коррекция по длине инструмента сводится к параллельному переносу системы координат инструмента, т.е. к смещению положения рабочего органа станка. Коррекция осуществляется, если в управляющей программе заданы ее характер и номера корректоров. В эти корректоры, расположенные в памяти УЧПУ заносят значения корректируемых величин (параметры или износ инструмента). Понятие коррекции включает в себя адрес L и код коррекции, а также номер корректора.
Общая схема УЧПУ
-
Архитектурные варианты концепции: разделяемый вычислитель и выделяемый вычислитель при построении микропроцессорных УЧПУ. (нарисовать не ромашку в виде задач, а рассказать о базовом варианте, перспективном варианте построения мультипроцессорных УЧПУ. Сосредоточенная и распределенная структура мультипроцессорной УЧПУ) Классификация микропроцессорных УЧПУ (по ряду признаков и функциональному назначению, по виду запоминающего устройства. Можно показать общую классификацию УЧПУ).
Основные принципы организации микропроцессорной УЧПУ:
-
П
рограммно-аппаратная реализация функции управления. В соответствии с этим принципом обработка информации осуществляется программными средствами вычислителя. Основные функции аппаратных средств контроллера внешних устройств является функции преобразования информации вычислителя в сигналы управления объектом и наоборот преобразование сигналов объекта в машинную форму. -
Магистрально-модульный принцип построения аппаратных средств заключается в том, чтобы аппаратные средства микропроцессорных систем выполняются в виде унифицированных по конструкции модулей и имеют унифицированные средства сопряжения с системными магистралями
-
Принцип встроенной диагностики, в соответствии с которым каждый блок, входящий в вычислитель или контроллер внешнего устройства имеет свои аппаратные диагностические средства.
Состав задач и сложности функций выполнения оказывает влияние на архитектуру построения УЧПУ. Существует два крайних архитектурных решения построения микропроцессорной УЧПУ – разделяемый вычислитель (все задачи будут решаться параллельно с помощью одного вычислителя) и выделяемый вычислитель (каждой задаче соответствует собственный вычислитель и параллельные вычисления должны быть скоординированы между собой
Архитектурному решению разделяемый вычисляемый соответствует однопроцессорное УЧПУ, которое может иметь структуру построения с помощью единой общей магистралью или двумя магистралями.
Структура построения с общей магистралью контроллеры внешних устройств КВУ1…КВУN сопрягаются с вычислителем общей магистралью. В этой структуре нагрузочная способность системной магистрали ограничивает возможности расширения функций УЧПУ в следствии ухудшения помехоустойчивости.
Для улучшения нагрузочной способности используют вариант однопроцессорной структуры с двумя магистралями, сопряженния между которыми осуществляется через адаптер связи. В этой структуре контроллеры внешних устройств дисплея и клавиатуры оператора обычно сопрягаются с системной магистралью вычислителя. А контроллеры электроприводом, устройства работы электроавтоматики сопрягаются с системной магистралью устройства ЧПУ. Использование такой структуры более эффективно, потому что контроллеры внешних устройств станка для связи с несколькими однотипными внешними устройствами обычно выполняют на одной плате, что является по отношению к системной магистрали одной единицей нагрузки.
Количественные и качественные расширения функциональных возможностей управления с использованием однопроцессорных УЧПУ ограниченно рядом причин:
-
Вычислительная мощность процессора. Недостаточная вычислительная мощность однопроцессорных УЧПУ сдерживает развитие МП УЧПУ. Если используется однопроцессорная УЧПУ, то накладывается ограничение на число управляемых координат станка, минимальную дискретность перемещения, максимальную скорость интерполированной подачи, уровень сервиса для оператора и как правило возникают проблемы разделения процессорного времени, поэтому для того, чтобы повысить вычислительную мощность в однопроцессорной УЧПУ идут на повышение разрядности микропроцессора.
-
Возможность привязки микропроцессорной УЧПУ к станку, связано с управлением цикловой автоматики станка, то есть если схема управления цикловой автоматики проста, то дискретными сигналами входа/входа этих устройств управляет вычислитель. Однако, у станков со сложной автоматикой как правило ее устройство управляется так называемым программируемым контроллером, который разгружает вычислитель от операций ввода/вывода информации или берут на себя выполнение отдельных функций задач.
-
Наличие конечной нагрузочной способности системной магистрали. Повышение вычислительной мощности микропроцессора целесообразно, если можно расширить число модулей, подключаемых к системной магистрали без снижения надежности обмена данными.
Из этих недостатков очевидно целесообразность использование архитектурного решения – выделяемые вычислители. Это соответствует мультипроцессорной структуре построения УЧПУ. Число вычислителей не обязательно соответствует числу задач УЧПУ. Возможно распределение одной задачи между несколькими вычислителями или использование специальных вычислителей, которые будут выполнять служебные функции (доступ к большим объемам памяти, координации работы между вычислителями)
Мультипроцессорная УЧПУ может иметь сосредоточенную и распределенную структуру построения.
Сосредоточенная структура построения
Распределенная структура построения
Основные различия:
-
При распределенной структуре каждый вычислитель имеет свою операционную систему, в том время как у сосредоточенной системы операционная система может быть общей.
-
Обмен информацией между вычислителями при распределенной структуре менее интенсивен чем при сосредоточенной.
-
Каждый вычислитель при распределенной структуре имеет свой контроллер (переферийных устройств), объекта управления, ЭВМ верхнего уровня.
-
Вычислители при распределенной структуре не могут иметь общей памяти для ее коллективного использования.
-
При распределенной структуре допустимо большое пространственное разделение вычислителей, которые могут быть приближены к своим объектам управления.
-
Функции, выполняемые различными вычислителями, будут определяться программным обеспечением, занесенным в запоминающее устройство вычислителя. Мультипроцессорные УЧПУ могут быть представлены одним блоком, либо представлены в виде ряда конструктивных блоков.
-
Если мультипроцессорное УЧПУ представлено одним блоком, то объединение нескольких вычислителей осуществляется через двухпортовые блоки общей памяти. (БОП – рисунок а) и устройство имеет сосредоточенную структуру построению.
-
Такая связь обеспечивает повышение производительности устройства. Учитывая интенсивность обмена между центральным вычислителем В и локальным вычислителем Вn блоки общей памяти могут быть совмещены с ОЗУ локальных вычислителей. Мультипроцесоорные УЧПУ, представленные рядом конструктивных блоков имеют распределенную структуру построения (рисунок б). Обмен данными осуществляется через адапторы связи (АС), подключенные к системным магистралям локальных вычислителей.















