Rubezhny_kontrol_3 (769657), страница 2
Текст из файла (страница 2)
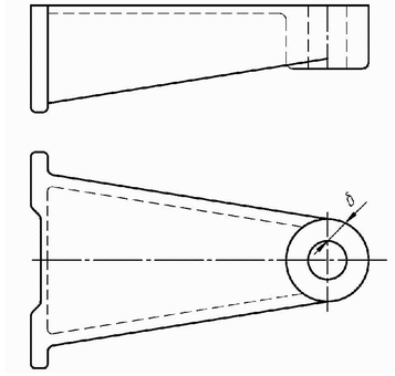
Рис. 1 Рис. 2
-
отсутствие местных скоплений металла;
-
+ минимальное количество стержней;
-
плоский разъем формы;
-
нет правильного ответа
42. Почему конструкция литой заготовки на рис. 2 более технологична, чем на рис. 1?
-
+ минимальное количество стержней;
-
отсутствие местных скоплений металла;
-
отсутствие выступающих частей на наружной поверхности отливки;
-
нет правильного ответа
43. Какой из железоуглеродистых сплавов наиболее склонен к образованию концентрированных усадочных раковин?
-
+ сплав, затвердевающий при постоянной температуре;
-
сплав, затвердевающий с интервалом кристаллизации 80-1200С
-
сплав, затвердевающий с интервалом кристаллизации 30-400С
-
сплав с содержанием углерода 2,14%
44. Каким способом литья получают высокоточные отливки из цветных сплавов?
-
литьем в песчаные формы;
-
литьем в оболочковые формы;
-
+ литьем под давлением;
-
литьем в кокиль
45. Каким из указанных способов целесообразно изготовить отливку массой 10 кг с минимальной толщиной стенки =6 мм из серого чугуна при годовой программе 500 шт.?
-
литьем под давлением;
b) литьем в кокиль;
c) + литьем в песчаные формы;
d) литьем по выплавляемым моделям
46. При каком способе литья применяются тонкостенные неразъемные формы?
-
+ при литье по выплавляемым моделям;
-
при литье в оболочковые формы;
-
при литье под давлением;
-
при литье в кокиль
47. Как предупредить образование усадочных раковин при изготовлении отливок из высокопрочного чугуна литьем в песчаные формы?
-
+применением прибылей и холодильников;
-
заливкой чугуна при повышенной температуре;
-
увеличением податливости формы;
-
нет правильного ответа
48. Какие литейные свойства характерны для сплава с широким интервалом кристаллизации?
-
повышенная жидкотекучесть;
-
пониженная жидкотекучесть;
-
склонность к образованию усадочных раковин;
-
+ пониженная жидкотекучесть и склонность к образованию усадочной пористости
49. Какими литейными свойствами обладает сплав с малым интервалом кристаллизации?
-
пониженной жидкотекучестью;
-
повышенной усадкой;
-
склонностью к образованию усадочной пористости;
-
+ склонность к образованию усадочной раковины
50. Каким из указанных способов целесообразно изготовить отливку массой 1,5кг из серого чугуна при годовой программе 1000 шт.?
-
+ литьем в песчаные формы;
-
литьем в кокиль;
-
литьем в оболочковые формы;
-
литьем по выплавляемым моделям
51. Каким из указанных способов целесообразно изготовить отливку массой 0,625 кг с минимальной толщиной стенки = 2 мм из стали 45Л при годовой программе 5000 шт.?
-
литьем в песчаные формы;
-
литьем в кокиль;
-
+ литьем по выплавляемым моделям;
-
литьем под давлением
52. Каким способом литья получают отливки из алюминиевого сплава с минимальной толщиной стенки 1мм?
-
литьем в песчаные формы;
-
литьем в оболочковые формы;
-
+ литьем под давлением;
-
литьем в кокиль
53. Что увеличивает жидкотекучесть при изготовлении отливок?
-
применение прибылей и холодильников;
-
+ увеличение температуры заливки сплава;
-
увеличение интервала кристаллизации сплава;
-
уменьшение температуры заливки сплава
54. При каком способе литья затруднено изготовление стальных отливок?
-
литьем в оболочковые формы;
-
литьем в песчаные формы;
-
+литьем под давлением;
-
центробежным литьем
55. Почему конструкция литой заготовки на рис. 2 более технологична, чем на рис. 1?
Рис.1 Рис.2
-
+ более равномерная толщина стенок отливки;
-
надежное крепление стержней;
-
используется плоский разъем формы;
-
отсутствие выступающих частей, затрудняющих извлечение модели
56. Неоднородность химического состава сплава в различных частях отливки называется...
a) аллотропией;
b) кристаллизацией;
c) +ликвацией;
d) нет правильного ответа.
57. Способность литейных сплавов уменьшать размеры при затвердевании называется…
-
+усадкой;
-
жидкотекучестью;
-
прекристаллизацией;
-
ликвацией.
58. Какой способ литья применяют для получения биметаллических изделий из композиций типа сталь-бронза, чугун-бронза, сталь-чугун и др.?
-
литье под давлением;
-
+центробежное литье;
-
кокильное литье;
-
литье в песчаные формы.
59. Для какого способа литья не требуется литниковая система?
-
литья в кокиль;
-
литья в оболочковые формы;
-
+центробежного литья;
-
литья по выплавляемым моделям.
60. Какой способ литья позволяет получать стальные отливки сложной конфигурации и точных размеров?
-
центробежное литье;
-
литье в кокиль;
-
+литье по выплавляемым моделям.
-
нет правильного ответа;
61. Для чего предназначена прибыль при изготовлении отливок?
-
изготовление формы;
-
+предотвращения образования усадочной раковины;
-
изготовление стержня;
-
обеспечения газопроницаемости.
62. Для чего предназначены опоки при изготовлении отливок?
-
для предотвращения образования усадочной раковины;
-
для изготовления стержня;
-
+ для изготовления формы;
-
нет правильного ответа.
















