24844 (654502), страница 10
Текст из файла (страница 10)
Скважность таких фильтров зависит от материала труб и колеблется в широких пределах (5 – 25 %). Размеры отверстий и расстояния между ними выбираются в зависимости от диаметра и материала каркаса, назначения скважин и гранулометрического состава скважины можно производить свабирование путем опускания и подъема бурильных труб с пакером, что повышает эффективность освоения.
Щелевые фильтры являются самыми распространенными при сооружении технологических скважин ПВ. Щелевые фильтры изготавливают в основном их полиэтиленовых труб, реже из фанерных и труб из нержавеющей стали с различной величиной щели. Общий вид щелевого фильтра из нержавеющей стали дан на рис. 16.
Р
ис. 16. Щелевой фильтр из нержавеющей стали:
1 – труба; 2 – отверстия в трубе; 3 – вкладыши; 4 – щели во вкладыше
В основном применяются фильтры с вертикальными прямоугольными щелями, которые расположены отдельными поясами по длине каркаса. Это обеспечивает по сравнению с другими возможными вариантами расположения щелей небольшие затраты времени на изготовление фильтров и более высокую надежность в работе в период эксплуатации вследствие более равномерного распределения нагрузки на отдельные пояса в период возникновения критических давлений (периоды интенсивной закачки или откачки растворов).
При оборудовании глубоких скважин (350 – 600 м) для предохранения фильтра от смятия под действием горного давления применяются каркасы фильтров из нержавеющей стали. Однако при наличии в продуктивном горизонте тонкозернистых песков нарезка отверстий необходимого размера в металлических трубах из нержавеющей стали представляет значительную трудность. Получить отверстия размером 0,3 – 1 мм с различной конфигурацией можно с помощью вставных планок (см. рис 16). В этом случае проектные отверстия на каркасе выполнены на боковых сторонах планок, закрепленных в щелях, нарезанных на фильтровой трубе. Крепление планок в щели может выполняться склеиванием, сваркой, припоем, на хомутах и др.
Фильтры проволочные каркасные и каркасно-стержневые. Проволочные фильтры являются разновидностью щелевых фильтров, горизонтальные щели которых получаются в результате навивки проволоки на опорный каркас в виде перфорированной трубы с круглой или щелевой перфорацией или стержней, закрепленных по образующей опорных поясов. В качестве каркаса проволочных фильтров могут применяться стержни и трубы из нержавеющей стали, полиэтиленовые, полипропиленовые, фанерные трубы, а также трубы стальные, покрытые эмалью или другими коррозионно-стойкими материалами. В качестве навивочного материала используется проволока из нержавеющей стали, полихлорвиниловый жгут и стальная проволока, покрытая коррозионностойкими пастами и пластмассовыми оболочками.
Применяются проволочные фильтры преимущественно при сооружении высокодебитных откачных скважин и технологических скважин глубиной свыше 300 м.
Сетчатые фильтры выполняются путем намотки фильтрующей сетки на продольные стержни, уложенные по образующей поверхности трубчатого перфорированного каркаса.
Сетчатые фильтры разработаны с каркасами из нержавеющей стали, полиэтиленовых и фанерных труб и фильтрующими сетками из пластмасс и нержавеющей стали.
Сетчатые фильтры не нашли широкого применения, так как не предотвращают пескования и быстро кольматируются. Очистка же сетчатых фильтров представляет значительную трудность из-за малой прочности фильтрующей поверхности и возможности разрыва сетки как при спуске фильтра в скважину, так и в период эксплуатации.
Дисковые фильтры нашли широкое применение. Они состоят из набора конусных дисков из ударопрочного полистирола, собранных в отдельные звенья (рис. 17). Диски имеют переменную конусность 5–10°. Собранные в отдельные звенья, они закрепляются с помощью шпилек, имеющих на конце болты, посредством которых диски плотно прижимаются друг к другу. Соединение отдельных звеньев при сборке фильтров осуществляется посредством полиэтиленовых патрубков с помощью резьбы или сварки.
Общее время освоения скважин, оборудованных дисковыми фильтрами, обычно меньше, чем для скважин, оборудованных щелевыми фильтрами, а производительность откачки на момент освоения – выше.
Рис. 17 Дисковый фильтр:
1 – полиэтиленовый патрубок; 2 – стягивающие шпильки; 3 – диски
8.3 Оборудование скважин фильтрами с гравийной обсыпкой
При наличии в продуктивном горизонте мелкозернистых песков гравийно-обсыпные фильтры являются наиболее эффективными. Они позволяют увеличить проницаемость прифильтровой зоны скважины путем замены песков продуктивных горизонтов более крупным материалом, подаваемым извне. Это способствует также увеличению эффективного диаметра скважин.
Применение фильтров с песчано-гравийными обсыпками на месторождениях ПВ способствует увеличению дебита в момент освоения скважин. При этом увеличиливается продолжительность работы скважин между циклами освоении и работоспособность насосно-подъемного оборудования.
Гравийные фильтры могут быть изготовлены на поверхности а затем опущены в скважины, но чаще применяются гравийные фильтры, сооруженные непосредственно на забое скважины.
Существует два способа сооружения фильтров непосредственно на забое скважины: 1) способ, основанный на силах гравитации при котором гравий осаждается вокруг фильтра при свободном падении частиц на забой в межтрубном пространстве под действием сил тяжести; 2) способ принудительного осаждения гравия путем закачки его на забои потоком ПЖ с использованием различных приспособлений.
Сооружение гравийных обсыпок в восходящем потоке жидкости. Из способов укладки гравия под действием сил гравитации наиболее широко применяемым является доставка гравия в восходящем потоке жидкости. Отсортированный гравий засыпается непосредственно в зазор между стенками скважины и эксплуатационной колонной или доставляется в прифильтровую зону по бурильным трубам малого диаметра, опущенным в этот зазор. При формировании фильтра в восходящем потоке по повышению давления на манометре бурового насоса фиксируются гравийные пробки. В этом случае предотвращается загрязнение прифильтровой зоны и фильтров мелкими глинистыми частицами со стенок скважины, а также частицами отделившимися от песчано-гравийной смеси.
При доставке гравия в восходящем потоке важным является определение интенсивности засыпки и средней скорости восходящего
потока, величины которых устанавливаются с учетом площади за
трубного пространства. Интенсивность загрузки должна регулироваться в зависимости от крупности частиц гравия. Скорость восходящего потока должна быть не менее 0,6 м/с и не более 3 – 4 м/с. При большей скорости восходящего потока наблюдается вынос частиц гравия.
Однако способ доставки гравия в восходящем потоке во многих случаях не обеспечивает высокого качества гравийной обсыпки Доставка гравия затруднена из-за налипания последнего на стенки скважины, образования пробок в местах сужения ствола скважины скапливания гравия в кавернах. Кроме того, отсутствует гарантия плотной и равномерной укладки гравия по высоте и периметру водоприемной части фильтра. Это может привести к длительному пескованию и обрушению пород в фильтровой области.
Глубины скважин, где можно применять подачу гравия в зону продуктивного пласта в восходящем потоке жидкости обычно не превышают 250 – 300 м. Кроме того, при доставке гравия в прифильтровую зону имеют место значительные затраты времени на оборудование скважин.
Сооружение гравийных обсыпок в нисходящем потоке жидкости. Более прогрессивным способом создания обсыпок является доставка гравия в зафильтровую полость в движущемся нисходящем потоке жидкости, которая может осуществляться при открытом или загерметизированном устье скважины. В этом случае обеспечивается принудительное осаждение гравия вокруг фильтра с последующим перераспределением частиц гравия по крупности: более крупный гравий будет находиться в контакте с фильтром, что обусловливается более высокими скоростями входа воды в фильтр.
Принципиальная схема создания гравийной обсыпки в нисходящем потоке жидкости при открытом устье скважины состоит в следующем. После опускания фильтровой колонны на забой внутри нее из труб меньшего диаметра монтируется водоподъемная колонна, нижняя часть которой располагается на 2 – 3 м выше верхней границы отстойника. Около скважины устанавливается емкость для гравия и воды с наклонным подводным желобом к устью или эжектор. Вода из скважины откачивается с помощью центробежного вакуум-насоса или эрлифта. Одновременно с началом откачки к устью скважины подается смесь гравия и воды. Водогравийная смесь потоком обратной циркуляции доставляется в зафильтровое пространство, где происходит отделение твердой фазы и формирование гравия вокруг фильтрового каркаса, а вода через водоподъемные трубы поднимается на поверхность. В процессе формирования гравийного слоя из скважины удаляются мелкие частицы пород, слагающие продуктивный горизонт.
Основным недостатком схемы доставки гравия в призабойную зону скважины является то, что при отсутствии в стволе скважины выше рудного пласта обсадных труб и если вышележащие породы являются неустойчивыми, возможны обвалы стенок скважины из-за резкого изменения динамического уровня при пуске эрлифта в работу, а также засорения гравийной смеси и прифильтровой зоны породами стенок скважины.
При подаче гравия в восходящем или нисходящем потоках жидкости для улучшения условий доставки гравия по межтрубному зазору при применении полиэтиленовых эксплуатационных колонн необходимо предусмотреть их центрирование путем установки направляющих фонарей по длине колонны на расстоянии 10 – 15 м.
Для предотвращения обрушения зоны продуктивного пласта в период подготовки эксплуатационной колонны к спуску и в период ее спуска необходимо поддерживать необходимое гидростатическое давление на продуктивный пласт путем налива воды в скважину.
Сооружение гравийных обсыпок путем подачи гравия по БТ. Для того чтобы улучшить условия доставки гравия в прифильтровую зону скважин, на месторождениях подземного выщелачивания широко применяется способ доставки гравия по БТ, опущенным в зазор между эксплуатационной колонной труб и стенками скважины. Нижний конец колонны БТ располагается выше приемной части фильтра на 0,5 – 1,5 м и служит во многих случаях для определения величины заполнения прифильтровой зоны скважины гравием.
Внутрь эксплуатационной колонны опускаются раствороподъемные трубы эрлифта. Одновременно с подачей по трубам гравия на забой скважины производится откачка жидкости эрлифтом, что способствует более плотной укладке песчано-гравийного материала вокруг фильтра. Для того чтобы стенки скважины были более устойчивыми и не обрушились за счет снижения уровня жидкости в скважине при откачке ее эрлифтом, подачу песчано-гравийной смеси осуществляют в потоке жидкости с помощью эжекторного насоса, установленного на поверхности.
Эта схема доставки гравия в прифильтровую зону скважины позволяет исключить контакт гравийного материала с незакрепленными стенками скважины, а следовательно позволяет исключить потери гравия в кавернах, налипание его на стенки скважины и пробкообразование.
Работа буровой бригады при оборудовании фильтров гравийными обсыпками с подачей гравия в нисходящем потоке по БТ заключается в сортировке на виброситах гравийно-песчаной смеси и загрузке этой смеси в приемный бункер эжекторного насоса.
Интенсивность загрузки определяется режимом работы эжектора. Загружается гравий мерными емкостями с целью определения его количества, подаваемого в скважину. После подачи расчетного количества гравия положение гравийного слоя проверяется с помощью бурильных труб. При необходимости производится дополнительная подача гравия или удаление его потоком воды из призабойной зоны скважины.
Важным узлом при формировании гравийных фильтров является водоструйный эжекторный насос (рис. 18). При работе эжекторного насоса струей воды, истекающей из насадки, в пространстве между насадкой и камерой смешения создается пониженное давление, вследствие чего песчано-гравийная смесь поступает в камеру смешения и далее в диффузор и БТ.
Рис. 18. Схема эжекторного насоса с вертикальным расположением эжектора:
1 – присоединительный переводник; 2 – воронка; 3 – насадка; 4 – окна; 5 – камера смешения; 6 – диффузор
Эжектор с помощью специального переводника подсоединяется к ведущей трубе или буровому насосу, а с другой стороны с помощью переводника и гибких шлангов он подсоединяется к БТ, опущенным в скважину. Разработаны и применяются в практике оборудования технологических скважин ПВ две конструкции эжекторных устройств для подачи гравия – с вертикальным и горизонтальным расположением эжекторных насосов.
Предпочтение следует отдать схеме с вертикальным расположением эжекторного насоса, так как в этом случае упрощается схема его монтажа (см. рис. 18). Эжекторный насос вместе с приемным бункером устанавливается на столе ротора бурового агрегата. Это также улучшает условия транспортирования гравийного материала, так как в горизонтальных и наклонных участках трубопроводов возможно образование песчано-гравийных пробок.
При вертикальном расположении эжектора последний монтируется на столе ротора. Верхняя часть эжектора подсоединяется к ведущей трубе, а нижняя к опущенным в скважину бурильным трубам. Приемный бункер приваривается к корпусу эжектора и в него засыпается песчано-гравийная смесь.
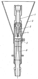
Сооружение гравийных обсыпок при применении пакерных устройств для гидроизоляции. При сооружении скважин важным мероприятием является создание надежной гидроизоляции зон движения рабочих и продуктивных растворов. При оборудовании скважин фильтрами с гравийной обсыпкой материал гидроизоляции заливается поверх слоя гравия до статического (динамического для закачных скважин) уровня подземных вод. Качество гидроизоляции не всегда является высоким, очень часто наблюдаются перетоки раствора вверх по стволу скважины. Более надежным средством гидроизоляции является применение пакерных устройств, например манжет из кислотостойкой резины. Однако их применение невозможно при существующих методах создания гравийных фильтров.
Повысить качество сооружения скважин, оборудованных фильтрами с гравийной обсыпкой, и упростить схему герметизации прифильтрового пространства и зон движения рабочих и продуктивных растворов, а также повысить эффективность эрлифтной откачки в процессе сооружения скважин позволяет следующее устройство (см. рис. 19). В этом устройстве кислотостойкая манжета расположена на втулке (трубе), которая соединена с фильтром посредством соединения, позволяющего перемещать манжету вверх или вниз относительно фильтра. При этом втулка соединена с нижним концом раствороподъемных труб эрлифта, а верхний конец этих труб расположен ниже оголовка скважины. Обсадная колонна имеет в нижней части башмак с упорами для посадки манжеты.
Рис. 19. Схема создания гравийных обсыпок при применении пакерных устройств для гидроизоляции:
















