24844 (654502), страница 12
Текст из файла (страница 12)
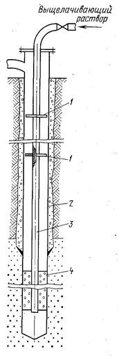
Рис. 22. Оголовки нагнетательных скважин ПВ, работающих в режиме свободного налива:
а –при отсутствии газовых выбросов:
1 – корпус; 2 – патрубок; 3 – поплавок; 4 – клапан; 5 – соединительная муфта- 6 – эксплуатационная колонна;
б – при наличии газовых выбросов:
1 – корпус; 2 – патрубок; 3, 4 – фланцы; 5 – эксплуатационная колонна; 6 – диафрагма; 7 – втулка; 8 – отверстия во втулке; 9 – шток; 10 – клапан; 11 – поплавок; 12 – запорный орган; 13 – отверстия
Под действием выщелачивающего раствора поплавок отжимается и находится в нижней части корпуса. При снижении приемистости скважины и повышении уровня раствора в колонне поплавок всплывает и с помощью клапана перекрывает отверстие в раствороподающем патрубке. Это предупреждает излив раствора на поверхность.
Все контрольно-измерительные приборы (расходомеры, манометры и др.) устанавливаются в нагнетательной линии. Основное достоинство такого оголовка – простота конструкции и надежность в работе. Однако оголовок такой конструкции невозможно применять при наличии выбросов газов, образующихся при взаимодействии выщелачивающих растворов с породами продуктивного горизонта.
Оголовок, показанный на рис. 22, б, позволяет автоматически стабилизировать работу скважины при наличии газовых выбросов. Он состоит из полого корпуса с патрубком для подачи растворов в скважину. В корпусе размещена втулка 7 и поплавок 11 со штоком 9, клапаном 10 и запорным органом 12. Для поддержания проектного! расхода растворов в нижней части оголовка размещается регулирующая шайба. При снижении приемистости скважины уровень раствора поднимается и заполняет корпус оголовка. При этом поплавок поднимается вверх и с помощью клапана 10 перекрывает отверстие во втулке, в результате чего прекращается подача выщелачивающих растворов до тех пор, пока уровень раствора не понизится, а поплавок со штоком не опустится вниз.
Выпуск образовавшихся газов происходит через отверстие 13 в крышке корпуса. При снижении приемистости скважины и заполнении корпуса оголовка выщелачивающими растворами запорный орган на поплавке перекрывает выход раствора на поверхность. При скоплении газов в верхней части корпуса будет непрерывно: увеличиваться их давление. Если давление газов превысит давление жидкости в корпусе оголовка, поплавок переместится вниз и временно откроет отверстие для выхода газов.
В случае выделения большого количества газов при наличии в продуктивном горизонте карбонатных пород газовые пробки могут привести к внезапным выбросам газожидкостной смеси, повреждению при этом устьевого оборудования и загрязнению поверхности рабочей площадки. Это приводит также к потере растворителя и снижает безопасность ведения работ. Повысить эффективность работы нагнетательной скважины и безопасность ведения работ можно с помощью следующего устройства, показанного на рис. 23, в котором по длине раствороподающей колонны выше уровня раствора в скважине предусмотрено размещение сетчатых отражателей. При этом нижний торец раствороподающей колонны находится в нижней части фильтра.
Рис. 23. Устройство для оборудования нагнетательных скважин:
1 – отражатель; 2 – эксплуатационная колонна; 3 – раствороподающая колонна; 4 – фильтр
В случае выброса газожидкостной смеси последняя, поднимаясь вверх, разбивается об отражательные сетки, что приводит к отделению газа от раствора. Газ выходит на поверхность через устьевой оголовок, а раствор поступает обратно в скважину. Установка раствороподающей колонны в нижней части фильтра позволяет предупредить попадание газа внутрь колонны, что способствует также повышению приемистости нагнетательных скважин.
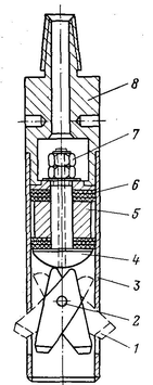
Для нагнетательных скважин, работающих в напорном режиме, применяется оголовок, показанный на рис.24. Оголовок состоит из корпуса патрубка для подачи выщелачивающих растворов и поплавка с запорным органом. В рабочем состоянии поплавок находится в верхней части корпуса и с помощью запорного органа перекрывает отверстие в крышке корпуса. Выщелачивающий раствор под давлением непрерывно нагнетается в скважину, а образовавшиеся газы скапливаются в верхней части оголовка. При давлении газов выше давления растворов поплавок перемещается вниз и временно открывает отверстие для выхода газов.
Рис. 24. Оголовок нагнетательных скважин, работающих в напорном режиме:
1 – поплавок; 2 – корпус; 3 – запорный орган; 4 – фиксаторы; 5 – патрубок; 6 – эксплуатационная колонна
Оголовки для откачных скважин различаются в зависимости от конструкции раствороподъемного оборудования. Обвязка устья скважин при применении в качестве откачных средств эрлифтов показана на рис.25. Для отделения продуктивных растворов от воздуха и механических взвесей (песка) предусматривается установка специальных сепараторов. Сепаратор присоединяется к раствороподъемной трубе и состоит из корпуса (трубы), двух камер – соответственно для ввода пульпы и слива раствора в коллектор. Он должен устанавливаться выше раствороприемного коллектора.
При попадании пульпы в сепаратор воздух, отделяясь, выходит в атмосферу через отверстия, выполненные в крышках камер. Механические взвеси осаждаются на дне корпуса сепаратора. Для лучшего осаждения взвесей при движении пульпы в корпусе сепаратора-предусматривается установка перегородок. Очищенный раствор поступает на слив в коллектор. Механические взвеси периодически удаляются из сепаратора через отверстия, выполненные в нижней части корпуса. Отверстия перекрываются с помощью пробки 8.
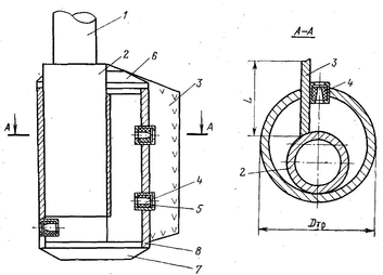
Рис. 25. Устройство для оборудования устья откачных скважин ПВ:
1 – корпус; 2 – перегородки; 3 – отверстия для выхода воздуха; 4 – камера для раствора, поступившего из скважины; 5 – камера слива; 6 – патрубок слива; 7 – поплавковый расходомер; 8 – пробка
Для определения количества раствора, поступившего из скважины, применяются поплавковые расходомеры 7, смонтированные в камере слива. Все части сепаратора и расходомер выполнены из полиэтилена.
При откачке растворов с помощью погружных электронасосов на устье скважины устанавливаются раствороотводной патрубок с задвижкой, манометр и опорная плита, которая находится на кондукторе и воспринимает нагрузки от насоса и раствороподъемных труб
9. Основные направления повышения эффективности сооружения геотехнологических скважин
9.1 Расширение призабойной зоны геотехнологических скважин
Расширение призабойной зоны геотехнологических скважин является одним из путей повышения их производительности и снижения стоимости бурения и добычи ПИ.
При ПВ металлов происходит увеличение дебита расширенных скважин, что связано с увеличением площади притока технологических растворов и с разрушением зон кольматации продуктивных пластов.
При определении величины расширения призабойной зоны технологических скважин ПВ необходимо учитывать следующие основные факторы: а) размеры добычного оборудования, опускаемого в скважину (фильтры, эрлифты и др.); б) эффективное разрушение зон интенсивной кольматации продуктивных горизонтов; в) создание гравийных обсыпок необходимой толщины; г) устойчивость кровли над зоной расширения.
При ПВ металлов диаметр зоны расширения определяется толщиной слоя гравийной обсыпки, величина которого оказывает существенное влияние на производительность скважины и срок ее службы.
Наиболее широко применяются следующие три способа расширения призабойной зоны: механический, гидродинамический и комбинированный. Для скважин ПВ предпочтение следует отдать механическому и особенно комбинированному способу, основанному на механическом разрушении горных пород с использованием энергии струи ПЖ.
На эффективность расширения призабойной зоны технологических скважин большое влияние оказывает конструкция расширителя и режим его работы. При сооружении технологических скважин ПВ находят применение расширители механические, показанные на рис. 26. Режущие лопасти расширителя выводятся в рабочее положение посредством поршня, приводимого в движение потоком жидкости, нагнетаемой буровым насосом. Основное достоинство таких расширителей – высокая надежность в работе благодаря незначительному числу подвижных органов. Приведение лопастей расширителя в транспортное положение по окончании расширения производится в процессе подъема бурового инструмента при движении расширителя по стволу скважины.
Рис. 26. Расширитель механический:
1 – режущие лопасти; 2 – втулка; 3 – корпус расширителя; 4 – нажимное устройство; 5 – корпус поршня;
6 – резиновая манжета; 7 – гайка; 8 –переходник
Д
ругой, более эффективной разновидностью механических расширителей, применяемых при сооружении технологических скважин ПВ, являются расширители, показанные на рис. 27. Режущие лопасти расширителя выводятся в рабочее положение с помощью поршня, приводимого в действие потоком жидкости, нагнетаемой буровым насосом и промежуточных тяг. Усиление резания регулируется путем изменения давления, развиваемого буровым насосом. Для проработки ствола скважины, очистки его от шлама нижняя часть расширителя снабжена режущими элементами (лопастями). Испытания расширителей показали их высокую надежность в работе. Диаметр камеры может достигать 300 – 400 мм при первоначальном диаметре скважины 190 мм. Режущие лопасти занимают исходное положение при подъеме бурового инструмента и прекращении подачи жидкости буровым насосом.
Рис. 27. Расширитель механический с промежуточными тягами:
1 – корпус; 2 – поршень; 3 – тяга; 4 – лопасти; 5 – породоразрушающий наконечник
При сооружении технологических скважин ПВ широкое применение находят гидромеханические эксцентриковые расширители, сконструированные на кафедрах «Разведочного бурения» и «Геотехнологии руд» МГРИ (рис. 28). Корпус расширителя представляет собой трубу, а режущим элементом является лопасть 3, армированная твердосплавными резцами. Для повышения эффективности разрушения пород и очистки лопастей от шлама в корпус расширителя вмонтированы насадки 4. Расширитель имеет замковую резьбу для присоединения к бурильным трубам. Рабочая лопасть расширителя приваривается к замку от бурильных труб диаметром 73 мм. На расширитель надевается корпус, который выполняется из трубы, диаметр которой зависит от диаметра расширяемой скважины. Сверху и снизу к корпусу привариваются крышки 6 и 7, а в корпусе делаются отверстия, к которым привариваются гнезда для гидромониторных насадок. Внутренний диаметр гидромониторных насадок обычно принимается равным 9 или 10 мм, что обеспечит получение высокой скорости струи на выходе из насадки.
Расширитель эксцентриковый отличается простотой конструкции, высокой надежностью в работе (из-за отсутствия подвижных элементов) и быстротой изготовления.
Процесс разрушения породы стенок буровых скважин таким долотом основан на свойстве вращающихся предметов занимать положение в пространстве, при котором их момент инерции относительно оси вращения стремится быть максимальным. Расширение скважин происходит за счет возникающих центробежных сил и частично за счет гидромониторного эффекта струи жидкости.
















