24844 (654502), страница 7
Текст из файла (страница 7)
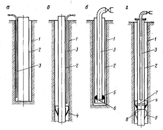
Для спуска полиэтиленовых колонн применяют утяжелители стационарные и съемные (рис.9). В качестве стационарных утяжелителей используются чугунные, металлические, железобетонные стержни и ОТ с различными инертными наполнителями. Они присоединяются к нижней части полиэтиленовой колонны или равномерно распределяются по ее длине.
Рис. 9. Утяжелители для спуска полимерных труб:
а – съемный утяжелитель в виде звеньев бурильных труб; б – стационарный утяжелитель; в – стационарный утяжелитель с равномерно распределенной массой по длине колонны:
1 – обсадная или эксплуатационная колонна; 2 – бурильные трубы; 3 – манжета; 4 – фильтр; 5 – утяжелитель; 6 – секции утяжелителя
Применение стационарных утяжелителей, расположенных в нижней части колонны, является наиболее простым способом спуска полиэтиленовых труб, однако их применение требует увеличения глубины бурения на длину утяжелителя, что с учетом стоимости самих утяжелителей приводит к снижению технико-экономических показателей сооружения технологических скважин. Кроме того, чугунные, металлические и железобетонные утяжелители при применении кислотных растворителей способствуют засорению продуктивных растворов.
Для съемных утяжелителей можно использовать чугунные, металлические и железобетонные стержни, устанавливаемые внутри полиэтиленовой колонны на специальных упорах, а также звенья БТ, опущенные внутрь колонны (см. рис. 9, а).
Съемные утяжелители в виде стержней, устанавливаемых внутри колонны, не нашли широкого применения из-за трудностей их извлечения после спуска полиэтиленовой колонны. Это вызвано значительными колебаниями толщины стенки, а следовательно и значительными колебаниями величины внутреннего диаметра изготавливаемых полиэтиленовых труб, а также вследствие наплывов полиэтилена, которые образуются при термических методах соединения.
БТ диаметром 42 и 50 мм широко используются в качестве съемных утяжелителей. Они опускаются внутрь полиэтиленовой колонны и соединяются со специальным противоаварийным переходником, смонтированным в отстойнике. Очень часто указанные БТ используются для более точной установки фильтра в зоне рудного пласта, особенно в глубоких скважинах.
Для глубоких скважин в 500 – 600 м при спуске полиэтиленовых труб требуются утяжелители, имеющие значительную массу. Основным недостатком описанных ранее утяжелителей при оборудовании полиэтиленовыми колоннами глубоких скважин является то, что нагрузка от утяжелителя воспринимается нижним концом колонны, вследствие чего происходит концентрация значительных растягивающих напряжений в месте соединения утяжелителя с обсадной колонной, что приводит к обрыву ОТ.
С целью повышения надежности и экономической эффективности оборудования глубоких скважин полиэтиленовыми колоннами авторами предложена обсадная колонна, у которой масса утяжелителя равномерно распределена по ее длине (см. рис. 9, в). Предложенный утяжелитель может быть выполнен в виде набора трубчатых секции, каждая из которых является разрезной, состоящей из двух полуцилиндров, которые могут быть закреплены на колонне труб при помощи хомутов. Секции располагаются концентрично наружной поверхности полиэтиленовых труб на расстоянии друг от друга, равном длине полуволны изогнутой колонны.
Сборку полиэтиленовой колонны и спуск ее в скважину осуществляют наращиванием труб по мере спуска колонны. Через интервалы, равные длине полуволны изогнутой колонны, на трубе закрепляют секции утяжелителя, число которых определяют исходя из величины общей массы утяжелителя.
Спуск металлопластовых, стеклопластиковых и других труб, имеющих значительную жесткость, производится по общепринятой технологии.
При спуске полимерных, металлопластовых и стеклопластиковых труб в скважину необходимо использовать специальные инструменты (ключи, хомуты и др.). С целью предотвращения повреждения поверхности труб инструмент должен иметь предохранительные прокладки, выполненные из резины или полиэтилена.
Значительную трудность представляет спуск фильтра с надфильтровым патрубком, выполненным из полиэтилена, стеклопластика, нержавеющей стали, при установке фильтра в скважине «впотай».
Для этой цели применяются специальные устройства, позволяющие быстро и надежно отсоединить фильтр после его установки (рис. 10). При применении таких устройств фильтр может опускаться на бурильных трубах или на канате. На рис. 10, а показано устройство для отсоединения фильтра, опущенного в скважину на бурильных трубах. Устройство содержит корпус 1, в котором размещен подпружиненный шток, выполненный в нижней части с утолщением. В отверстиях корпуса против утолщенной части штока расположены кулачки 4, которые размещаются в окнах надфильтрового патрубка в процессе спуска фильтра.
Для отсоединения устройства от фильтра по бурильным трубам подают жидкость, под действием которой шток 2 смещается вниз и утолщенная его часть выходит из зоны расположения кулачков. Затем путем вращения устройства на пол-оборота утапливают кулачки в корпус и прекращают подачу жидкости. Под действием усилия пружины шток движется вверх, а захваты 3 утолщенной части штока 2 удерживают кулачки и не позволяют им выйти за габариты корпуса. После этого производится подъем бурильных труб и отсоединителя.
Для сокращения затрат времени на спуск фильтра в скважину отсоединительное устройство и фильтр с надфильтровым патрубком могут опускаться в скважину на канате. Общий вид такого устройства показан на рис. 10, б. В корпусе 1 устройства свободно размещен полый шток 2, удерживающий кулачки 3 от падения во время спуска фильтра. Через полый шток и захват 4, расположенный в верхней части, проходит канат 5, на котором на 2 – 5 м выше корпуса закреплен овершот.
Рис. 10. Отсоединители для установки фильтров «впотай»: с – для спуска фильтров на бурильных трубах:
1 – корпус; 2 – подпружиненный шток; 3 – захват; 4 – кулачок; 5 – фильтр;
б – для спуска фильтра на канате: 1 – корпус; 2 – шток; 3 – кулачки; 4 – захват; 5 – канат; 6 – овершот;
7 – фильтр; 8 – пружина
Для отсоединения фильтра после его установки в скважине производят опускание каната до тех пор, пока овершот не войдет в зацепление с захватом штока. Затем поднимают канат, а вместе с ним и захваченный овершотом полый шток. При выходе штока из корпуса устройства кулачки утапливаются в корпус и с помощью пружин освобождаются от фильтра. В дальнейшем с помощью каната устройство поднимают из скважины.
6. Цементирование и гидроизоляция геотехнологических скважин
6.1 Назначение цементирования и гидроизоляции
Цементирование и гидроизоляция геотехнологических скважин являются важнейшими факторами эффективности и качества работ, связанных с добычей твердых ПИ. Они осуществляются с целью решения основных задач:
-
предотвращения растекаемости рабочих и продуктивных растворов из отрабатываемых продуктивных пластов через затрубное пространство скважин в выше- и нижележащие водоносные горизонты;
-
разобщения пространства между эксплуатационной и обсадной колоннами. Применяется в основном тогда, когда обсадная колонна выполнена из коррозирующего материала, а рабочие и продуктивные растворы обладают высокой агрессивностью;
-
защиты эксплуатационной колонны от сминающих усилий, вызванных горным давлением слабоустойчивых пород, вскрытых в процессе бурения скважин. Такая защита особенно необходима, когда скважиной вскрываются мощные пласты несцементированных, неустойчивых пород, и в качестве обсадных колонн применяются неметаллические трубы;
-
предотвращения утечек рабочих растворов через соединения(чаще всего резьбовые) эксплуатационных колонн, особенно при высоконапорном режиме нагнетания;
-
удержания и изоляции обсадных и эксплуатационных колонн в скважине, когда ствол скважины в призабойной зоне представлен камерой (полостью) значительных размеров. Это необходимо учитывать при бесфильтровых скважин ПВ. Расширение призабойной зоны скважин с целью повышения их производительности также широко практикуется при сооружении технологических скважин ПВ металлов;
-
локализации рудных тел и отдельных залежей для предотвращения растекаемости выщелачивающих и продуктивных растворов в отдельных блоках при подземном выщелачивании металлов путем закачки в специально оборудованные трещины гидроразрыва цементных и других растворов;
-
упрочнения стенок скважин при сооружении эксплуатационных скважин ПВ в раздробленных породах и в подготовительных скальных блоках;
-
создания искусственных целиков для предупреждения размыва породы в зоне башмака обсадной колонны. Это мероприятие находит применение при оборудовании эксплуатационных скважин при под земном растворении солей.
6.2 Способы цементирования геотехнологических скважин
Процесс цементирования скважин ПВ, оборудованных неметаллическими обсадными и эксплуатационными колоннами, является сложным и трудоемким.
Широкое применение нашли способы цементирования через заливочные трубки, по которым и подается цементный раствор. В зависимости от размещения заливочных трубок различают два варианта доставки тампонажных материалов в затрубное пространство скважины. При первом варианте цементирования заливочные трубки опускают в затрубное пространство цементируемой колонны, а при втором – внутрь обсадной или эксплуатационной колонны.
Вариант доставки тампонажных материалов при размещении заливочных трубок в затрубном пространстве колонны показан на рис. 11.
Рис. 11. Схемы цементирования скважин с применением заливочных трубок: а, б – путем спуска заливочных трубок в затрубное пространство обсадной колонны; в, г – путем спуска заливочных трубок в полость обсадной колонны:
1 – ствол скважины; 2 – обсадная (эксплуатационная) колонна; 3 – заливочные трубки; 4 – разобщающая манжета; 5 – пакер; 6 – обратный клапан; 7 – цементирующее устройство; 8 – диафрагма; 9 – центратор
Нижний конец заливочных трубок опускают выше башмака колонны или разобщающей манжеты на 0,5 – 2 м и по ним в затрубное пространство закачивают цементный, раствор в требуемом объеме. В качестве заливочных трубок могут применяться бурильные трубы ниппельного соединения, насосно-компрессорные трубы или полиэтиленовые шланги.
В связи с трудностью спуска в скважину полиэтиленовых шлангов предусматривается их крепление к обсадным или эксплуатационным трубам и одновременный спуск.
При цементировании обсадных колонн из полимерных материалов с целью предупреждения смятия предусматривается полное заполнение их внутренней полости глинистым раствором (рис. 11 а). Причем по мере заполнения затрубного пространства тампонажным раствором заливочные трубки приподнимают. Для предупреждения перетекания цементного раствора в полость обсадной колонны ее башмак оборудуется диафрагмой, изготовленной из чугуна, стекла и других материалов, либо предусматривается заливка полости обсадной колонны глинистым раствором с плотностью, близкой к плотности цементного раствора.
При цементировании колонн, оборудованных в нижней части фильтром, предусматривается постановка разобщающей манжеты, закрепленной на колонне выше фильтра (рис. 11, б). Она предотвращает поступление тампонажных растворов в прифильтровую зону скважины.
Манжета выполняется из эластичного материала, в основном из кислотостойкой резины и имеет форму усеченного конуса, широкая часть которого больше диаметра скважины на 20 – 50 мм. Для лучшей герметизации прифильтровой зоны скважины посадку манжеты обычно производят на уступ, образованный при переходе ствола скважины на уменьшенный диаметр.
К основным недостаткам цементирования при размещении заливочных трубок в затрубном пространстве можно отнести следующие:
-
затруднено использование при цементировании глубоких скважин в связи с трудностью спуска заливочных трубок;
-
необходимость увеличения диаметра скважин для размещения заливочного става в пространстве между стенкой скважины и обсадной колонной. Для цементирования обсадной колонны из полиэтиленовых труб ПВП 110X18 Т и применения в качестве заливочного става БТ диаметром 42 мм диаметр скважины должен быть не менее 190 – 214 мм. Это приводит к увеличению стоимости ее сооружения;
-
при использовании качестве заливочных трубок бурильных, насосно-компрессорных и других металлических труб увеличивается вероятность повреждения цементируемых труб и их соединений, что приводит к аварийным ситуациям и выходу скважины из строя;
-
невозможность оборудования цементируемой колонны центрирующими фонарями, скребками и другими приспособлениями вследствие того, что они являются препятствием для спуска заливочногостава;
-
не обеспечивается высокое качество цементирования в связи с неравномерным распределением цементного раствора за колонной и разбавлением его глинистым раствором.
Более совершенным способом подачи тампонажных растворов Является подача через заливочные трубки, опущенные в полость цементируемой колонны (рис. 11, в, г).
При цементировании неметаллических обсадных колонн через заливочные трубки, опущенные внутрь колонны, по схеме (рис. 11, в) нижний конец заливочных трубок снабжается обратным клапаном 6 и пакером 5, устанавливаемым в зоне башмака обсадной колонны на расстоянии не более 0,5 м от низа с целью предупреждения заполнения полости колонны цементным раствором. После установки пакера в обсадную колонну до устья скважины заливают глинистый раствор с плотностью не ниже 1200 кг/м3. Верх колонны оставляют открытым. После закачки цементного раствора и ОЗЦ, пакер срывают и вместе с заливочным ставом извлекают из скважины. Высота цементного стакана в обсадной колонне при такой схеме цементирования не превышает 0,5 м и не затрудняет дальнейшего углубления скважины.
Цементирование неметаллических обсадных (эксплуатационных) колонн, оборудованных в нижней части фильтром, осуществляют по схеме, показанной на рис. 11 г. Для подачи тампонажных растворов в затрубное пространство скважины используются специальные устройства, показанные на рис. 12 и 13.
Устройство, показанное на рис. 12, монтируется и опускается в скважину на обсадной колонне и содержит разобщающую манжету с клапаном, центратор с принудительным цементированием колонны и диафрагму, изготовленную из листовой стали толщиной 2 – 3 мм, чугуна и стекла толщиной 2 – 5 мм. Выше диафрагмы в колонне сделаны отверстия диаметром 15 – 25 мм в один или два ряда. Отверстия с наружной части трубы закрыты резиновыми клапанами, представляющими собой часть разобщающей манжеты.
















