24844 (654502), страница 2
Текст из файла (страница 2)
Вращательное бурение с прямой промывкой применяется для бурения различных по твердости пород и находит широкое применение при проходке устойчивых пород. При разработке россыпных месторождений методом ПВ из-за недостаточной устойчивости стенок скважин и наличия различной величины валунов этот способ бурения имеет значительные недостатки, так как требует применения специальной технологии ведения работ. В качестве породоразрушающих инструментов (ПРИ) применяются долота (лопастные и шарошечные), а также различные пикобуры.
Вращательное бурение с прямой промывкой осуществляется с помощью различных буровых установок (роторных, шпиндельных). Для бурения мягких пород сплошным забоем широкое применение находят установки с роторными вращателями типа УРБ-ЗАМ, 1БА-15В, УБВ-600 и др.
Вращательное бурение с обратной промывкой особенно эффективно может быть применино при сооружении технологических скважин для ПВ металлов, что позволит уменьшить кольматацию продуктивных пластов, увеличить диаметры скважин и создавать фильтры с уширенным контуром гравийной обсыпки.
Для бурения скважин с обратной промывкой сконструирован буровой агрегат 1БА-15К. Можно также использовать буровые установки 1БА-15В, УКС-22М и др., приспособив их для этих целей. Кроме того, при бурении с обратной промывкой требуется применение специального инструмента и приспособлений (бурильные и ведущие трубы и др.).
Вращательное бурение с продувкой при сооружении технологических скважин повышает качество вскрытия продуктивных горизонтов, уменьшает затраты времени на освоение скважин и повышает технико-экономические показатели, особенно при сооружении технологических скважин ПВ.
Однако этому способу бурения присущи и значительные недостатки, связанные с его неприменимостью при бурении глинистых, песчано-глинистых и сыпучих пород и при встрече подземных вод.
Наиболее эффективными способами бурения скважин на россыпях могут быть ударно-забивное, ударно-канатное, виброударное, термическое, термомеханическое, электроимпульсное и др.
2.2 Искривление скважин. Мероприятия по поддержанию заданного направления технологических скважин
Поддержание заданного направления геотехнологических скважин имеет большое значение. При ПВ металлов искривление скважин может привести к нарушению принятой системы разработки месторождений.
В настоящее время при разработке методом ПВ урановых руд наиболее распространенной является линейная система с шахматным расположением скважин с расстоянием 25х50 м. При искривлении скважин расстояния между осями скважин в зоне рудного пласта могут измениться, что приведет к нарушению полноты выемки полезного компонента.
При отработке пластовых месторождений отклонение забоя скважины от вертикали при бурении вертикальных скважин достигает 1,5 – 4,5 м при глубинах скважин до 150 м и 6 – 15 м при глубинах скважин свыше 250 м.
При указанной выше сетке расположения технологических скважин максимальное сближение фильтров может достигнуть 5 м, а максимальное их удаление – 80 м. В связи с искривлением скважин может значительно изменяться конфигурация ячеек выщелачивающих блоков (рис. 2). Допустимое отклонение ствола скважин от вертикали не должно превышать 1 – 2° на 100 м при сооружении неглубоких скважин и 1° на 100 м при сооружении скважин глубиной более 250 – 300 м.
Рис. 2. Влияние искривления скважин на форму отрабатываемой ячейки при ПВ:
1 – проектная форма ячейки; 2 – фактическая форма ячейки; 3 – устье откачных скважин; 4 – устье нагнетательных скважин; 5 – фактическое положение забоя нагнетательных и откачных скважин.
Разработка мероприятий по поддержанию заданного направления геотехнологических скважин является важной задачей. Такими мероприятиями могут быть следующие: а) тщательная установка стола ротора; б) зазор между ведущей трубой и клиньями не должен превышать 2 – 3 мм; в) искривленность бурильных и утяжеленных труб, а также ведущей трубы должна быть в пределах нормы; г) тип долота подбирать в соответствии с физико-механическими свойствами пород; д) низ бурильной колонны собирать без перекосов, не допуская несоосности ее деталей и узлов; е) применять правильный режим бурения.
Основным средством борьбы с искривлением скважин является правильная конструкция низа бурильной колонны. Бурение скважин необходимо вести с обязательным применением утяжеленных бурильных труб. Диаметр УБТ должен быть близким к диаметру долота.
Для придания скважинам заданного направления при значительном несоответствии диаметров долота и труб очень часто предусматривается центрирование долота путем установки над долотом центраторов или фонарей, изготовленных из труб близкого к долоту диаметра. Центраторы могут также устанавливаться по длине УБТ или БТ на расстоянии друг от друга, равном длине полуволны изогнутой колонны труб.
3. Буровое оборудование для сооружения геотехнологических скважин
3.1 Основные факторы, определяющие выбор буровых агрегатов
Важным требованием к буровому оборудованию для сооружения геотехнологических скважин является его высокая мобильность, быстрый монтаж, демонтаж и перевозка, высокий уровень механизации вспомогательных операций, а также наличие укрытий, так как сооружение скважин производится круглогодично.
Разбуриваемые горные породы по своим свойствам обладают большим разнообразием, но преобладают породы осадочного комплекса, что вызывает определенные требования к буровому оборудованию и в первую очередь необходимость в буровых насосах с высокой подачей.
Из современных буровых установок, выпускаемых промышленностью, наиболее полно требованиям технологии сооружения геотехнологических скважин отвечают буровые агрегаты УРБ-ЗАМ 1БА-15В, УРБ-ЗА2, УРБ-ЗАЗ, УБВ-600. Указанные буровые установки отвечают основным требованиям, предъявляемым к технологии бурения и оборудованию геотехнологических скважин. Самоходные установки обеспечивают возможность бурения скважин большими диаметрами. Наиболее полно требованиям технологии сооружения эксплуатационных скважин при ПВ отвечает буровой агрегат 1БА-15В.
Бурового оборудования, полностью удовлетворяющего требованиям технологии бурения геотехнологических скважин, в нашей стране не выпускается, так как не было необходимости бурения скважин таких конструкций и глубин в больших объемах. Выпускаемые промышленностью буровые установки роторного типа во многих случаях не могут обеспечить необходимые параметры режима бурения – осевую нагрузку на долото и количество промывочной жидкости, подаваемой на забой. Выпускаемые буровые установки укомплектованы насосами, обычно имеющими небольшую подачу, что не может обеспечить при бурении мягких пород эффективную очистку забоя от шлама в скважинах, имеющих значительные поперечные размеры.
При бурении скважин установками роторного типа передача осевой нагрузки на долото осуществляется с помощью УБТ. В этом случае при неглубоких скважинах не представляется возможным обеспечить требуемые осевые нагрузки на долото для объемного разрушения породы на забое, в связи с чем имеются трудности в получении высоких скоростей бурения.
Применение воды способствует увеличению механической скорости бурения и уменьшению затрат на приготовление глинистого раствора. Но вода обладает меньшей вязкостью, чем любая промывочная жидкость и ее применение может способствовать оседанию большого количества шлама при остановке циркуляции. Кроме того, применение воды возможно в том случае, когда обеспечивается необходимая устойчивость разбуриваемых пород, их высокая сопротивляемость размывающему действию потока ПЖ.
Повышению эффективности разрушения мягких пород при небольших осевых нагрузках может способствовать применение лопастных гидромониторных долот.
Опыт эксплуатации буровых агрегатов УРБ-ЗАМ, 1БА-15В, УБВ-600 в различных горно-геологических условиях выявил ряд недостатков, присущих этим агрегатам. Основными из них являются следующие: 1) недостаточный уровень механизации вспомогательных процессов; 2) отсутствие утепляемых укрытий; 3) значительные затраты времени на монтаж, демонтаж и перевозку агрегатов; 4) не в полной мере отвечают требованиям технологии оборудования эксплуатационных скважин добычными устройствами.
Отсутствие утепляемых укрытий и другие недостатки, присущие самоходным установкам с роторными вращателями, привели к тому, что для сооружения технологических скважин ПВ путем конструктивных изменений приспосабливаются и другие буровые агрегаты, например ЗИФ-650А, ЗИФ-650М, ЗИФ-1200А, ЗИФ-1200МР и др.
Ведутся работы по созданию специализированных буровых агрегатов для сооружения технологических скважин ПВ.
В подземных условиях при выщелачивании в скальных блоках для бурения скважин применяются буровые агрегаты типа НКР-100М, БСК-2М-100, БСК-2М2-100, буровые каретки БК-2П с перфораторами ПК-60 и др.
3.2 Самоходные буровые агрегаты с роторными вращателями
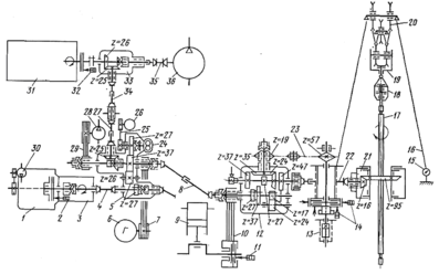
Буровой агрегат 1БА-15В. Буровой агрегат состоит из трех блоков: бурового, насосно-силового и компрессорного.
Кинематическая схема бурового агрегата 1БА-15В приведена на рис. 3. Буровой блок агрегата монтируется на шасси автомобиля МАЗ-500А, здесь располагаются ротор с проходным отверстием 410 мм, лебедка, коробка скоростей с пневмомуфтой, буровой насос НБ-12-63-40, буровая мачта с секционными гидравлическими домкратами, генератор мощностью 12 кВт, коробка отбора мощности с гидравлическим насосом, гидрораскрепитель, пульт управления (ПУ), аварийный компрессор для пневмоуправления.
Рис.34. Кинематическая схема бурового агрегата 1БА-15В:
1 – двигатель ЯМЗ-256; 2, 11, 14, 32 – пневмокамеры; 3 – коробка передач двигателя; 4, 8, 22, 27, 34, 35 – карданные валы; 5 – коробка отбора мощности; 6 – генератор; 7, 10, 25, 29 – клиноремённые передачи; 9 – буровой насос; 12 – коробка передач; 13- лебёдка; 15 – индикатор веса; 16 – талевый канат; 17 – ведущая труба; 18 – вертлюг; 19 – талевый блок; 20 – кронблок; 21 – ротор; 23 - цепная передача; 24 – гидронасос; 26 – тахогенератор; 28 – аварийный компрессор; 30 – компрессор двигателя; 31 – двигатель Д-108 для привода компрессора; 33 – редктор угловой; 36 – компрессор К9М.
На насосно-силовом блоке расположены двигатель ЯМЗ-236 с коробкой передач, буровой насос 9МГР-61 или 9МГР-73, угловой редуктор, аккумуляторный ящик и др.
На компрессорно-силовом блоке располагаются двигатель Д-108 со сцеплением, компрессор К9М для производства откачек, угловой редуктор, ресивер и др.
Для привода средств механизации, имеющихся на буровом агрегате, а также с целью облегчения управления механизмами буровой установки она снабжена пневмо- и гидромеханизмами.
Буровой насос и ротор включаются с пульта управления бурильщика с помощью пневмомуфт. Фрикцион и тормоз лебедки имеют пневмоусилители, которые получают привод от компрессора автошасси или аварийного компрессора.
На буровом агрегате используются гидрораскрепитель для развинчивания БТ диаметром 73 мм с помощью ротора, приспособление для выноса БТ, вспомогательная катушка и др.
Для измерения осевой нагрузки на долото применяется индикатор веса ГИВ-6-11. При бурении можно использовать свечи длиной 12 м, обсаживать скважину трубами диаметром 377 мм без снятия ротора.
Буровая установка УБВ-600. Буровая установка состоит из двух блоков – бурового и насосного, смонтированных на трехосном автошасси КрАЗ-257.
Привод основных механизмов осуществляется от ходового двигателя ЯМЗ-238 через двухскоростную коробку отбора мощности. Управление коробкой отбора мощности установлено в кабине автомобиля.
В состав бурового блока входят раздаточная коробка, угловой редуктор, двухбарабанная лебедка, вал для привода ротора, компрессор для привода механизмов управления, мачта с гидравлическими домкратами подъема, закрепленная на раме лебедки.
На насосном блоке размещены раздаточная коробка, два насоса 9МГР-61 с обвязкой, электрогенератор мощностью 30 кВт, компрессор КТ-7, устройства для спаривания насосного и бурового блоков. Передача вращения с блока на блок производится с помощью карданного вала. Суммирование мощности двух двигателей на одну трансмиссию не допускается.
Ротор с проходным отверстием 410 мм и подсвечник устанавливаются на рабочей площадке.
Мачта – наклонная, телескопическая. Верхняя секция выдвигается посредством талевого блока установки. На верхнем торце нижней секции крепят полати емкостью 50 свечей из труб диаметром 114 мм. Полати при транспортировке перевозятся отдельно.
Лебедка состоит из двух барабанов – бурового и тартального, которые включаются шинно-пневматическими муфтами. Из средств механизации работ предусматриваются гидрораскрепитель, тележка для переноса труб, устройство для свинчивания долот под ротором и бурения шурфа, электрическая лебедка и компрессор.
Управление механизмами бурового агрегата сосредоточено на пульте управления бурового и насосного блоков.
Технические характеристики самоходных буровых агрегатов с роторными вращателями приведены в табл. 1.
Таблица 1
| Параметры | УРБ-ЗАМ | УРБ-ЗАЗ | УРБ-ЗА2 | 1БА-15В | УБВ-600 | |||||||
| Грузоподъемность, т: | ||||||||||||
| номинальная | 5 | 6,5 | 6,3/12,5 | 12,5 | 32 | |||||||
| максимальная | 8 | 13 | 10/20 | 20 | 50 | |||||||
| Основной способ бурения | Вращательный с промывкой | |||||||||||
| Рекомендуемая глубина бурения, м | 500 | 600 | 800 | 500 | 600 | |||||||
| Диаметр труб, мм | 60 | 60 | 60 | 73 | 114 | |||||||
| Рекомендуемые диаметры скважин, мм: | ||||||||||||
| начальный | 243 | 243 | 243 | 394 | 490 | |||||||
| конечный | 93 | 93 | 93 | 194 | 214 | |||||||
| Транспортная база | Шасси МАЗ-500А | Шасси МАЗ-500А | Шасси МАЗ-500А | Шасси МАЗ-500А | КрАЗ-257 (2 шасси) | |||||||
| Силовой привод, тип | Дизель Д-54 | Дизель А-41Г | ЯМЗ-236 | ЯМЗ-236/ Д-108 | ЯМЗ-238 (2 двигателя) | |||||||
| Мощность, кВт | 39,7 | 66,2 | 77,2 | 77,2/79,4 | 110,3х2 | |||||||
| Частота вращения,об/мин | 1300 | 1750 | 1500 | 1500/1070 | 1500 | |||||||
| Удельный расход топлива, г/(кВт∙ч) | 150,7 | 132,4 – 136 | 122,8 – 133 | 132,4 – 133 | 122,8 – 133 | |||||||
| Ресурс до капитального ремонта, ч | 5000 | 6000 | 8000 | 8000 | 8000 | |||||||
| Мачта | Секционная складывающаяся | Телескопическая наклонная | ||||||||||
| Высота до оси кронблока, м | 16 | 18 | 18 | 18 | 22,4 | |||||||
| Подъем мачты | Гидродомкратом | |||||||||||
| Длина бурильной трубы/свечи, м | 4,5/9 | 6/12 | 6/12 | 6/12 | 12 | |||||||
| Механизм вращения | Ротор | |||||||||||
| Проходное отверстие стола, мм | 250 | 250 | 250 | 410 | 410 | |||||||
| Частота вращения, об/мин (прямые основные передачи) | 110, 190, 314 | 75, 150, 285 | 79, 160, 300 | 65, 130, 245 | 105, 183 | |||||||
| Число передач основных / вспомогательных | 4 | 4 | 4/4 | 4/4 | 2/3 | |||||||
| Крутящий момент (максимальный), Н∙м | 3500 | 7000 | 4500 (7000) | 7000 (1000) | 1700 | |||||||
| Натяжение талевого каната максимальное, кН | 28 | 35 | 52 | 52 | 90/30 | |||||||
| Диаметр каната, мм | 15,5 | 18 | 18 | 18 | 25/13 | |||||||
| Емкость барабана, м | 100 | 150 | 150 | 150 | 200 | |||||||
| Оснастка талевой системы | 1x2 | 2x3 | 1x2/2x3 | 2x3 | 3X4 | |||||||
| Скорость подъёма крюка, м/с | 0,54 – 1,56 | 0,34 – 1,32 | 0,4 – 1,48 | 0,2 – 1,39 | 0,18 – 1,2 | |||||||
| Тип подачи | С тормоза лебедки | С тормоза лебедки и гидравлическая | С тормоза лебедки и гидравл. (по заказу) | С тормоза гидравлическая (по заказу) | С тормоза лебедки | |||||||
| Усилие подачи, кН: | ||||||||||||
| вниз | – | 35 | 35 | 35 | – | |||||||
| вверх | – | 50 | 50 | 50 | – | |||||||
| Ход подачи, м | На длину штанги | 0,6 или на длину штанги | 0,6 или на длину штанги | 0,6 или на длину штанги | На длину штанги | |||||||
| Параметры | УРБ-ЗАМ | УРБ-ЗАЗ | УРБ-ЗА2 | 1БА-15В | УБВ-600 | |||||||
| Буровой насос | 11ГрИ | НБ 12-63-40 | 11ГрИ | НБ 12-63-40 | 9МГр-61 (2 насоса) | |||||||
| Приводная мощность, кВт | 35,3 | 50 | 35,3 | 50 | 125 | |||||||
| Подача максимальная, л/с | 7 | 12, 25 | 7 | 12, 25 | 32 | |||||||
| Давление максимальное, МПа | 6,3 | 6,3 | 6,3 | 6,3 | 15 | |||||||
| Компрессор | – | – | Гаро | К9М | КТ-7 | |||||||
| Подача, м3/мин | – | – | 0,5 | 10 | 5,3 | |||||||
| Давление, МПа | – | – | 0,7 | 0,6 | 0,8 | |||||||
| Гидравлический насос | НШ-46 (на двигателе) | НШ-10 (на двигателе) | НШ-32 или НШ-10 | НШ-32 или НШ-10 | М-20 | |||||||
| Электрогенератор | ||||||||||||
| Мощность, кВт | 8 | 20 | 12 | 12 | 30 | |||||||
| Напряжение, В | 380/220 | 380/220 | 380/220 | 380/220 | 380/220 | |||||||
| Сварочное устройство | – | – | – | – | Трансформатор ТС6-300 (по заказу) | |||||||
| Механизм развинчивания | Ротором трубы диаметром 60 мм | РТ-1200М | Ротором трубы диаметром 60 мм | Ротором трубы диаметром 73 мм, гидрораскрепитель | Гидрораскрепитель, электролебедка | |||||||
| Управление основными рабочими механизмами | Механическое | Пневмагическое | ||||||||||
| Укрытие | – | Укрытие бурильщика и верхового рабочего | Укрытие бурильщика и верхового рабочего | Укрытие бурильщика | Укрытие блоков и верхового рабочего (по заказу) | |||||||
| Габариты основного блока в транспортном положении, м | 10,7х2,8х3.5 | 10.86хЗх3.75 | 10.86хЗх3.75 | 10.86хЗх3.75 | 12,46х2,65х х4,16х10,0х х3,0х3,25 | |||||||
| Масса основного блока, т (транспортная) | 13,7 | 14,8 | 14,4 | 14,7 | 24,1 (20,9 насосный) | |||||||
| Гарантийный срок исправной работы, мес | 12 | 12 | 9 | 12 | 12 | |||||||
| Межремонтный период до первого капитального ремонта, ч | 6400 | 7000 | 8000 | 8000 | 6000 | |||||||
3.3 Буровые установки со шпиндельными вращателями
Для бурения геотехнологических скважин используются также буровые станки, имеющие шпиндельные вращатели. В основном применяются буровые станки ЗИФ-650М и ЗИФ-1200МР.
















