24844 (654502), страница 6
Текст из файла (страница 6)
Изменение глубины прогрева свариваемых труб приводит не только к изменению прочности сварного шва, но и к изменению размеров утолщения в виде валика, образующегося вдоль всего шва после осадки. С увеличением глубины прогрева ширина и высота валика увеличиваются. Минимальное давление в месте контакта свариваемых поверхностей должно быть 0,15 МПа. Это обеспечит прочность сварного шва при растяжении не ниже 90 % прочности основного-материала.
На прочность сварного соединения большое влияние оказывает чистота свариваемых поверхностей труб. Наличие загрязнений в материале труб непосредственно у свариваемых кромок значительно снижает прочность сварного шва. Поэтому при производстве сварочных работ рекомендуется торцы труб очищать и обезжиривать ацетоном, так как наличие масел, нефтепродуктов и других жирных веществ может привести к образованию трещин в свариваемом шве.
Термоконтактная сварка встык осуществляется с применением нагревательных плит с встроенными в них электрическими спиралями. Температура прогрева определяется в основном при помощи термометров. Степень нагрева плиты при монтаже колонн можно устанавливать при помощи индикаторов – двухцветных карандашей, синего и желтого цвета. Нагрев является достаточным, если соответствующий карандаш плавится при соприкосновении с плитой и не оставляет следа при движении по плите.
При термоконтактной сварке встык величина сварного валика достигает 5–6 мм, что снижает сечение труб в месте сварки. Для уменьшения величины сварного валика перед сваркой подготавливают кромки свариваемых труб. Для этого в трубах ПВП «СТ» с внутренней стороны торцов срезают фаски на глубину до 5 мм или протачивают трубы под установку металлической втулки. В некоторых случаях металлическая втулка является и ограничителем подачи (сжатия) труб после их прогрева.
В настоящее время при использовании существующих установок для сварки полиэтиленовых труб большинство операций, связанных со сваркой труб, выполняются с применением неквалифицированного ручного труда. Из недостатков такого способа соединения следует отметить трудности поддержания необходимой чистоты свариваемых поверхностей труб, а также субъективную оценку параметров сварки – температуры нагревателя и удельного давления при оплавлении и соединении труб. В то же время соблюдать параметры сварки, близкие к оптимальным, может только опытный сварщик, в связи с чем кроме членов буровой бригады при креплении и оборудовании технологических скважин требуется присутствие высококвалифицированного сварщика.
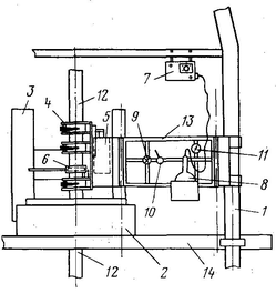
С целью повышения эффективности соединения полиэтиленовых труб на предприятиях ПВ металлов разработаны и применяются специальные установки для сварки вертикальных и горизонтальных трубопроводов, позволяющие механизировать и автоматизировать процесс сварки полиэтиленовых колонн. Схема этой установки показана на рис. 7.
Рис. 7. Полуавтоматическая установка для сварки полиэтиленовых труб УСВТ-2:
1 – стойка мачты буровой установки; 2 – ротор; 3 – лебедка; 4 – центратор; 5 – пневмоцилиндр;
6 – торцовочное приспособление; 7 – терморегулятор; 8 – нагревательный элемент; 9 – регулятор давления;
10 – переключатель; 11 – манометр; 12 – свариваемые трубы; 13 – рама крепления к мачте; 14 – платформа буровой установки.
Центрирующие приспособления сварочной установки консолью крепятся к стойке мачты бурового агрегата. Шарнирные соединения позволяют свободно отводить и подводить центраторы к месту сварки над ротором. Необходимое давление при оплавлении и сварке создается пневматическим цилиндром, который одновременно позволяет смыкать и размыкать торцы труб. Разогрев нагревательного элемента осуществляется от генератора буровой установки. Имеющийся блок контрольно-измерительных приборов позволяет устанавливать заданную величину температуры. Поверхность нагревательного элемента покрыта антиадгезионным материалом, армированным фторопластом, в результате чего на нагревателе не остается следов от расплавленного полиэтилена. Торцовка труб осуществляется непосредственно перед сваркой с помощью специального приспособления. Выполнение этой операции непосредственно перед сваркой труб способствует улучшению качества свариваемого шва из-за меньшего окисления поверхностного слоя торцов ОТ.
При торцовании концов труб в механических мастерских имеет место значительное окисление поверхностного слоя до начала сварки и спуска труб в скважину, что отрицательно сказывается на качестве шва.
Применение полуавтоматической электронагревательной установки позволяет сократить затраты времени и способствует улучшению технологии сварки и условий труда. Кроме того, автоматическая установка оптимальных параметров сварки и упрощение операций в результате использования малой механизации позволяют производить спуск обсадных и эксплуатационных колонн силами буровой бригады.
Основываясь на анализе аварийности скважин, оборудованных полиэтиленовыми колоннами, можно сделать вывод, что большинство аварий колонны связано со сварными соединениями, так как при наличии нескольких нарушений колонны расстояния между ними кратны длине свариваемых отрезков.
С целью повышения эффективности сооружения технологических скважин на предприятиях подземного выщелачивания металлов разработаны различные типы резьбовых соединений для толстостенных полиэтиленовых труб типа Т и СТ, изготавливаемых из полиэтилена высокой плотности. Наиболее широко применяются три типа резьбовых соединений полиэтиленовых труб: замковое, муфтовое и «труба в трубу».
Резьба для муфтового соединения и соединения «труба в трубу» нарезается непосредственно на полиэтиленовых трубах и муфтовых заготовках на труборезном станке. Для замкового соединения вначале в специальных пресс-формах изготовляются необходимых размеров заготовки элементов соединения, затем на них нарезается резьба, а перед спуском труб в скважину элементы замкового соединения (ниппель и муфта) привариваются к трубам при помощи термоконтактной сварки.
Определение возможных параметров резьб на полиэтиленовых трубах вытекает из исходных характеристик полиэтиленовых труб, к которым относятся геометрические параметры труб и их технические характеристики. При оценке параметров резьб учитываются: величина нагрузок, условия работы и монтажные характеристики.
Для повышения герметичности резьбовых соединений полиэтиленовых труб разработана специальная герметизирующая смесь, которая имеет хорошую адгезию к полиэтилену и обладает высокой химической стойкостью к растворам серной, соляной и азотной кислот, а также к щелочам. В готовом виде герметизирующая смесь представляет собой полупрозрачную вязкотекучую жидкость. Она сохраняет пластические свойства в течение всего периода эксплуатации полиэтиленовой колонны, что позволяет осуществить ее разборку после окончания эксплуатации скважины.
Применение резьбовых соединений при спуске полиэтиленовых обсадных и эксплуатационных колонн в процессе сооружения технологических скважин позволяет значительно сократить затраты времени, упростить технологию спуска колонн при достаточной прочности соединений. В то же время при использовании резьбовых соединений с увеличением длины трубы возрастают трудности при ее свинчивании вследствие недостаточной продольной устойчивости полиэтиленовых труб.
Металлопластовые трубы при спуске их в скважину соединяются между собой при помощи резьбового муфтового соединения. При этом муфты армированы металлической сеткой или спиралью. Соединительные муфты для металлопластовых труб разработаны по ТУ 95.660–69.
Стеклопластиковые трубы. В практике сооружения технологических скважин ПВ применяются два способа соединений стеклопластиковых труб при спуске их в скважину – с помощью накидных металлических муфт и с помощью резьбовых соединений.
Фанерные трубы. При оборудовании технологических скважин фанерными трубами последние соединяют между собой при помощи конусной муфты и клея. Клей наносится на конусные и торцовые поверхности труб. На конусные поверхности муфт клей не наносится.
Для спуска фанерных труб в скважину применяют стальные хомуты. Для предупреждения повреждения труб при зажиме хомутов предусматривается постановка на трубу резиновых прокладок.
При сооружении технологических скважин ПВ применяются два способа монтажа полиэтиленовых труб при спуске их в скважину:
а) путем поочередного наращивания отрезков труб длиной 6 – 12 м, соединяемых между собой с помощью резьбовых соединений или с использованием термических методов (обычно сварка встык);
б) полностью собранная на поверхности колонна труб опускается в скважину с помощью специальных приспособлений.
При использовании второго варианта спуск обсадных и эксплуатационных колонн в скважину можно осуществить только в случае применения труб из ПНП или труб из ПВП типа Л. При этом в подготовительном цехе или на специальной площадке возле буровой установки из отрезков труб, имеющих длину 6 – 12 м, сваривают в горизонтальном положении плеть длиной, соответствующей глубине скважины. Перед спуском труб в скважину производят опрессовку сваренной полиэтиленовой колонны путем нагнетания воды или воздуха под давлением, равным допустимому внутреннему давлению для соответствующего типа труб с целью определения ее герметичности.
В процессе спуска в скважину собранной и испытанной на поверхности полиэтиленовой колонны труб к ее нижнему концу подсоединяют утяжелитель, отстойник, фильтр, средства гидроизоляции и др. Для плавного изменения направления движения колонны из горизонтального положения в вертикальное на столе ротора устанавливают различные направляющие устройства, чаще всего в виде дуги, на которую укладываются полиэтиленовые трубы. С помощью лебедки бурового станка добиваются плавного перехода колонны в вертикальное положение.
При применении этого метода спуска полиэтиленовых труб значительно уменьшаются затраты времени на оборудование технологических скважин ПВ. При этом вследствие сокращения затрат времени на спуск колонны труб повышается надежность ее посадки на конечную глубину из-за меньшего осаждения шлама и релаксации стенок скважины.
Дополнительным преимуществом рассматриваемого способа обсадки является то, что трубы свариваются в колонну в стационарных условиях подготовительного цеха, где имеются возможности для поддержания оптимального режима сварки и надежного контроля качества шва. Кроме того, на прочность соединения оказывают меньшее влияние погодно-климатические факторы – уменьшается попадание в получаемый в процессе сварки шов влаги, пыли, песка и др.
Из недостатков обсадки скважин с использованием заранее подготовленных колонн следует отметить значительное снижение гибкости труб при понижении температуры. Установлено, что необходимая гибкость труб сохраняется при температуре окружающей среды не ниже 5 – 10 °С. При более низких температурах имеют место обрывы труб в месте перегиба на дуге.
В настоящее время в качестве направляющих приспособлений для спуска заранее подготовленной полиэтиленовой колонны труб чаще всего используются арки.
Такие арки имеют существенный недостаток, связанный с невозможностью их применения при широком изменении диаметров и жесткости полиэтиленовых труб. Кроме того, при монтажно-демонтажных работах и перевозке приспособления имеют место дополнительные затраты времени, связанные с установкой арки. С целью повышения эффективности спуска труб в скважину за счет расширения диапазона изменения диаметров спускаемых труб и сокращения затрат времени и труба на его монтаж, демонтаж и перевозку предложено устройство, показанное на рис. 8. Устройство имеет арку, состоящую из звеньев 2 с направляющими роликами 3 в местах их соединения, где предусмотрены также винтовые съемные домкраты 4 для регулирования радиуса кривизны арки. Концы съемных домкратов зафиксированы в опорном башмаке 5.
Перед началом спуска полиэтиленовой колонны 6 устройство монтируется на устье скважины, а после окончания работ по ее спуску домкраты убирают, а арку укладывают вдоль стойки мачты 7 и закрепляют с помощью крюка 8.
Основным достоинством предложенного устройства является то, что оно позволяет легко регулировать радиус кривизны арки с учетом жесткости полиэтиленовых труб.
Отличительной особенностью полиэтиленовых, полипропиленовых и фанерных труб является их незначительная плотность, по величине меньшая плотности большинства ПЖ.
Рис. 8. Устройство для спуска полиэтиленовых труб в скважину
Наиболее перспективным и экономически выгодным способом снижения плотности жидкости в скважине является химическое аэрирование ее, при котором ПЖ обрабатывается специальными реагентами – пенообразователями и поверхностно-активными веществами (ПАВ). Обработанные растворы обладают также повышенными структурными свойствами и характеризуются незначительной фильтрацией. Однако применение аэрированных растворов в качестве ПЖ приводит к удорожанию работ, а во многих случаях их применение является невозможным.
Другим направлением, обеспечивающим эффективный спуск полиэтиленовых обсадных и эксплуатационных колонн, является увеличение массы самих колонн с помощью различных утяжелителей, а также использование заталкивающих устройств. Для спуска полиэтиленовых труб в основном применяются утяжелители, а заталкивающие устройства ввиду сложности технологии спуска труб практического применения не нашли.
















