24844 (654502), страница 14
Текст из файла (страница 14)
Недостатком известного способа является промывка скважины через фильтровую колонну, что не обеспечивает надежной очистки фильтровой зоны и предэксплуатационной откачки скважины.
Наиболее близким является способ сооружения фильтровой скважины, включающий спуск в скважину эксплуатационной, фильтровой колонн, промывочной муфты и промывочной трубы, промывку скважины [2].
Недостатком известного способа является промывка фильтровой зоны через 15 эксплуатационную колонну, что не обеспечивает надежную очистку от бурового шлама и пластового песка и формирование естественного фильтра. Кроме того, известный способ не предназначен для подземного выщелачивания.
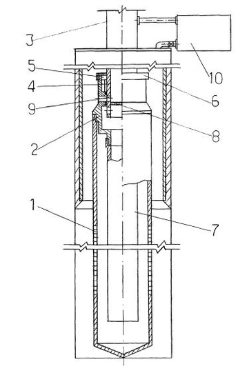
Фиг. 1
В задачу настоящего изобретения ставится повышение надежности очистки от бурового шлама и пластового песка и формирование естественного фильтра. Поставленная задача решается тем, что в способе для сооружения фильтровой скважины, включающем спуск в скважину скважинного фильтра на промывочной трубе с промывочной муфтой, намыв гравийной набивки и вынос вымытых частиц, промывочную муфту снабжают телескопическим клапаном с радиальными каналами и перекрытым центральным каналом в нижней части, вынос вымытых частиц и предэксплуатационную откачку производят через прискважинную камеру, соответственно, в верхнем положении клапана с сообщенными радиальными каналами клапана и промывочной муфты с кольцевой полостью скважины и нижнем положении клапана с сообщенными радиальными каналами клапана со скважинным фильтром.
Кроме того, откачиваемую жидкость сбрасывают в скважину и используют в качестве продавочной.
Сущность изобретения пояснена чертежом (Фиг. 1).
Инструмент по способу включает скважинный фильтр 1, промывочную муфту 2, промывочную трубу 3. Промывочная муфта 2 снабжена клапаном 4.
Клапан 4 телескопически установлен в промывочной муфте 2 и выполнен с приводным 35 узлом 5 в виде шлицевого или шпоночного соединения с промывочной муфтой 2 и снабжен опорной гайкой 6.
Промывочная муфта 2 снабжена дополнительной промывочной трубой 7, а промывочная труба 3 выполнена двойной в верхней части.
Клапан 4 выполнен с перекрытым центральным каналом в нижней части заглушкой 8 и 40 радиальными каналами 9, сообщенными с затрубной полостью скважины через
промывочную муфту 2 и со скважинным фильтром через дополнительную и промывочную трубу 7 соответственно в верхнем и нижнем положениях клапана 4. Промывочная труба 3 соединена с прискважинной камерой 10 гибким рукавом.
Промывочная муфта 2 соединена со скважинным фильтром 1 левым переводником. Прискважинная камера 10 выполнена с двумя отсеками для очистки откачиваемой жидкости.
Работа инструмента по способу заключается в следующем.
Скважинный фильтр 1 спускают в скважину, устанавливают на забое и переводят клапан 4 в нижнее положение, когда радиальные каналы 9 сообщены через дополнительную so промывочную трубу 7 с внутренней полостью скважинного фильтра 1.
Производят подачу промывочной жидкости и засыпку гравийной набивки в восходящем потоке промывочной жидкости.
При этом мелкие фракции гравийной набивки и буровой шлам вместе с пластовым песком вымываются из фильтровой зоны, и фильтровая набивка оседает в кольцевую полость, образуя естественный фильтр, а вымытые частицы выносятся из фильтровой зоны обратной промывкой через промывочную трубу 3 при переводе клапана 4 в верхнее положение и сообщения с кольцевой полостью радиальных каналов 9, клапана 4 через 5 промывочную муфту 2, в прискважинную камеру 10, а из нее в скважину.
Процесс засыпки гравийной набивки производят порциями с последовательным выносом вымытых частиц обратной промывкой, включением эрлифтной откачки. Предэксплуатационную откачку производят через прискважинную камеру 10 со сбросом в скважину, откачиваемую жидкость используют в качестве продавочной жидкости. После окончания технологических процессов инструмент раскрепляется от скважинного фильтра и выносится из скважины.
Технический результат.
Надежная и полная очистка скважины от бурового шлама и пластового песка.
Обеспечение формирования естественного фильтра.
Пример осуществления способа.
На участке №1 ПВ подлежит сооружению откачивающая скважина глубиной 400 м. Последовательность работ.
1. Бурение скважины диаметром 245 мм до 350 м.
2. Спуск и цементация обсадной колонны 168 мм.
3. Бурение с расширением прифильтровой зоны 350-400 м до 350 мм.
4. Спуск фильтра 0118 мм на инструменте для сооружения фильтровой скважины, НКМ 073 мм.
5. Промывка скважины с одновременной засыпкой гравия с крупностью фракций от 0,5 до 10 мм и подсыпка по мере выноса мелких фракций и песка и образования естественного фильтра.
6. Предэксплуатационная откачка скважины через прискважинную камеру со сбросом в скважину.
Источники информации:
1. А.с. СССР №804819, Е21В 43/04, 43/28, 15.02.81.
2. Патент РФ №2179628, МПК 7, Е21В 43/04, 20.02.2002.
Формула изобретения:
1. Способ сооружения фильтровой скважины, включающий спуск в скважину скважинного
фильтра на промывочной трубе с промывочной муфтой, намыв гравийной набивки, вынос вымытых частиц и предэксплуатационную откачку скважины, отличающийся тем, что промывочную муфту снабжают телескопическим клапаном с радиальными каналами и перекрытым центральным каналом в нижней части, вынос вымытых частиц и предэксплуатационную откачку производят через прискважинную камеру соответственно в верхнем положении клапана с сообщенными радиальными каналами клапана и промывочной муфты с кольцевой полостью скважины и нижнем положении клапана с сообщенными радиальными каналами клапана со скважинным фильтром.
2. Способ по п.1, отличающийся тем, что откачиваемую жидкость сбрасывают в скважину и используют в качестве продавочной жидкости.
Скважинный фильтр (2 254 421 С1)
Реферат:
Изобретение относится к горному делу, а именно к фильтрам для нагнетательных скважин подземного выщелачивания, заводнения пластов и захоронения отходов в глубокие горизонты. Скважинный фильтр включает перфорированный каркас, опорные стержни и витки профилированной проволоки или наборные кольца из пластмассы или пропилена, образующие горизонтальные щели, выполненные расширяющимися в наружную сторону фильтра. Указанные витки профилированной проволоки или наборные кольца из пластмассы или пропилена выполнены с прямоугольными гранями в сечении, верхние из которых скошены с наружной стороны под углом к горизонту, соответствующим углу естественного откоса пластовой породы или гравийной набивки в среде фильтрующего агента. Техническим результатом является оптимизация работы системы - пластовая порода или гравийная набивка и скважинный фильтр в среде фильтрующего агента.
Фиг. 1
Изобретение относится к горному делу, а именно к фильтрам для нагнетательных скважин подземного выщелачивания, заводнения пластов и захоронения отходов в глубокие горизонты.
Известен скважинный фильтр, выполненный в виде уложенных на каркасе кольцевых 5 или спиральных проволокообразных элементов с чередующимися радиальными пазами и выступами с образованием расширяющихся каналов в направлении движения флюида через фильтр [1].
В известном фильтре круглое сечение обмотки обеспечивает расширение каналов в направлении нагнетания фильтрующего агента. В то же время, при контакте обмотки круглого сечения с пластовой породой или гравийной набивки в процессе эксплуатации скважины происходит расклинивание частиц пластовой породы или гравийной набивки в отверстиях фильтра и повышение гидравлического сопротивления.
Кроме того, известный фильтр каркасной конструкции и предназначен для не глубоких скважин.
Известен также скважинный фильтр, включающий перфорированный каркас, опорные стержни и витки профилированной проволоки [2].
Недостатком известного фильтра являются возможные нарушения арочных структур в процессе эксплуатации в связи с изменением режима эксплуатации, а также непригодность для использования в нагнетательных скважинах. Наиболее близким аналогом является скважинный фильтр, содержащий перфорированный каркас, опорные стержни и витки профилированной проволоки [3].
Недостатком известного фильтра является нарушение арочных структур вокруг фильтра при изменениях режима эксплуатации скважины, а также непригодность для использования в нагнетательных скважинах.
В задачу настоящего изобретения ставится оптимизация работы системы: пластовая порода или гравийная набивка и скважинный фильтр в среде фильтрующего агента, за счет образования устойчивых арочных структур вокруг скважинного фильтра в процессе эксплуатации с изменением режима эксплуатации.
Поставленная задача решается тем, что в скважинном фильтре, включающем перфорированный каркас, опорные стержни и витки профилированной проволоки или наборные кольца из пластмассы или пропилена, образующие горизонтальные щели, горизонтальные щели выполнены расширяющимися в наружную сторону фильтра, а витки профилированной проволоки или наборные кольца из пластмассы или пропилена выполнены с прямоугольными гранями в сечении, верхние из которых скошены с наружной стороны под углом к горизонту, соответствующим углу естественного откоса пластовой породы или гравийной набивки в среде фильтрующего агента.
Сущность изобретения пояснена чертежом.
Скважинный фильтр включает перфорированный каркас 1, опорные стержни 2, витки профилированной проволоки 3 (или наборные кольца из пластмассы или пропилена, на чертеже не показано).
Витки профилированной проволоки 3 (или наборные кольца) выполнены с прямоугольными гранями в сечении и скошенными верхними гранями с наружной стороны витков под углом 4 к горизонту, соответствующим углу естественного откоса пластовой породы или гравийной набивки в среде фильтрующего агента.
Горизонтальные щели между витками профилированной проволоки выполнены расширяющимися в наружную сторону фильтра.
Работа скважинного фильтра заключается в оптимизации взаимодействия системы: пластовая порода или гравийная набивка и скважинный фильтр в среде фильтрующего агента с образованием и ненарушением устойчивости арочных структур вокруг фильтра в 50 процессе эксплуатации, в том числе с изменением режима эксплуатации за счет равенства реакций опор: статической нагрузки от веса от пластовой породы или гравийной набивки и гидродинамической от давления фильтрующего агента.
Источники информации:
1. Авторское свидетельство СССР №1213179, Е 21 В, 43/08, 23.02.86.
2. Авторское свидетельство СССР №1712591, Е 21 В, 43/08, 15.02.92.
3. Патент РФ №2074313, Е 21 В 43/08, 27.02.97.
Формула изобретения:
Скважинный фильтр, включающий перфорированный каркас, опорные стержни и витки профилированной проволоки или наборные кольца из пластмассы или пропилена, образующие горизонтальные щели, отличающийся тем, что горизонтальные щели выполнены расширяющимися в наружную сторону фильтра, а витки профилированной проволоки или наборные кольца из пластмассы или пропилена выполнены с прямоугольными гранями в сечении, верхние из которых скошены с наружной стороны под углом к горизонту, соответствующим углу естественного откоса пластовой породы или гравийной набивки в среде фильтрующего агента.
















