24844 (654502), страница 13
Текст из файла (страница 13)
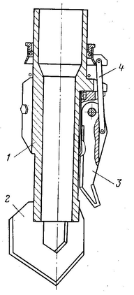
Рис. 28. Расширитель гидромеханический эксцентриковый:
1 – бурильная труба; 2 – муфта замка для бурильных труб; 3 – лопасть; 4 – насадка; 5 – втулка; 6 – верхняя крышка; 7 – нижняя крышка; 8 – корпус расширителя
Расширитель присоединяется к БТ с помощью замка, расположенного в верхней части расширителя, и опускается в скважину.
Важной проблемой при расширении скважин с помощью механических и гидромеханических расширителей является очистка расширителя и расширенной призабойной зоны от разрушенной породы и шлама, так как в расширенной части скважины возникают неблагоприятные условия для выноса шлама из-за уменьшения скорости восходящего потока ПЖ.
В этих условиях существенную роль играет турбулизация потока ПЖ. В целях усиления турбулизации потока ПЖ при применении эксцентриковых расширителей следует предусмотреть дополнительные лопасти или другие средства турбулизации, которые устанавливаются непосредственно над расширителем.
Другим направлением повышения качества очистки расширяемой части скважины и режущих элементов долота от разрушенной породы и шлама может быть применение обратно всасывающей промывки. В этом случае могут использоваться расширители, показанные на рис. 29. Режущие лопасти расширителей выводятся в рабочее положение в начальный период их работы за счет центробежных сил, возникающих при вращении долот, а также воздействия обратного потока жидкости при бурении с обратно всасывающей промывкой. В дальнейшем усилие резания и крутящий момент регулируются за счет передаваемой на долото осевой нагрузки. При этом вращение бурового инструмента осуществляется с небольшой частотой.
Рис.29. Расширитель инерционный:
1 – корпус; 2 – породоразрушающий наконечник; 3 – лопасть-расширитель; 4 – тяга
При полном расширении ствола скважины произойдет уменьшение крутящего момента, что можно заметить по характеру работы ротора или двигателя буровой установки. Закончив расширение, осуществляют интенсивную промывку ствола скважины, а затем инструмент вместе с расширителем поднимают на поверхность.
Гидродинамический способ расширения призабойной зоны скважины производят с помощью устройств, имеющих гидромониторные насадки. Такие устройства легко изготовить в местах производства работ. Однако в этом случае имеются затруднения по удалению разрушенной породы с призабойной зоны скважины и подъему ее из расширенной части на поверхность. При отсутствии специальных подъемных устройств возможны осаждения шлама на забое и снижение эффективности расширения.
Расширитель гидравлический, показанный на рис. 30, позволяет периодически очищать забой скважины от разрушенной породы. Он опускается на забой на бурильных или насосно-компрессорных трубах, в нижней части которых выполнены отверстия для смесителя эрлифта. Сверху отверстия в смесителе эрлифта плотно закрываются патрубком, который приваривается к наружной поверхности трубы. В патрубке имеются отверстия для подачи воздуха по трубам меньшего диаметра или по шлангам. Насадки монтируются в нижней части бурового инструмента в специальном подвижном клапане.
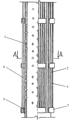
Рис. 53. Расширитель гидравлический:
1 – корпус; 2 – смеситель эрлифта; 3 – патрубок; 4 – обратный клапан; 5 – металлокерамическая насадка;
6 – клапан
Наличие режущих элементов (лопастей) в нижней части расширителя позволяет обеспечить спуск расширителя на заданную глубину и осуществить при необходимости углубление скважины одновременно с формированием камеры.
Об окончании расширения призабойной зоны скважины в интервале рудного пласта при применении механических и гидромеханических расширителей можно судить по изменению крутящего момента.
Разрушение пород стенок скважины в процессе образования камеры производится при подаче на забой скважины промывочной жидкости. Выходя с большой скоростью из насадки, струя жидкости разрушает стенки скважины и формирует камеру, при этом буровой инструмент поворачивается.
Для удаления с забоя скважины разрушенной породы по трубам (шлангам) начинают подавать воздух, в результате чего открывается клапан 6 и внутрь бурильных труб поступает пульпа.
Поднятая пульпа отводится на поверхность в специальные отстойники или в зумпф. Затем может повториться операция по разрушению пород стенок скважины. Для подачи воздуха к смесителю эрлифта могут применяться полиэтиленовые шланги диаметром 25 – 32 мм. Для предотвращения разрушения шлангов давлением жидкости, подаваемой к насадке, должна быть предусмотрена постановка обратного клапана в отводном патрубке 3.
Расширение призабойной зоны технологических скважин способствует уменьшению диаметра основного ствола скважины, что дает возможность повысить скорости бурения, уменьшить материально-технические затраты и снизить стоимость сооружения скважин. Кроме того, при сооружении скважин для подземного выщелачивания легко создается уширенный контур гравийной обсыпки, что способствует повышению производительности скважин и увеличению их срока службы.
Список литературы
-
Сергиенко И.А., Мосеев А.Ф., Бочко Э.А., Пименов М.К. Бурение и оборудование геотехнологических скважин М., Недра, 1984
-
Бобко П.С., Романов В.С., Исаев Г.Г. Строительство скважин подземного выщелачивания солей. М., ВНИИГ, НИИТЭХИМ, 1976
-
Бахуров В. Г., Руднева И. К., Химическая добыча полезных ископаемых, М., 1972
-
Аренс В. Ж. [и др.], Геотехнологические способы добычи полезных ископаемых, в кн.: Технология разработки месторождений твёрдых полезных ископаемых, т. 11, М., 1973.
Патенты
Скважинный фильтр (RU 2 284 408 С1)
Реферат:
Изобретение относится к области горного дела и может быть использовано для оборудования водозаборных, нефтяных, газовых скважин и скважин подземного выщелачивания в интервале продуктивного пласта, сложенного слабосцементированными породами. Обеспечивает образование устойчивых арочных структур вокруг скважинного фильтра, исключающих вынос породных частиц, песка за счет оптимизации работы системы: пластовая порода или гравийная набивка и скважинный фильтр в среде фильтруемого агента и упрощение технологии сборки фильтра. Сущность изобретения: скважинный фильтр включает фильтрующую оболочку, базовый элемент в виде трубы, продольные элементы в виде стержней и опорные кольца. При этом опорные кольца выполнены с наружными пазами под продольные элементы и внутренними пазами. Внутренние пазы образуют с базовым элементом продольные каналы. Продольные элементы выполнены из стержней в виде прямоугольных треугольников. Катеты последних образуют наружный диаметр фильтрующей оболочки. Острые углы стержней в виде прямоугольных треугольников установлены в продольных каналах с образованием односторонних расширений и обеспечением направленных потоков фильтруемого агента.
Изобретение относится к области горного дела и может быть использовано для оборудования водозаборных, нефтяных, газовых скважин и скважин подземного выщелачивания в интервале продуктивного пласта, сложенного слабосцементированными породами.
Известен скважинный фильтр, включающий фильтрующую оболочку с продольными каналами и элементами в виде шарнирных выпукло-вогнутых пластинок [1].
Известный фильтр имеет шарнирную конструкцию для регенирации фильтра.
Недостатком известного фильтра является конструктивная ненадежность, особенно в глубоких и осложненных скважинах.
Фиг. 1
Наиболее близким является скважинный фильтр, включающий фильтрующую оболочку с продольными элементами и каналами, базовый и опорные элементы [2].
В известном фильтре в качестве продольных элементов использованы стержни различного сечения, общим для них является то, что они образуют на базовом элементе расширяющие в обе стороны продольные каналы и фильтруемый агент проходит через них 15 по хаотическим направлениям, что не обеспечивает образования прочных структур вокруг фильтрующей оболочки и не исключает выноса песка в процессе эксплуатации.
Кроме того, осложнены сборка и крепление элементов фильтра и контроль качества изготовления, в частности не обеспечивается определенность зазоров продольных каналов.
Задача изобретения состоит в образовании устойчивых прочных структур вокруг скважинного фильтра, исключающих вынос песка за счет оптимизации работы системы: пластовая порода или гравийная набивка и скважинный фильтр в среде фильтруемого агента и упрощение технологии сборки фильтра.
Поставленная задача решается тем, что в скважинном фильтре, включающем 25 фильтрующую оболочку с базовым элементом в виде трубы, продольными элементами в виде стержней и опорными кольцами, последние выполнены с наружными пазами под продольные элементы и внутренними пазами, образующими с базовым элементом продольные каналы, при этом продольные элементы выполнены из стержней в виде прямоугольных треугольников, катеты которых образуют наружный диаметр фильтрующей зо оболочки, а острые углы установлены в продольных каналах с образованием односторонних расширений и обеспечением направленных потоков фильтруемого агента.
Кроме того, опорные кольца снабжены центраторами, выполненными в виде полуколец.
Сущность изобретения поясняется чертежом. На фиг.1 дан общий вид фильтра, на фиг.2 – разрез по А-А.
Скважинный фильтр включает базовый элемент 1 в виде трубы, фильтрующую оболочку 2 с продольными элементами 3, выполненными из стержней в виде прямоугольных треугольников, и каналами 4. Базовые элементы выполнены в виде опорных колец 5 с наружными пазами под продольные элементы 3 и внутренними пазами, образующими с базовым элементом 1 продольные перепускные каналы 6. Продольные элементы 3, выполненные из стержней в виде прямоугольных
треугольников, установлены острым углом в продольные пазы опорных колец 5 и образуют между собой продольные каналы с односторонним расширением, а катеты образуют наружный диаметр фильтрующей оболочки.
Опорные кольца 5 снабжены центраторами, выполненными в виде полуколец 7. Составные части фильтра сварены или склеены в местах контактов.
Работа фильтра заключается в обеспечении направленных движений потоков фильтруемого агента и за счет центробежных сил вытеснения породных частиц или гравийной набивки от продольных каналов.
Конструкция фильтра позволяет использование его в различных условиях, в том числе с осложнениями, выраженными искривлениями ствола скважины и сложностью доставки гравийной набивки.
Источники информации:
1. Авторское свидетельство СССР №1097779, Е 21 В 43/08. 15.06.82.
2. Патент РФ №2147676, E 21 В 43/08, 20.04.2000.
Формула изобретения:
1. Скважинный фильтр, включающий фильтрующую оболочку с базовым элементом в виде трубы, продольными элементами в виде стержней и опорными кольцами, отличающийся тем, что опорные кольца выполнены с наружными пазами под продольные элементы и внутренними пазами, образующими с базовым элементом продольные каналы, при этом продольные элементы выполнены из стержней в виде прямоугольных треугольников, катеты которых образуют наружный диаметр фильтрующей оболочки, а ю острые углы установлены в продольных каналах с образованием односторонних расширений и обеспечением направленных потоков фильтруемого агента.
2. Фильтр по п.1, отличающийся тем, что опорные кольца снабжены центраторами, выполненными в виде полуколец.
Способ сооружения фильтровой сквадины (2 309 244 С1)
Реферат:
Изобретение относится к горному делу, в частности к способам сооружения скважин для подземного выщелачивания, на воду и другую текучую среду, и может быть использовано при заканчивании для борьбы с выносом песка. Технический результат – повышение надежности очистки от бурового шлама и пластового песка и формирование естественного фильтра. В способе сооружения фильтровой скважины, включающем спуск в скважину скважинного фильтра на промывочной трубе с промывочной муфтой, намыв гравийной набивки, вынос вымытых частиц и предэксплуатационную откачку скважины, промывочную муфту снабжают телескопическим клапаном с радиальными каналами и перекрытым центральным каналом в нижней части. Вынос вымытых частиц и предэксплуатационную откачку производят через прискважинную камеру, соответственно, в верхнем положении клапана с сообщенными радиальными каналами и промывочной муфты с кольцевой полостью скважины и нижнем положении клапана с сообщенными радиальными каналами клапана со скважинным фильтром. Изобретение развито в зависимом пункте.
Настоящее изобретение относится к горному делу, в частности, к способу сооружения скважин для подземного выщелачивания, на воду и другой текучей среды, и может быть использовано при заканчивании скважин в процессе бурения или проведения ремонта скважин для борьбы с выносом песка.
5 Известен способ сооружения фильтровой скважины, включающий спуск в скважину эксплуатационной, фильтровой колонн с двойной промывочной трубой, намыв гравия, внутрискважинную промывку [1].
















