24844 (654502), страница 11
Текст из файла (страница 11)
1 – обсадная колонна; 2 – фильтр; 3 – манжета из кислотостойкой резины (пакер); 4 – башмак с упором;
5 – подвижная втулка; 6 – соединение; 7 – водоподъемная колонна; в – воздухоподающая колонна;
9 – смеситель; 10 – воронка для засыпки гравия
Устройство работает следующим образом. В пробуренную до продуктивного горизонта скважину опускают обсадную колонну, а ее затрубное пространство цементируют. Затем вскрывают продуктивный горизонт и расширяют его до проектного диаметра. На поверхности собирают фильтр с отстойником и втулкой 5 с закрепленной на ней манжетой. Затем к втулке подсоединяют водоподъемную колонну труб 7 и опускают в скважину на воздухоподающих трубах 8. Длину раствороподающих труб выбирают таким образом, чтобы их верхний конец был ,на 1 – 3 м выше пьезометрического уровня водоносного горизонта После установки фильтра втулку с манжетой перемещают в крайнее верхнее положение так, чтобы пакер вышел из зоны суженной части башмака эксплуатационной колонны, а затем в скважину подают воздух, под действием которого происходит циркуляция жидкости, находящейся в скважине. Одновременно с началом циркуляции жидкости через воронку 10 в скважину подают песчано-гравийную смесь, которая поступает в прифильтровую зону скважины в нисходящем потоке жидкости, и происходит принудительная укладка гравия вокруг фильтрового каркаса. При этом формирование гравийного фильтра будет при меньших затратах мощности и давления на компрессоре.
После засыпки гравия втулку с манжетой перемещают в крайнее нижнее положение до места установки пакера в суженной части башмака эксплуатационной колонны. Манжета заходит в зону башмака обсадной колонны и качественно изолирует пространство между обсадной колонной и фильтром. Происходит разрушение временных креплений, а затем подъем из скважины раствороподъемных и воздухоподающих труб.
Поверх слоя гравия на высоту 15 – 20 м заливается гидроизоляционный материал, после чего скважина готова к эксплуатации.
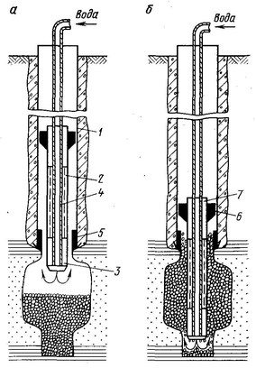
Сооружение гравийных обсыпок с предварительной подачей гравия на забой скважины. Другим способом создания фильтров с гравийной обсыпкой и установкой манжет для гидроизоляции является способ, при котором в прифильтровую зону вначале подают гравий, а затем осуществляют установку фильтра с пакером для гидроизоляции. Сооружение технологических скважин согласно этому способу осуществляется следующим образом (рис. 20). Вначале производится бурение скважины до продуктивного горизонта. В случае неустойчивых пород пробуренный интервал скважины закрепляется ОТ. Вскрытие продуктивного горизонта осуществляется долотами меньшего диаметра с последующим расширением (при необходимости) ствола скважины в зоне продуктивного пласта. В скважину на бурильных или насосно-компрессорных трубах, соединенных с противоаварийным переходником, установленным в нижней части, опускается фильтр с отстойником. На надфильтро-вом патрубке в месте перехода на уменьшенный диаметр скважины закрепляется резиновая манжета. Спуск фильтра прекращается не доходя забоя скважины.
Затем по бурильным или насосно-компрессорным трубам на забой скважины подается расчетное количество гравия (рис. 20, а).
Рис. 20. Способ создания гравийных обсыпок с предварительной подачей гравия на забой скважины:
а – подача гравия на забой скважины; б – посадка фильтра гидровмывом в гравий:
1 – обсадная колонна; 2 – фильтр; 3 – отстойник; 4 – бурильные трубы; 5 – пакер; 6 – манжета;
7 – надфильтровый патрубок
Фильтр устанавливается на гравий, а по бурильным или насосно-компрессорным трубам начинают подавать воду (рис. 20, б). При подаче воды происходит гидравлический размыв гравия, что позволяет осуществить посадку фильтра на забой скважины. Расход воды должен быть таковым, чтобы предотвратить вынос частиц гравия из скважины. После прекращения подачи жидкости произойдет осаждение гравия вокруг фильтра с образованием контура. При этом манжета устанавливается на уступ в месте перехода на уменьшенный диаметр бурения, осуществляя тем самым гидроизоляцию зон движения растворов.
После посадки фильтра на забой скважины БТ отсоединяются и поднимаются на поверхность, а поверх манжеты заливается гидроизоляционный материал, оборудуется устье скважины и производятся другие работы, связанные с завершением сооружения скважины.
При наличии обсадной колонны, опущенной в скважину до продуктивного пласта, необходимо предусмотреть предварительную установку пакера внутри обсадной колонны, на расстоянии 1 – 2 м выше башмака, а манжету устанавливают на пакер. При этом во избежание повышенного расхода обсадных труб фильтр можно устанавливать впотай.
Описанный способ сооружения гравийных фильтров имеет ряд преимуществ: 1) при посадке фильтра на забой скважины происходит очистка гравийного слоя от глинистых частиц и механических взвесей, которые потоком жидкости выносятся из скважины; 2) позволяет применять пакерные устройства для гидроизоляции зон движения рабочих и продуктивных растворов; 3) сокращается время оборудования скважин фильтрами с гравийной обсыпкой; 4) повышается качество сооружения скважин.
Сооружение гравийных обсыпок в прифильтровой зоне скважин с одновременной установкой фильтров. При этом способе звенья фильтров оборудуются на поверхности кожухами, заполненными песчано-гравийной смесью. Кожухом могут служить легкорастворимые или разрушающиеся под действием растворов серной или соляной кислоты материалы, например хлопчатобумажные или синтетические ткани, сетки из латуни или сталей, не стойкие при действии различных кислот. Звенья фильтра с кожухами, заполненными гравием, собираются в колонну и опускаются в скважину. После спуска фильтра в него опускают промывочный став и производят интенсивную промывку водой прифильтровой зоны, до полного удаления глинистой корки со стенок скважины. Эффект разглинизации при этом увеличивается за счет большей скорости движения воды в зазоре между стенкой скважины и кожухами. Затем в скважину подают растворитель, который разрушает кожух фильтра. При этом песчано-гравийная обсыпка равномерно распределяется в прифильтровой зоне скважины и плотно заполняет кольцевое пространство за фильтром с образованием контура. Последним этапом работ при сооружении технологических скважин по этой схеме является гидроизоляция зон движения растворов путем заливки гидроизоляционных материалов выше слоя гравийной обсыпки.
Применение описанного способа создания гравийно-обсыпных фильтров способствует улучшению качества их сооружения, сокращению затрат времени на оборудование прифильтровой зоны скважин и ее освоение, но требует увеличения диаметра скважины.
Способ сооружения обсыпных фильтров из гранул низкой плотности. При кислотном выщелачивании металлов к материалу песчано-гравийных обсыпок предъявляются специфические требования, связанные с их кислотостойкостью. Наличие в материале обсыпок карбонатных частиц приводит к их растворению с выделением твердого нерастворимого осадка и газа, что может привести в некоторых случаях к выбросам из скважины кислоты в первоначальный момент закачки. Кроме того, многие другие материалы обсыпок растворяются при длительном воздействии кислоты, что приводит к проседаниям песчно-гравийных обсыпок в прифильтровой зоне, уменьшению их контура, а в некоторых случаях и к обнажению участков фильтров.
Ведутся работы по применению в качестве обсыпок нерастворимых в кислотах материалов, таких, как полиэтиленовые гранулы, гранулированный материал группы пиролюзит-псиломелана, плотность которых меньше плотности воды.
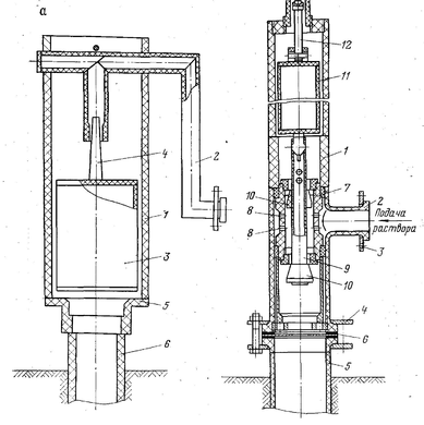
Сооружение технологических скважин при применении этих материалов осуществляется следующим образом. При применении одноколонных конструкций скважин на эксплуатационной колонне закрепляется манжета, которая устанавливается на уступе в месте перехода на уменьшенный диаметр скважины, а в случае обсадки ствола скважин до продуктивного горизонта трубами в последних в нижней части (следует предусмотреть установку пакера выше башмака колонны при наличии суженной части (рис. 21). В некоторых случаях для создания уширенного контура обсыпки предусматривается расширение прифильтровой зоны скважины.
В скважину опускается фильтр, а прифильтро-вая зона скважины разобщается с помощью пакера. По насосно-компрессорным или бурильным трубам, соединенным с отстойником фильтра, закачивают фильтрующую обсыпку, которая содержит гранулы полиэтилена или других веществ и воду. Попадая в зафильтровое пространство, гранулы всплывают и удерживаются в зоне фильтра с помощью пакера, а вода через фильтр и обсадную колонну поступает на поверхность. При этом благодаря значительным скоростям движения воды при входе в фильтр происходит плотная укладка гранул вокруг фильтра. После полного заполнения зафильтрового пространства гранулами насосно-компрессорные трубы извлекают, поверх пакера заливается гидроизоляционный материал и производится освоение скважины.
Рис. 34. Сооружение обсыпных фильтров из гранул низкой плотности:
1 – ОТ; 2 – материал гидроизоляции; 3 – разобщающий пакер; 4 – материал обсыпки; 5 – фильтр;
6 – трубы для подачи материала обсыпки
При оборудовании обсыпных фильтров технологических скважин ПВ в качестве материала обсыпки могут применяться кварцевый и кремниевый песок, гранулированный пиролюзит, гранулы полиэтилена и стекла.
В качестве жидкости-носителя материала фильтровой обсыпки применяется техническая вода, а также вода, загущенная синтетическими или натуральными смолами, химическими реагентами типа К-9, К-4 и др. Вязкость жидкостей-носителей должна составлять 50 – 2000 Па·с.
В скважинах с аномально высокими пластовыми давлениями можно использовать рабочую жидкость с высокой плотностью, несущую на забой гравий и предотвращающую открытый выброс при намыве гравийных фильтров. В качестве утяжелителей рекомендуется применять окиси железа. В жидкость-носитель могут добавляться загустители и добавки, снижающие его фильтруемость.
В большинстве случаев нашли применение способы создания цементирующихся гравийных обсыпок, что связано в первую очередь с облегчением замены вышедшего из строя фильтра и сохранением относительно высокой проницаемости.
Укладку гравия вокруг фильтра следует производить с противодавлением на пласт, что снижает кольматацию гравийного слоя песками продуктивного горизонта.
8.4 Оборудование устья технологических скважин
Устья технологических скважин, предназначенных для добычи твердых ПИ, в процессе подготовки и эксплуатации должны быть оснащены специальным оборудованием.
Оборудование устья включает обустройство и герметизацию затрубного и межтрубного пространства обсадных и эксплуатационных колонн и установку специальных оголовков, позволяющих осуществить обвязку эксплуатационных и рабочих колонн.
Основное назначение устьевой арматуры: а) регулирование направления подачи в скважину рабочих агентов (вода, выщелачивающий кислотный раствор, водяной пар, нерастворитель, воздух и др.); б) регулирование отвода от устья скважины и распределение продуктивных растворов; в) предохранение ствола скважины от загрязнения и попадания посторонних предметов, г) обеспечение надежной герметизации устья с целью предотвращения загрязнения окружающей среды и ствола скважины рабочими агентами и продуктивными растворами и обеспечение их раздельного движения; д) осуществление контроля за работой скважины.
К оборудованию устья технологических скважин предъявляются следующие основные требования:
-
основные узлы устьевого оборудования должны быть выполнены из материала, стойкого к длительному контакту с рабочими агентами и продуктивными растворами;
-
основные узлы должны выдерживать максимальное давление
подачи рабочих агентов с учетом двукратного запаса прочности; -
устьевое оборудование должно быть оснащено необходимыми
устройствами и приборами для измерения соответствующих параметров работы скважины, а также вентилями и задвижками. При. использовании эрлифтов для подъема продуктивных растворов оголовки должны дополнительно содержать сепараторы для отделения песка и воздуха от растворов; -
в конструктивном отношении устьевое оборудование должно быть простым, иметь небольшие габариты, легко и быстро монтироваться и демонтироваться.
Большие требования высокой надежности работы предъявляются к устьевому оборудованию технологических скважин ПВ.
Для предохранения попадания рабочих и продуктивных растворов в почвенный слой предусматривается заливка затрубного пространства на устье скважины гидроизоляционными материалами, засыпка специальных материалов, поглощающих и нейтрализующих технологические растворы, а также бетонирование площадок для установки устьевого оборудования и откачных средств.
В качестве гидроизоляционных материалов могут использоваться кислотостойкие цементы и глина с последующей засыпкой доломитовой или мраморной крошки, а иногда и извести. В случае утечек продуктивные или выщелачивающие растворы будут реагировать с материалом засыпки и нейтрализуются с образованием гипса или другой твердой фазы. ПИ, содержащееся в растворе, в дальнейшем также может быть удалено вместе с материалом обсыпки.
В процессе сооружения технологических скважин ПВ применяются оголовки, предназначенные для оборудования устья нагнетательных и откачных скважин. В свою очередь, нагнетательные скважины могут работать в режиме свободного налива и подачи выщелачивающего раствора под давлением до 1,0 – 1,5 МПа.
Конструкция оголовка для нагнетательных скважин, работающих в режиме свободного налива, приведена на рис. 22. Оголовки устанавливаются на эксплуатационной колонне при помощи фланцевого или резьбового соединений. Оголовок, показанный на рис. 22, а, состоит из полого корпуса, в котором размещен поплавок с запорным клапаном, расположенным в патрубке и соединенным с раствароподводящим трубопроводом.
















