4203 (642964)
Текст из файла
МИНИСТЕРСТВО ОБЩЕГО И ПРОФЕССИОНАЛЬНОГО ОБРАЗОВАНИЯ
ХАБАРОВСКИЙ ГОСУДАРСТВЕННЫЙ ПЕДАГОГИЧЕСКИЙ УНИВЕРСИТЕТ
Курсовая работа по огневой подготовке
Вооружение танков и БМП
Выполнил: студент 32 взвода
Лещук О. В.
Руководитель:
подполковник Заможный С.В.
ХАБАРОВСК 2001
План:
Введение.
-
ОСНОВЫ УСТРОЙСТВА ТАНКОВЫХ ПУШЕК И ОРУДИЙ БМП
-
УСТРОЙСТВО И ДЕЙСТВИЕ БОЕПРИПАСОВ, ПРИМЕНЯЕМЫХ К ТАНКОВЫМ ПУШКАМ И ОРУДИЯМ БМП
-
ОБРАЩЕНИЕ С БОЕПРИПАСАМИ
Заключение
Литература.
ВВЕДЕНИЕ
Вооружение танков предназначено для уничтожения на поле боя самых разнообразных целей, в том числе танков и противотанковых средств противника. Поскольку все время возрастает защищенность танков и противотанковых средств, а также их боевые возможности, непрерывно возрастает и огневая мощь вооружения танков для обеспечения поражения таких целей.
Под огневой мощью танка (БМП) понимается способность его вооружения в единицу времени наносить определенное поражение противнику. Огневая мощь определяется качеством и количеством вооружения. Опыт показывает, что решение всех огневых задач каким-либо одним оружием невозможно или нецелесообразно. Поэтому танки оснащаются пушками, являющимися основным оружием и выполняющими задачи борьбы с важными и опасными целями, и пулеметами, выполняющими задачи борьбы с второстепенными целями. Кроме того, танки могут оснащаться и другими средствами борьбы, например для самообороны.
Огневая мощь танка зависит от таких важных боевых показателей, как могущество действия боеприпасов по целям, вероятность попадания в цель, скорострельность, маневренность огня, величина боекомплекта.
Вооружение танка—взаимосвязанная совокупность (комплекс) оружия и боеприпасов к нему, механизмов и приборов, установленных на танке и предназначенных для поражения экипажем танка целей на поле боя, главным образом огнем прямой наводкой. В качестве основного оружия на танках может устанавливаться кроме пушечного ракетное или ракетно-пушечное (комбинированное) оружие.
Вооружение БМП—комплекс оружия и боеприпасов к нему, механизмов и приборов, установленных на БМП и предназначенных для поражения экипажем БМП и десантом целей на поле боя огнем прямой наводкой.
Танковая пушка и орудие БМП предназначены:
— для борьбы с бронированными целями противника;
— для подавления и уничтожения противотанковой артиллерии, вооружения и техники противника;
— для уничтожения и подавления живой силы противника и его огневых средств;
— для разрушения сооружений
1. ОСНОВЫ УСТРОЙСТВА ТАНКОВЫХ ПУШЕК И ОРУДИЙ БМП
Основные части орудия: ствол, затвор, спусковой механизм, противооткатного устройства, люлька с цапфами, ограждение, подъемный механизм.
Ствол
Ствол предназначен для направления полета снаряда, сообщения снаряду под действием пороховых газов начальной скорости, а в нарезных орудиях, кроме того, придания снаряду вращательного движения, обеспечивающего устойчивость его в полете.
С
твол (рис. 1) состоит из трубы 4, кожуха 3, казенника 8, муфты 7, механизма продувки 6 и дульного тормоза 5.
Труба и кожух соединяются с казенником муфтой, ввинченной в казенник. В некоторых пушках муфта отсутствует, и резьба делается на трубе или на кожухе. От проворота в казеннике труба удерживается шпонкой, а муфта от самоотвинчивания закрепляется стопором.
На задней плоскости казенника имеется кронштейн для крепления пушки по-походному.
Казенник 8 снабжен вырезами для удобства заряжания пушки и для крепления деталей противооткатных устройств, а также для размещения и крепления деталей затвора. На казеннике устанавливается направляющий стержень, который взаимодействует с направляющими люльки и предотвращает проворот ствола при выстреле. Казенная часть трубы имеет цилиндрический участок, которым она скользит по вкладышам люльки.
К
анал ствола делится на зарядную камору и нарезную или гладкую цилиндрическую часть. Зарядная камора (рис. 2), предназначенная для размещения боевого заряда и запоясковой части снаряда, имеет форму конуса, благодаря чему облегчается заряжание и выбрасывание стреляной гильзы после выстрела.
Нарезная часть канала ствола имеет винтовые нарезы постоянной крутизны, идущие слева вверх направо. Длина хода нарезов наших танковых пушек находится в пределах 25—30 калибров, что обеспечивает вращение снарядов с частотой порядка 300—450 оборотов в секунду. На придание снаряду вращательного движения уходит примерно 1% полезной работы пороховых газов
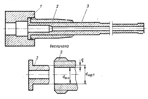
Одним из главных способов придания снаряду большей начальной скорости является увеличение давления в канале ствола. Однако величина максимального давления ограничивается упругими свойствами и прочностью металла ствола. При давлениях больше 3000•105 Н/м2, стали существующих категорий прочности не обеспечивают нормальную работу стволов, и труба не может быть изготовлена в виде моноблока. Поэтому прибегают к скреплению ствола. На трубу в области наибольших давлений надевается кожух (рис. 3). Внутренний диаметр кожуха dвн.к. меньше, чем наружный диаметр трубы dнар.т. Натяг q= dнар.т. — dвн.к.. выбирается в пределах 0,1—0,3 мм с тем расчетом, чтобы можно было кожух надеть на трубу при нагреве его до температуры примерно 400°С, при которой еще не наступают структурные изменения в металле. После охлаждения в трубе возникают напряжения
сжатия, а в кожухе — напряжения растяжения. В стенках скрепленного ствола напряжения от выстрела складываются с предварительно созданными, при этом результирующие напряжения во внутренних слоях уменьшаются, но увеличиваются в наружных.
В результате скрепления внутренние и наружные слои металла ствола принимают более равномерное участие в сопротивлении давлению пороховых газов. Максимальные напряжения уменьшаются, что позволяет увеличить давление в стволе.
В ряде случаев производят самоскрепление стволов (автофретаж). При самоскреплении труба-моноблок подвергается большому гидравлическому давлению—до 10000-105 Н/м2. При этом давлении слои металла получают некоторые остаточные деформации, в результате чего в стенке трубы создаются предварительные напряжения. Перераспределение напряжений аналогично тому, что создается и в скрепленном стволе.
Пороховые газы содержат до 35% по объему окиси углерода, которая, попадая в боевое отделение при выбрасывании гильзы из ствола, отравляюще действует на экипаж.
Механизм продувки (рис. 4) эжекционного типа позволяет уменьшить загазованность боевого отделения в несколько раз. Он устанавливается ближе к дульной части ствола и состоит из кожуха 4, удерживаемого на трубе с помощью гайки 2, навинчиваемой на резьбовой конец задней горловины кожуха. Проворачивание кожуха предотвращается шпонкой 1. В трубе просверлено под углом 60—80° к оси канала ствола отверстие а, закрываемое шариком 3. Ближе к дульному срезу в шахматном порядке под углом 25—30° просверливается 6—8 отверстий, в которые ввинчены сопла 5.
В некоторых механизмах шариковый клапан отсутствует, и заполнение кожуха газами происходит только через сопла. Время на заполнение кожуха мало, поэтому давление в кожухе доходит до (З0—50) 105 Н/м2.
После вылета снаряда из канала ствола давление в нем резко падает, однако заполнение кожуха газами продолжается, пока давление в стволе не сравняется с давлением в кожухе. Шарик садится в свое гнездо, и газы со скоростью до 500 м/с начинают истекать из кожуха через сопла, время истечения газов 1—1,5 с. Образуется струя истекающих (до 100 м/с) из ствола газов, в результате чего в стволе создается разрежение, при котором давление на 3—5% ниже атмосферного. Однако продувка наступает после открывания затвора и выброса стреляной гильзы. К этому времени давление в кожухе снижается до (8—1О)*105 Па. При продувке часть воздуха боевого отделения, смешанного с газами, поступает в канал ствола и выбрасывается наружу.
Механизм в значительной степени способствует устранению обратного пламени, если оно возникает при выстреле. Утеря шарика, разгар сопел или большой нагар резко снижают эффективность механизма.
Дульный тормоз предназначается для уменьшения энергии движения откатных частей, а, следовательно, и силы отдачи, действующей на танк при выстреле. Он изменяет направление вытекающих из канала ствола пороховых газов. Истечение газов через боковые окна приводит к уменьшению газов, движущихся в осевом направлении. Это уменьшает реактивную силу в направлении отката. Действуя на стенки тормоза, пороховые газы также уменьшают скорость отката.
Дульный тормоз ухудшает наблюдение из танка вследствие рассеивания газов в стороны и повышенного воздействия ударной волны на грунт. Кроме того, он затрудняет уравновешивание качающейся части орудия. Вследствие этих недостатков на современных танковых пушках дульные тормоза практически не применяются.
На ствол может надеваться термозащитный кожух, создающий изолированный от атмосферы слой воздуха вокруг трубы. В результате этого предотвращается одностороннее охлаждение или нагрев металла трубы из-за воздействия дождя, снега, ветра или солнечных лучей. Установка кожуха приводит к резкому уменьшению их влияния на изгиб ствола при выстреле, чем достигается повышение точности стрельбы.
Затвор
Затвор предназначен для прочного запирания канала ствола при выстреле, для производства выстрела и выбрасывания стреляной гильзы (поддона).
З
атворы танковых пушек и орудий БМП—клиновые с полуавтоматикой механического типа. Клин может перемещаться вертикально или горизонтально. Затворы с вертикально установленным клином обычно применяются в орудиях малого калибра, с горизонтально перемещающимся клином — в орудиях среднего и большого калибра (от 100 мм и выше).
Во время стрельбы открывание затвора, выброс стреляной гильзы и закрывание затвора происходят автоматически. Затвор вручную открывается только перед стрельбой. В соответствии с назначением клиновой затвор содержит следующие механизмы: запирающий, стреляющий, механизм повторного взведения, выбрасывающий, механизм ручного сброса выбрасывателей, открывающий, закрывающий и предохранительные устройства. Открывающий и закрывающий механизмы вместе называются полуавтоматикой, причем полуавтоматика может быть объединенного типа, когда действие этих механизмов осуществляется на общих деталях.
Основная часть деталей клинового затвора размещается в казеннике, небольшая их часть связана с люлькой.
Запирающий механизм (рис. 5) предназначен для прочного запирания канала ствола при выстреле.
Клин затвора образует дно канала ствола пушки, воспринимая осевое давление пороховых газов. Передняя поверхность клина называется зеркалом, а задняя—опорной поверхностью. Нижняя и верхняя поверхности называются направляющими плоскостями. Опорная поверхность выполнена наклонной. Благодаря наклону клина и задней поверхности клинового паза казенника осуществляется поджатие дна гильзы при закрывании затвора. При открывании затвора клин несколько отходит назад, исключая трение зеркала клина о дно гильзы.
Характеристики
Тип файла документ
Документы такого типа открываются такими программами, как Microsoft Office Word на компьютерах Windows, Apple Pages на компьютерах Mac, Open Office - бесплатная альтернатива на различных платформах, в том числе Linux. Наиболее простым и современным решением будут Google документы, так как открываются онлайн без скачивания прямо в браузере на любой платформе. Существуют российские качественные аналоги, например от Яндекса.
Будьте внимательны на мобильных устройствах, так как там используются упрощённый функционал даже в официальном приложении от Microsoft, поэтому для просмотра скачивайте PDF-версию. А если нужно редактировать файл, то используйте оригинальный файл.
Файлы такого типа обычно разбиты на страницы, а текст может быть форматированным (жирный, курсив, выбор шрифта, таблицы и т.п.), а также в него можно добавлять изображения. Формат идеально подходит для рефератов, докладов и РПЗ курсовых проектов, которые необходимо распечатать. Кстати перед печатью также сохраняйте файл в PDF, так как принтер может начудить со шрифтами.















