4203 (642964), страница 4
Текст из файла (страница 4)
Бездымный порох за тысячные доли секунды полностью сгорает в канале ствола, при этом из 1 кг пороха образуется 700—1100 л пороховых газов. Химическая энергия, заключенная в порохе, освобождается при горении и переходит в тепловую энергию сильно сжатых пороховых газов В кинетическую энергию снаряда переходит часть (25—40%) тепловой энергии пороховых газов.
К вспомогательным элементам относятся пламегасители, флегматизаторы, размеднители, уплотнители, обтюраторы.
В
пороховых газах имеются продукты неполного сгорания; окись углерода СО, водород Н2 и др. При истечении газов из канала ствола эти компоненты, имея высокою температура, в воздухе самовоспламеняются, образуя дульное пламя. Для уменьшения его применяются пламегасители. Они могут быть из opid-нических (дибутилфталат, динитротолуол и др.) и неорганических (сульфат калия K2SO4, алюмофтористый калий и др.) веществ. Первые вводятся в состав пороха и при горении его вступают в реакцию с пороховыми газами, снижают их температур) и способствуют уменьшению пламени. Эти вещества помимо полезного действия уменьшают работоспособность пороха. Вторые укладываются в мешочке и при выстреле смешиваются в газообразном состоянии с пороховыми газами, повышая их температуру самовоспламенения. При этом увеличивается дымность выстрела. Пламегасящие добавки уменьшают вероятность появления и обратного (у казенной части орудия) пламени.
Флегматизатор уменьшает разгар канала ствола. Основной причиной разгара является действие высоких температур и давлений пороховых газов на ствол.
Флегматизатор выполняется в виде нескольких слоев бумаги, пропитанной высокомолекулярными углеводородами (церезин, парафин). При выстреле эти вещества возгоняются и образуют между пороховыми газами и стенками ствола защитный слой. Флегматизатор в несколько раз увеличивает баллистическую жизнь орудия. В частично сгорающую гильзу флегматизатор может не укладываться- газы от сгорающего корпуса гильзы играют при этом ту же роль, что и пары флегматизатора.
Размеднитель уменьшает обеднение поверхности канала ствола. Оседающая на поверхности канала ствола медь от поясков изменяет его геометрию и ухудшает кучность боя орудия. Размеднитель - моток проволоки, изготовленной из свинца. При выстреле этот металл оседает на омедненную поверхность канала ствола и образует легкоплавкий сплав. Последний выносится пороховыми газами, а также последующими снарядами при движении их по каналу ствола. Систематическая тщательная чистка орудия, особенно раствором РЧС, также способствует снятию омеднения.
Уплотнитель фиксирует положение заряда в гильзе, что предотвращает перетирание или даже разрушение пороховых элементов при транспортировании. Это особенно опасно при низкой температуре, когда увеличивается хрупкость пороха. Изменение размеров пороха приводит к нарушению закона его горения и, как следствие, к разбросу начальных скоростей.
Обтюратор предотвращает прорыв пороховых газов через зазор между пояском снаряда и поверхностью канала ствола в начале выстрела.
Обтюратор и уплотнитель изготовляются в виде набора картонных кружков и цилиндрика.
Гильзы служат для размещения боевого заряда и соединения элементов унитарного артвыстрела в единое целое, а также для герметизации боевого заряда и обтюрации пороховых газов при выстреле. Гильзы изготовляются из латуни или малоуглеродистой стали. Внешние очертания гильзы соответствуют зарядной каморе орудия, причем размеры гильзы по диаметру на 0,2—1,5 мм меньше. Зазор увеличивается от дна к дульцу. Это обеспечивает свободное заряжание и экстрактирование ее после выстрела.
Герметичность боевого заряда и соединение со снарядом в унитарном выстреле обеспечиваются обжимом дульца в канавку запоясковой части снаряда. Снаряд не должен иметь качки и перекоса в гильзе.
Трещины на дне и на участке корпуса длиной 50 мм от фланца не допускаются. Гильза не должна иметь помятостей, препятствующих вхождению ее в зарядную камору.
Взрыватель — это устройство, предназначенное для образования начального взрывного импульса в целях вызова детонации разрывного заряда. Взрыватель состоит из нескольких механизмов.
Активно-реактивный выстрел занимает промежуточное положение между артвыстрелом и реактивным снарядом, сочетая в себе свойства обычных и реактивных боеприпасов.
О
собенностью этого выстрела является то, что за счет боевого (активного) заряда снаряд приобретает некоторую начальную
скорость, а за счет реактивного заряда, сгорающего при полете снаряда в воздухе, снаряд получает приращение скорости, а также дальности стрельбы.
Активно-реактивный выстрел с кумулятивной гранатой применяется для 73-мм орудия БМП. Кумулятивная боевая часть, двигательная установка и оперение снаряда соответствуют аналогичным элементам выстрела к станковому гранатомету. В гильзе 5 (рис. 18) размещен боевой заряд 4 из бездымного ленточного пороха, закрытого герметизирующей крышкой 2. В дно гильзы 5 ввинчена перфорированная трубка 6 с воспламенителем 3. Передний конец трубки имеет вырезы для стыковки со снарядом, в донную часть ее ввинчена капсюльная втулка 7 ЭКВ электрического действия.
Устройство и действие снарядов
Снаряды для борьбы с бронированными целями предназначены для стрельбы прямой наводкой в целях пробития брони и нанесения поражения оборудованию и экипажу, находящемуся за броней. К этим снарядам относятся: бронебойные (калиберные), бронебойные подкалиберные и кумулятивные.
Б
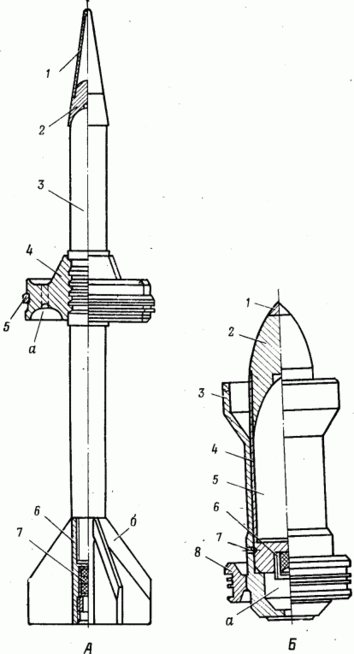
ронебойные снаряды (рис. 19) могут быть трех видов: остроголовые В, тупоголовые Б и с бронебойным наконечником Л. Эти снаряды применяются для стрельбы из нарезных пушек. Корпус 3 снаряда изготавливается из легированной стали. На нем размещаются один или два медных ведущих пояска 5. Пояски, врезаясь в нарезы ствола и двигаясь вместе с корпусом по
ним, придают снаряду вращательное движение и обеспечивают обтюрацию пороховых газов. В донной части корпуса 3 размещается разрывной заряд 4 (обычно из A-IX-2) и ввинчивается донный взрыватель 6 с трассером. На корпусе имеется один-два центрующих утолщения для центрирования снаряда в канале ствола. Диаметральный зазор между утолщением и стенками
рола порядка 0,1—0,25 мм. Головная часть снарядов, как правив, притупляется, чтобы при ударе о наклонный лист брони не было рикошетирования.
Остроголовый снаряд имеет недостаточно хорошую баллистичекую форму, поэтому значительно быстрее теряет скорость (и энергию) в полете. Его бронепробиваемость с увеличением дальности падает резче, чем у снарядов тупоголового и с бронебойным наконечником, имеющих баллистические наконечники 1. При ударе о броню головная часть остроголового и тупоголового снарядов разрушается. Чтобы при этом предохранить от раскола делаются подрезы (локализаторы) б. По этим подрезам при ударе происходит разрушение головной части, а корпус сохраняется.
Для увеличения бронепробивного действия на корпусе укрепляют на специальном припое бронебойный наконечник 2 обычно из того же материала, что и материал корпуса. Наконечник при ударе разрушается, но при этом разрушается и поверхностный слой брони. По мере углубления осколки от наконечника и лицевых слоев брони создают условия для всестороннего обжатия головной части, сохраняя на более длительное время корпус задаренным. При всех прочих равных условиях такой снаряд пробивает броню примерно на 20% большей толщины. Подрезов снаряд не имеет.
После пробития брони срабатывает взрыватель, поражение оборудования и экипажа бронецели осуществляется осколками снаряда и осколками от брони.
Бронебойные подкалиберные снаряды широко применялись уже в годы второй мировой войны, в настоящее время они полностью вытеснили бронебойные калиберные снаряды ввиду более высокой броне-пробиваемости.
Бронепробиваемость определяется запасом кинетической энергии снаряда в момент удара и площадью его поперечного сечения.
Бронепробиваемость подкалиберного снаряда тем больше, чем больше скорость встречи и его масса и чем меньше диаметр активной части снаряда. Бронепробиваемость снаряда зависит также от конструкции снаряда и прочности материала активной части снаряда, прочности брони и угла встречи снаряда с броней.
Подкалиберный снаряд (рис. 20, а) состоит из поддона, прикрытого сверху баллистическим наконечником. Внутри поддона размещен бронебойный сердечник. Для обеспечения большой начальной скорости снаряда поддон облегчен за счет придания ему катушечной формы я небольшой длины, а для обеспечения большой массы при небольшой площади поперечного сечения активная часть снаряда—сердечник—изготовлен из материала большой плотности , (карбида вольфрама).
При попадании в броню сердечник углубляется в ее металл, а поддон остается на лицевой стороне, передавая при этом сердечнику часть энергии. Ввиду малого диаметра на единицу площади металла брони приходится большое количество кинетической энергии, что приводит к пробитию броневых плит большей толщины, чем это может сделать калиберный снаряд. Большей бронепробиваемости способствует материал сердечника, уступающий по твердости только алмазу.
П
осле пробития поражение бронецели происходит осколками от брони и сердечника. Ввиду хрупкости карбида вольфрама при выходе из брони сердечник разрушается на мелкие осколки.
В снарядах с отделяющимся поддоном устранен и второй недостаток: малая поперечная нагрузка. При вылете из канала ствола у снарядов такого типа поддон отделяется, а активная часть летит к цели, хорошо сохраняя скорость на траектории.
Снаряд к нарезной пушке имеет поддон 3, нижняя часть которого имеет ведущий поясок 8. Внутрь поддона вставлен корпус 4 с карбидовольфрамовым сердечником 5. Сверху сердечник прикрыт головкой 2, а в дно корпуса 4 ввинчен трассер 6. В служебном обращении корпус удерживается стопорными винтами 7.
П
ри движении по каналу ствола снаряда ведущий поясок движется по нарезам, придавая поддону вращение. Благодаря насечкам на донной части корпуса и в дне поддона вместе с поддоном вращаются корпус и сердечник. Концы стопорных винтов, входящие в отверстия корпуса, при этом срезаются.
После вылета из канала ствола под действием большой силы сопротивления воздуха, а также остаточного давления в каморе а движение поддона резко замедляется. Он отстает от корпуса и падает перед танком; стрелять этими снарядами через головы своих войск также запрещается.
Бронепробиваемость снаряда с карбидовольфрамовым сердечником при прочих равных условиях несколько выше при ударе по нормали (ввиду его высокой твердости) по сравнению со стальным корпусом, но ниже—под большими углами (из-за его хрупкости).
К
умулятивный снаряд (рис. 22) состоит из корпуса 4, в котором размещен разрывной заряд 6 (из взрывчатого вещества A-IX-1) с капсюлем-детонатором 7. Сверху заряд 6 прикрыт кумулятивной воронкой (облицовкой) 5. Корпус 4 с помощью кольца (предохранителя) 3 соединен с головкой 2, в которую ввинчен головной взрыватель 1. Кольцо предохраняет снаряжение снаряда от осколков головки при ударе снаряда в броню и от осколков детонатора взрывателя 1 при его срабатывании, но имеет центральное отверстие для прохода продуктов взрыва детонатора взрывателя 1 к капсюлю-детонатору 7.















