4203 (642964), страница 3
Текст из файла (страница 3)
После остановки откатных частей они возвращаются в исходное положение под действием сжатой пружины накатника, но со скоростью (1—2 м/с), значительно меньшей скорости отката. Предварительное поджатие пружины обеспечивает удержание откатных частей при любых углах возвышения.
При перемещении откатных частей при откате и накате будут действовать также силы трения в направляющих люльки и уплотнениях штоков. На преодоление сил трения затрачивается примерно 5% энергии откатных частей при откате.
Около 15% энергии отката превращается в потенциальную энергию сжатого рабочего тела накатника (пружины или газа).
О
сновная часть кинетической энергии откатных частей при откате (до 80%) тормозом отката превращается в тепло, которое рассеивается в окружающее пространство. Вся энергия отката составляет примерно 2% от дульной энергии.
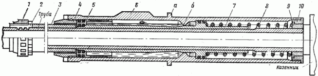
Тормоз отката (рис. 13) состоит из цилиндра 5, заполненного тормозной жидкостью стеолом М, и размещенных внутри него штока 6 с поршнем и регулирующим кольцом 2 и веретена 4 с модератором 7. Цилиндр 5 вставлен в обойму казенника; передний конец штока 6 закреплен в приливе люльки. К передней части цилиндра 5 приварен корпус 8 уплотнения. Уплотнение состоит из нескольких слоев асбестовой набивки 9 и нескольких ромбовидных колец, поджатых гайкой. В казенную часть цилиндра 5 вставлена задняя крышка 13 с веретеном 4 и ввинчена гайка 14 цилиндра. Медное уплотнительное кольцо между задней крышкой 13 и цилиндром 5 поджимается с помощью болтов 15. Сверху к цилиндру 5 приварена бонка 1 с пробкой, которая позволяет производить проверку уровня жидкости в тормозе отката. Сверху на внутренней поверхности цилиндра 5 (в некоторых конструкциях—на рубашке поршня) имеются проточки а для выхода воздуха из предпоршневой полости при заливке жидкости.
Н
акатник (рис. 14) состоит из трех цилиндров: наружного 5, среднего 6 и внутреннего 4, штока 7 с поршнем 3 и вентильного устройства. Внутренние полости цилиндров заполнены жидкостью стеолом М; верхняя часть полости наружного цилиндра 5 заполнена рабочим телом—газом, находящимся под давлением. Наружный цилиндр 5 вставлен в обойму казенника; передний конец штока 7 закреплен в приливе люльки.
Внутренняя поверхность цилиндра 4 хромирована. Внутри цилиндра 4 размещается поршень 3, собранный на конце штока 7. Поршень 3 по своему устройству аналогичен уплотнению 9.
Все полости цилиндров сообщаются; жидкость свободно при работе накатника может перетекать из одного цилиндра в другой через отверстия а и б. При наведении пушки цилиндры ПОУ будут поворачиваться, при этом газ всегда будет занимать верхнее положение. С учетом наклона корпуса танка эти углы могут быть в пределах от —35 до +45°. К уплотнению 9, которое должно обеспечить свободное перемещение штока 7, нельзя допускать газ, так как даже при неработающем накатнике он пройдет через уплотнение. Для предотвращения подхода газа к уплотнению в накатнике устанавливается средний цилиндр 6г через отверстие б которою газ не может проникнуть к уплотнению 9, так как он остается сверху в полости между наружным и средним цилиндрами. Если цилиндр накатника крепится к люльке орудия, а шток—к казеннику, то средний цилиндр может не устанавливаться.
Гидравлический тормоз отката и примерно на 2/3 гидропневматический накатник танковой пушки заполняются стеолом М. Состав жидкости: глицерина С3 Н5 (ОН)3— 46,3%, этилового спирта С2Н50Н—20,0% и воды—32,0%. В состав стеола М добавляются антикоррозийные присадки: едкого натра NaOH— 0,1% и двухромовокислого калия К2Сг2О7—1,6°/о. Температура кипения стеола М около + 90°С, при температуре около —60°С он застывает в твердое аморфное вещество. Качество стеола М проверяется крезолкрасной бумажкой.
При выстреле под действием силы отдачи ствол с цилиндрами ПОУ идет в откат. Штоки ПОУ, связанные с люлькой, остаются неподвижными.
Жидкость в тормозе отката из предпоршневой полости поступает во внутреннюю полость штока, откуда идет по двум направлениям: свободно, отжав клапан модератора, поступает в замодераторную полость штока и пробрызгивается с большой скоростью через кольцевой зазор между регулирующим кольцом и веретеном. В этом кольцевом зазоре создается гидравлическое сопротивление. Зазор переменный, этим достигается такой характер изменения силы, чтобы на основной длине отката сила сопротивления откату R была постоянной.
Одновременно жидкость, находящаяся во внутреннем цилиндре накатника, вытесняется поршнем через отверстия а и б в полость наружного цилиндра, чем обеспечивается сжатие газа. Сжатый газ накапливает энергию, которая будет расходоваться на возвращение откатных частей в исходное положение. Отношение первоначального объема газа к объему в конце отката находится в пределах 2—2,5.
По окончании отката под действием давления сжатых в накатнике жидкости и газа откатные части возвращаются в исходное положение.
Жидкость, находящаяся в цилиндре тормоза отката, из-за поршневой полости после выбора вакуума перемещается через кольцевой зазор в обратном направлении. Скорость наката во много раз меньше скорости отката, к тому же гидравлическое сопротивление пропорционально квадрату скорости. Вследствие этого торможение наката в кольцевом зазоре недостаточно эффективно. Для обеспечения нормального торможения наката на всей его длине работает модератор. Клапан модератора под давлением жидкости в замодераторной полости - закрывается, и жидкость пробрызгивается по канавкам переменной глубины. Небольшой избыток энергии при накате поглощается при ударе казенника ствола о резиновые буфера люльки.
Для наблюдения за состоянием ПОУ при стрельбе на ограждении орудия устанавливается указатель отката. После отката движок указателя заряжающим возвращается в переднее положение. Для каждого орудия, как правило, устанавливается нормальная и предельная (обозначаемая на линейке словом “Стоп”) длины отката. При предельной длине отката стрельба из орудия должна быть прекращена.
Противооткатные устройства (гидрооткатник) 73-мм орудия — концентрического типа. Последовательно вокруг ствола установлены гидравлический Тормоз отката и пружинный накатник. Такое расположение ПОУ придает им компактность, а конструкция позволяет удобно и просто их обслуживать.
Наружный цилиндр 6 (рис. 15) имеет бурт а. Этим буртом гидрооткатник устанавливается у переднего торца люльки (лафета) и поджимается к нему гайкой. Таким образом, наружный цилиндр 6 составляет с люлькой как бы единое целое и в откат не идет. Длина отката около 150 мм.
На трубе имеются кольцевые проточки. На эту часть трубы надето разрезное кольцо 2, на которое навинчена гайка 1. Эти детали создают искусственный бурт для передачи силы отдачи через втулку 3 на детали, заключенные внутри наружного цилиндра 6. Цилиндр 6 спереди и сзади закрыт гайками 4 и 10.
В передней части полости цилиндра 6 размещен тормоз отката, заполненный тормозной жидкостью. Переменный зазор образуется при откате и накате профильной поверхностью внутреннего цилиндра 7 и кольцом б, выполненным. за одно .целое с цилиндром 6. Два отверстия, закрытые винтами, в стенке цилиндра 6 служат для проверки уровня жидкости.
Пружина 8 накатника передним концом упирается в бурт внутреннего цилиндра 7, отжимая ствол в переднее положение. Задний конец пружины 8 через буфер 9, гайку 10 и цилиндр 6 упирается в люльку (лафет) орудия.
Ввиду напряженного теплового режима в гидрооткатнике применена полиэтилсилоксановая жидкость № 3 (вместо стеола М), имеющая более высокую точку кипения.
Люлька и ограждение
Люлька (рис. 16) предназначена для направления ствола при стрельбе во время отката и наката. При выстреле усилие от противооткатных устройств на башню передается через люльку и цапфы. К люльке крепятся узлы и детали механизмов и агрегатов вооружения.
В
нутри люльки 1 имеются направляющие втулки 2 или вкладыши, а с боков— цапфы. На цапфы надеваются игольчатые подшипники. Обоймы 3 цапф неподвижны в башне танка. Ими пушка вставляется в вырезы кронштейнов башни, и обоймы поджимаются клиньями. В 100-мм пушке цапфы имеют фланец, который крепится болтами к кронштейну башни, а цапфы, проходя через кронштейн, своими концами с надетыми игольчатыми подшипниками входят в отверстия люльки.
Смазка направляющих втулок (или вкладышей) и подшипников цапф производится с помощью тавотонабивателя через маслопроводы 4.
Спереди к приливам а люльки крепится болтами бронировка, а сзади крепится ограждение. К заднему торцу люльки прикрепляются резиновые буфера 5. Сверху (на некоторых пушках—снизу) приваривается направляющий штырь б, входящий в латунный вкладыш казенника. Штырь удерживает ствол от проворота при выстреле. С левой стороны располагаются приливы, к которым
крепятся сектор 7 подъемного механизма и кронштейн 8 для крепления головной части прицела.
Снизу люльки делается прилив в с отверстиями для крепления штоков противооткатных устройств. У 100-мм пушки приливы для крепления цилиндров противооткатных устройств — на люльке сверху.
Ограждение служит для предохранения членов экипажа от ударов казенником во время стрельбы. Ограждение состоит из левого и правого щитов, соединенных между собой основанием и прикрепленных болтами к люльке. К основанию крепится спусковой механизм. На левом щите, как правило, устанавливаются боковой уровень и некоторые детали затвора (механизма повторного взведения и др.). На правой стороне, со стороны заряжающего, крепится указатель отката. На щитах и основании могут устанавливаться некоторые узлы стабилизатора и детали механизмов и автоматов заряжания.
3. УСТРОЙСТВО И ДЕЙСТВИЕ БОЕПРИПАСОВ, ПРИМЕНЯЕМЫХ К ТАНКОВЫМ ПУШКАМ И ОРУДИЯМ БМП
Боеприпасами (боевыми припасами) артиллерии называются предметы артиллерийского вооружения в виде устройств, действие которых основано, как правило, на использовании взрывчатых веществ.
Артвыстрел (артиллерийский выстрел) —вид боеприпаса, предназначенный для нанесения поражения противнику при стрельбе из орудий и выполнения других задач, состоит из снаряда со снаряжением и взрывателем, боевого заряда и вспомогательных элементов в гильзе и средства воспламенения его—капсюльной
втулки.
Артвыстрелы подразделяются на боевые, холостые, практические и учебные. Боевые артвыстрелы—основные, так как от них зависит ущерб, наносимый противнику. Правильное обращение с ними позволяет обеспечить безопасность в служебном обращении и безотказное, эффективное действие по целям на поле боя. Холостые артвыстрелы имеют специальный боевой заряд в укороченной гильзе без снаряда и служат для холостой стрельбы (имитации светового и звукового эффектов выстрела) во время учений и для салютов. Практические артвыстрелы имеют снаряды и взрыватели в инертном снаряжении и применяются для стрельбы на полигоне Учебные артвыстрелы не содержат ВВ и предназначены для изучения материальной части боеприпасов (преимущественно разрезные и легкоразборные), для обучения действию при вооружении и для проверок и регулировок вооружения. Учебные артвыстрелы, используемые для заряжания орудий, называют учебно-тренировочными или макетами.
Для орудий танков и БМП применяются артвыстрелы патронного (унитарные) и раздельного гильзового заряжания. В унитарных патронах снаряд, боевой заряд и капсюльная втулка соединены в единое целое с помощью гильзы. В выстрелах раздельного гильзового заряжания снаряд отделен от гильзы.
Количество боевых артвыстрелов и других боеприпасов на один образец оружия, называется боекомплектом (боевым комплектом). Боекомплект является расчетно-снабженческой единицей.
Устройство и действие боевых зарядов
Боевой заряд (рис. 17), состоящий из навески бездымного пороха и воспламенителя, предназначен для метания снаряда из канала ствола. Луч огня от капсюльной втулки обеспечивает воспламенение воспламенителя, представляющего собой определенное количество (0,5—2,5% от веса заряда) зерненого дымного пороха. Воспламенитель, мгновенно сгорая, создает в гильзе давление (20—50)105Пa. Благодаря этому обеспечивается одновременный охват пламенем всей навески бездымного пороха, что создает благоприятные условия для правильного горения бездымного пороха.
















