150210 (598859)
Текст из файла
Содержание
1. Волчок
2. Секстан Флерие
3. Почему волчок не падает
4. Рождение гироскопа
5. Гироскоп и его основные свойства
6. Некоторые сведения из механики
7. Гироскоп в авиации
7.1. Роль гироскопических приборов в самолетовождении
7.2. Гироскопический тахометр
7.3. Гироскопический указатель поворотов
7.4. Авиационный гироскоп направления
7.5. Авиационный гиромагнитный компас
7.6. Авиационный гироскопический горизонт
7.7. Автоматический штурман
1. Волчок
Внимание многих ученых и изобретателей привлекла древнейшая народная игрушка - волчок (рис.1), которой придавали самые различные формы (рис.2).
Рис.1. Волчок
Большей частью волчок приводили во вращение с помощью тонкой бечевки, предварительно намотанной на его вал. Быстро сдергивая бечевку с вала волчка, сообщали последнему вращение вокруг оси АА1, которое продолжалось до тех пор, пока силы трения, действующие в точке О опоры волчка о какое-либо основание, не прекращали его движение.
Рис.2 Различные формы волчков
Попытки повалить быстро вращающийся волчок на бок не удавались. Под действием толчка с силой волчок лишь отскакивал в сторону и продолжал вращаться вокруг вертикальной оси ВВ1, положение которой было лишь несколько смещено относительно первоначального направления АА1.
Удивительное свойство волчка сохранять неизменным направление оси АА1 своего вращения открывало широкие перспективы для его практического использования. В самом деле, если быстро вращающийся волчок, выполненный в виде диска, неизменно выдерживает вертикальное положение, то вращение самого диска будет происходить строго в горизонтальной плоскости. Возникла непосредственная возможность практического осуществления искусственного горизонта.
Изучением законов движения волчка занялись многие ученые мира. Над этой задачей работал и знаменитый английский ученый И. Ньютон (1642 - 1727) и член Российской академии наук Л. Эйлер (1707 - 1783). Эйлер в 1765 г. впервые опубликовал теорию движения твердого тела около неподвижной точки его опоры и тем самым создал теоретическую базу для дальнейшего более глубокого изучения законов движения волчка. Работы французских ученых Ж. Лагранжа (1736-1813) и Л. Пуансо (1777 - 1859) во многом содействовали дальнейшему изучению и разработке методов практического использования свойств быстро вращающегося волчка.
2. Секстан Флерие
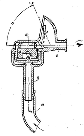
В 1886 г. французский адмирал Флерие предложил новый прибор - секстан - для измерения географической широты местоположения корабля во время шторма, основой которого являлся быстро вращающийся волчок. Сам волчок был выполнен в виде цилиндрического тела В (рис.3), подпертого остроконечной шпилькой на точке N. Во время работы прибор удерживали за рукоятку%R в вертикальном положении. С помощью ручного насоса во внутрь его через шланг М накачивали сжатый воздух, который ударял направленными струями в боковую поверхность волчка и приводил его во вращение вокруг оси ААХ. При весе волчка в 175 г удавалось сообщить ему вращение со скоростью около 3000 об/мин. Для обеспечения вращения волчка неизменно в горизонтальной плоскости его центр тяжести располагали примерно на 1 мм ниже точки опоры. Приведенный во вращение волчок даже при отклонениях рукоятки от вертикального положения продолжал оставаться в горизонтальной плоскости, обеспечивая на качающемся корабле искусственный горизонт.
Рис. 3. Схема секстана Флерие
Для удобства фиксирования плоскости горизонта на верхней торцовой поверхности волчка были укреплены две плосковыпуклые линзы С, на плоских поверхностях которых нанесены тонкие штрихи, расположенные параллельно торцовой поверхности волчка. Расстояние между линзами С соответствовало фокусному, вследствие чего при вращении волчка В штрихи, нанесенные на линзах, для глаза, наблюдающего в окуляр D прибора, сливались в одну черту. Эта черта и фиксировала положение плоскости горизонта, по отношению к которой измерялся угол а высоты светила L, аналогично тому, как это было описано выше (см. рис.4).
Для одновременного наблюдения за линией искусственного горизонта и светилом в приборе было установлено два зеркала F и К. Поворотом зеркала К луч, идущий от светила L, совмещали с линией искусственного горизонта. При этом величина угла а определялась углом поворота зеркала К.
Такова вкратце схема первого прибора, в котором был использован волчок, по своей форме и устройству принципиально не отличающийся от обычных волчков, имевших широкое распространение в быту.
3. Почему волчок не падает
Небольшая вершина, которую мы покорили, прочитав и усвоив предыдущую главу, позволяет нам ответить на вопрос, вынесенный в заголовок.
Представим себе какой-либо волчок, например то, что описан в начале книги, - тонкий латунный диск (шестеренка), насаженный на тонкую стальную ось Этот вариант волчка изображен на рис.4.
Пусть вас не пугает сложность рисунка, она кажущаяся. Ведь сложное - всего лишь недостаточно понятое. Некоторые усилия и внимание - и все станет простым и ясным.
Рис.4. Схема, поясняющая возникновение прецессии, гироскопического момента и характера движении полчка
Возьмем прямоугольную систему координат хуz и поместим ее центр в центр масс полчка, то есть в точку ЦМ. Пусть ось z проходит через ось собственного быстрого вращения волчка, тогда оси хуz будут параллельны плоскости диска и лежать внутри него. Договоримся, что оси хуz участвуют во всех движениях волчка, кроме его собственного быстрого вращения.
В правом верхнем углу (рис.4, б) изобразим такую же систему координат хуz. Она нам понадобится в дальнейшем для разговора на "языке" векторов.
Сначала не будем раскручивать волчок, и попытаемся его поставить нижним концом оси на опорную плоскость, например на поверхность стола. Результат не обманет наших ожиданий: волчок обязательно упадет на бок. Почему это происходит? Центр масс волчка (точка ЦМ) лежит выше точки его опоры (точки О). Сила веса G волчка, как мы уже знаем, приложена в точке ЦМ. Поэтому любое малое отклонение оси z волчка от вертикали В обусловит появление плеча силы G относительно точки опоры О, то есть появление момента М, который и повалит волчок в направлении своего действия, то есть вокруг оси х.
Теперь раскрутим волчок вокруг оси z до большой угловой скорости Ω. Пусть по-прежнему ось z волчка отклонена от вертикали В на малый угол, т.е. на волчок действует тот же момент М. Что же изменилось теперь? Как мы увидим дальше, изменилось многое, а вот в основе этих изменений лежит тот факт, что теперь каждая материальная точка i диска уже имеет линейную скорость V, обусловленную вращением диска с угловой скоростью Ω.
Выделим одну точку в диске, например точку А, имеющую массу mA и лежащую в средней плоскости диска на расстоянии г от оси вращения (г - радиус диска). Рассмотрим особенности ее движения за один оборот.
Итак, в начальный момент времени точка А, как и все другие точки диска, имеет линейную скорость, вектор которой VА лежит в плоскости диска. На волчок (и его диск) действует момент М, который пытается* опрокинуть волчок, придав точкам диска линейные скорости, векторы которых Wi перпендикулярны плоскости диска.
Под действием момента М точка A начинает приобретать скорость WA. В силу закона инерции скорость материальной точки мгновенно нарасти никак не может. Поэтому в начальном положении (точка А находится на оси у) ее скорость WA=0, и только через четверть оборота диска (когда точка А, вращаясь, будет уже находиться на оси х) ее скорость WA возрастает и станет максимальной. Это значит, что под действием момента М вращающийся волчок поворачивается вокруг оси у, а не вокруг оси х (как это было с нераскрученным волчком). В этом явлении начало разгадки тайны волчка.
Поворот волчка под действием момента М называется прецессией, а угловая скорость поворота - скоростью прецессии, обозначим ее ы п. Прецессируя, волчок начал поворот вокруг оси у.
Это движение является переносным по отношению к собственному (относительному) вращению волчка с большой угловой скоростью Ω.
В результате переносного движении вектор относительной линейной скорости VA материальной точки A, уже возвратившейся и начальное положение, окажется повернутым в сторону переносного вращении.
Таким образом, возникает уже знакомая нам картина влияния переносного движения на относительное, влияния, рождающего Кориолисово ускорение.
Направление вектора Кориолисова ускорения точки А (в соответствии с правилом, приведенным в предыдущей главе), найдем, повернув вектор относительной скорости VА точки А на 90° в сторону переносного (прецессионного) вращения волчка. Кориолисово ускорение ак точки A, имеющей массу тА, порождает силу инерции FK, которая направлена противоположно вектору ускорения aк и приложена к материальным точкам диска, соприкасающимся с точкой A.
Рассуждая подобным образом, можно получить направления векторов Кориолисова ускорения и силы инерции для любой другой материальной точки диска.
Вернемся к точке А. Сила инерции FK на плече r создает момент МГА, действующий на волчок вокруг оси х. Этот момент, порожденный Кориолисовой силой инерции, называется гироскопическим.
Его величину определяют помощью формулы:
МГА = rFk = mAr2 ΩωП = IA Ω ωП
Величину IA = mAr2, зависящую от массы точки и ее расстояния от оси вращения, называют осевым моментом инерции точки. Момент инерции точки является мерой ее инертности во вращательном движении. Понятие момента инерции было введено в механику Л. Эйлером.
Моментами инерции обладают не только отдельные точки, но и целые тела, поскольку они состоят из отдельных материальных точек. Имея это в виду, составим формулу для гироскопического момента МГ, создаваемого диском волчка. Для этого в предыдущей формуле заменим момент инерции точки IA на момент инерции диска IД, а угловые скорости Ω и ωП оставим прежними, так как все точки диска (за исключением тех, что лежат соответственно на осях гну) вращаются с одинаковыми угловыми скоростями Ω и ωП.
Н.Е. Жуковский "отец русской авиации", занимавшийся также и лучением механики волчков и гироскопов, сформулировал следующее простое правило для определения направления гироскопического момента (рис.4, б): гироскопический момент стремится совместить вектор кинетического момента Н с вектором угловой скорости переносного вращения ωП по кратчайшему пути.
В частном случае скоростью переносного вращения является скорость прецессии.
На практике пользуются также аналогичным правилом для определения направления прецессии: прецессия стремится совместить вектор кинетического момента Н с вектором момента физических сил М по кратчайшему пути.
Эти простые правила лежат в основе гироскопических явлений, и мы ими будем широко пользоваться в дальнейшем.
Но вернемся к волчку. Почему он не падает, поворачиваясь вокруг оси х, ясно - препятствует гироскопический момент. Но может быть, он упадет, поворачиваясь вокруг оси у в результате прецессии? Тоже нет! Дело в том, что, прецессируя, волчок начинает поворачиваться вокруг оси у, а это значит, что сила веса G начинает создавать момент, действующий на волчок вокруг этой же оси. Такая картина нам уже знакома, с нее мы начинали рассмотрение поведения вращающегося волчка. Стало быть, и в этом случае возникнут процессия и гироскопический момент, которые не позволят волчку долго наклоняться вокруг оси у, а переведут движение волчка в другую плоскость, и которой нее явлении повторятся снова.
Таким образом, пока угловая скорость собственного вращения волчка Ω велика, момент силы тяжести вызывает прецессию и гироскопический момент, которые удерживают волчок от падении в каком либо одном направлении. Этим объясняется устойчивость оси r вращения волчка. Допуская некоторые упрощения, можно считать, что конец оси волчка, точка К движется по окружности а сама ось вращения z описывает в пространстве конические поверхности с вершинами в точке О.
Вращающийся волчок представляет собой пример движения тела, имеющего одну неподвижную точку (у волчка это точка О). Задача о характере движения такого тела сыграла важную роль в развитии науки и техники, ее решению посвятили свои труды многие выдающиеся ученые.
4. Рождение гироскопа
Получив медицинское образование, Жан Бернар Леон Фуко (1819 - 4868) увлекся экспериментальной физикой и достиг в этой области немалых успехов. Назовем лишь самые крупные - токи Фуко, маятник Фуко, гироскопы.
Слово "гироскоп", придуманное Л. Фуко, состоит из двух греческих слов: "гирос" - вращение и "скопео" - наблюдать, смотреть.
Характеристики
Тип файла документ
Документы такого типа открываются такими программами, как Microsoft Office Word на компьютерах Windows, Apple Pages на компьютерах Mac, Open Office - бесплатная альтернатива на различных платформах, в том числе Linux. Наиболее простым и современным решением будут Google документы, так как открываются онлайн без скачивания прямо в браузере на любой платформе. Существуют российские качественные аналоги, например от Яндекса.
Будьте внимательны на мобильных устройствах, так как там используются упрощённый функционал даже в официальном приложении от Microsoft, поэтому для просмотра скачивайте PDF-версию. А если нужно редактировать файл, то используйте оригинальный файл.
Файлы такого типа обычно разбиты на страницы, а текст может быть форматированным (жирный, курсив, выбор шрифта, таблицы и т.п.), а также в него можно добавлять изображения. Формат идеально подходит для рефератов, докладов и РПЗ курсовых проектов, которые необходимо распечатать. Кстати перед печатью также сохраняйте файл в PDF, так как принтер может начудить со шрифтами.
















