150210 (598859), страница 4
Текст из файла (страница 4)
Обозначая центростремительное ускорение wц, находим его значение:
Выше уже говорилось о том, что для сообщения телу ускорения на него необходимо воздействовать внешним усилием. В рассматриваемом случае (рис.15) это усилие совпадает по направлению с радиусом R и действует на тело D со стороны нерастяжимой нити 0D. В свою очередь тело D будет действовать на нить силой, равной по величине внешнему усилию, но обратной ему по направлению. Такие силы, развиваемые массой движущегося тела и оказывающие сопротивление внешним усилиям, называются силами инерции. Если прекратить связь между валом двигателя и телом, то с этого мгновения последнее перестанет двигаться по окружности и начнет перемещаться прямолинейно с постоянной скоростью.
Сказанное легко проверить на опыте. Используйте в качестве связи между валом В электрического двигателя ЭД и шариком D обычную суровую нитку. Приведите во вращение вал двигателя, а вместе с ним и шарик и дайте им набрать достаточно большую скорость, Приготовьте острую бритву и в тот момент, когда центр шарика D будет подходить к совмещению с точкой а, быстро перережьте нить. Шарик D сразу же прекратит движение по окружности и начнет перемещаться вдоль прямой ab, с которой в момент перерезывания нити был совмещен вектор v его скорости.
7. Гироскоп в авиации
7.1. Роль гироскопических приборов в самолетовождении
При полете самолета необходимо иметь точные данные о географических координатах тех пунктов земной поверхности, над которыми он в данный момент времени пролетает. Только при этом условии можно совершить полет по заранее заданному маршруту. На заре авиации, когда полеты самолетов производились только в хорошую, так называемую лётную погоду выполнение указанных условий не вызывало затруднений.
Так, например, если самолет должен был совершить перелет по маршруту, включающему в себя пункты А, В, С и D (рис.13), то летчик вначале выбирал направление на поселок А, затем на хутор В, после чего вел самолет вдоль реки до моста С, через нее, и дальше выдерживал направление полета вдоль железнодорожного полотна вплоть до достижения пункта D. Благодаря хорошей видимости летчики легко ориентировались по лежащей под ними местности, а, используя линию естественного горизонта, могли выдерживать полет в горизонтальной плоскости.
Однако с развитием авиации, увеличением дальности, скорости и высоты полетов уже нельзя было рассчитывать на выполнение перелетов только при лётной погоде. Действительно, при больших дальностях беспосадочных перелетов нельзя предполагать, что на всей трассе будет стоять ясная погода. На своем пути самолет может попасть в облачность, туман, дождь и другие условия, при которых земная поверхность окажется скрытой от наблюдений.
Характерная черта современной авиации - совершение полетов при отсутствии видимости земной поверхности. Пассажирские и почтовые самолеты должны совершать регулярные рейсы в любое время дня и ночи, при любой погоде, так как в противном случае, при выжидании лётной погоды будет теряться одно из основных преимуществ воздушного сообщения - скорость. Более того, полет сопровождается подчас отсутствием видимости и небесных светил. В таком случае летчик ведет машину "вслепую".
Для выполнения слепого полета по заранее намеченному маршруту самолет должен быть оборудован приборами, которые в течение всего времени указывали бы направление линии север-юг, называемой обычно полуденной и истинной вертикали. На первый взгляд такие требования могут быть обеспечены весьма простыми средствами. Достаточно, казалось бы, оборудовать самолет маятником и магнитной стрелкой, чтобы дать возможность летчику определить положение самолета относительно плоскостей горизонта и меридиана.
Рис.13. Схема полета самолета по земным ориентирам
Именно по этому пути использования магнитного компаса и маятникового креномера и пытались идти первые русские навигаторы. Так, еще в 1804 г. при полете Я.Д. Захарова с научными целями на воздушном шаре в его гондоле для определения направления движения был установлен магнитный компас.
Опираясь на опыт морского кораблевождения, русские авиаторы стремились оснастить свои воздушные корабли самыми совершенными в те времена навигационными приборами. А.Ф. Можайский при постройке своего первого в мире самолета, испытания которого происходили в России в 1882-1884 гг., предусмотрел установку на нем специально сконструированного магнитного компаса. Большую помощь А.Ф. Можайскому оказал крупнейший специалист компасного дела академик И.П. Колонга (1839-1902).
Русский самолет "Илья Муромец", первый полет которого состоялся в декабре 1913 г., имел 2 комплекта маятниковых креномеров и магнитные компасы; один для летчика и второй для штурмана. Опыт использования магнитного компаса на самолете "Илья Муромец" и явился началом развития самолетовождения по приборам.
Однако ни магнитная стрелка, ни маятник не могли в условиях полета, так же как и на качающемся корабле, сохранять свои положения неизменно совмещенными с направлениями полуденной линии и истинной вертикали. Это объясняется тем, что даже при прямолинейном полете вследствие атмосферных возмущений, случайных отклонений рулей, неравномерной работы двигателей и других причин самолет совершает непрерывные колебания вокруг своих осей (рис.14). Эти колебания порождают перемещения с ускорениями опор подвесов магнитной стрелки и маятника в корпусе самолета, обусловливая тем самым их отклонения от направлений полуденной линии и вертикали. Кроме того, при колебаниях самолета силы трения, неизбежно существующие в опорах подвесов, воздействуя на магнитную стрелку и маятник, увлекают их за поворотами самолета.
Рис.14. Схема самолета: 1 - продольная ось; 2 - вертикальная ось; 3 - поперечная ось
Все это, учитывая непрерывные колебания самолета, порождает и непрекращающиеся колебания маятника и магнитной стрелки около направлений вертикали и полуденной линии. Указанные обстоятельства затрудняют пользование рассмотренными приборами для определения углов крена самолета по отношению к плоскости горизонта и его курсовых углов относительно плоскости меридиана.
Таким образом, ни магнитная стрелка, ни маятниковый креномер не могли явиться надежными указателями положений плоскостей меридиана и горизонта. Вот почему возникла насущная потребность в создании принципиально новых приборов, которые бы в специфических условиях полета сохраняли неизменным свое положение относительно плоскостей горизонта или меридиана. Было сделано много попыток улучшения качества и магнитного компаса и маятникового креномера, однако ни одна из них не дала удовлетворительного решения. И только применение гироскопа позволило создать навигационные приборы, удовлетворяющие все возрастающим требованиям авиации.
Естественно, что внедрению гироскопа в самолетовождение во многом способствовал опыт морского флота, который к этому времени накопил достаточное количество материала по практическому использованию гироскопического компаса на море. Однако было бы ошибочным полагать, что авиация лишь позаимствовала у морского флота уже готовые гироскопические приборы. Малые габариты кабины самолета, высокие скорости его полета, ограничение веса
Для всех механизмов и приборов, устанавливаемых на самолете' исключали возможность использования, на нем морского гироскопического компаса, обладающего, как известно, значительными габаритами и весом.
Правда, в начале XX в. были предприняты попытки использовать гироскопический компас в авиации. Дирижабль "Италия", совершивший в 1928 г. полет к Северному полюсу, был оборудован гироскопическим компасом, однако эксперимент этот был неудачным. Дальнейших же попыток использования гироскопического компаса в авиации, как об этом можно судить по периодической печати, не предпринималось.
Самолетостроителям в этом вопросе пришлось идти самостоятельным путем. Без сомнения, установившиеся методы проектирования и технологические приемы изготовления гироскопических компасов были в полной мере использованы самолетостроителями, что и оказало решающее влияние на сравнительно быстрое внедрение гироскопических приборов в авиацию. Так, уже в первую мировую войну русские военные самолеты были оборудованы гироскопическими указателями горизонта (рис.15).
Рис.15. Авиационный гирогоризонт 1914 г.
Волчок прибора приводился во вращение сжатым воздухом, подаваемым внутрь прибора через патрубок с и отсасываемым оттуда через трубку d. Волчок описываемого прибора упирался одним концом своей оси, так называемой шпилькой, в подпятник или топку N (рис.16).
Верхняя часть оси ААХ вращения волчка оканчивалась небольшим плоским диском а, по положению которого относительно прозрачного сферического колпака Ь, неизменно связанного с самолетом, и выдерживался горизонтальный полет.
Русская авиация не только не отставала от зарубежных стран в деле использования гироскопических приборов на самолете, но часто являлась пионером их внедрения.
Так, например, в 1917 г. русские летчики А.Н. Журавченко и Г.Н. Алехнович совершили на самолете "Илья Муромец" слепой полет, выдерживая прямолинейный курс в заданном направлении по гироскопическому указателю поворотов, о принципиальном устройстве которого будет сказано ниже. Этот прибор, разработанный П.П. Шиловским специально для авиации, позволил провести самолет по заранее намеченному курсу при полном отсутствии видимости земных ориентиров.
Рис.16. Схема, объясняющая принцип работы авиационного гирогоризонта 1914 г.: а-при горизонтальном полете; б-при наборе высоты
Работы советских ученых А.Н. Крылова, Б.В. Булгакова, С.С. Тихменева, Г.В. Коренева, А.Р. Бонина, Г.О. Фридлен-дера и многих других в содружестве с выдающимися конструкторами Е.Ф. Антиповым, Е.В. Ольманом, Р.Г. Чичикяном, А.И. Марковым и другими талантливыми инженерами обеспечили оснащение советской авиации высококачественными гироскопическими приборами.
В двадцатых годах текущего столетия в дополнение к указателю поворотов создаются авиационные гироскопические указатели, курса и горизонта, которые стали в настоящее время обязательными навигационными приборами самолета любого типа. В начале тридцатых годов советские конструкторы Д.А. Браславский, М.М. Качкачян и М.Г. Эйлькинд первыми в мире разработали, построили и испытали гиромагнитный компас, получивший в настоящее время широкое распространение в авиации всех стран мира.
Гироскопические приборы позволяют измерять углы, угловые скорости и ускорения при отклонении самолета от заданного направления.
Пользуясь гироскопическими приборами, определяют Линейные скорости и ускорения движения самолета. Наконец, они облегчают физический труд летчика, управляя полетом самолета автоматически.
7.2. Гироскопический тахометр
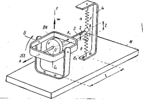
Как упоминалось в предыдущем параграфе, одним из первых гироскопических приборов, использованных в авиации, был прибор, указывающий повороты самолета вокруг вертикали, или, как говорят, в азимуте. Чтобы разобраться в его принципиальной сущности, представим себе ротор гироскопа, быстро вращающийся. вокруг оси АА1 в кардановом кольце ВК (рис.17). Кольцо ВК, в свою очередь, может вращаться совместно с ротором вокруг оси ВВ^ в корпусе прибора, жестко укрепленном на основании N.
Рис.17. Принципиальная схема гиротахометра
На продолжении оси АА1 к кардановому кольцу ВК прикреплен стержень D, заканчивающийся шаровым наконечником, с которым соединены концы спиральных пружин а и b. Вторые концы этих пружин закреплены на кронштейне L, смонтированном также (на основании N. Благодаря наличию пружин свобода вращени5 гироскопа вокруг оси BBt его подвеса становится частично ограниченной, так как при повороте гироскопа вокруг оси ВВ1, пружинь будут деформироваться, создавая тем самым усилие, стремящееся возвратить гироскоп в исходное нулевое положение.
Если основание N поворачивать вокруг оси СС, с угловой скоростью ω, то вместе с основанием с такой же угловой скоростью а начнет поворачиваться и гироскоп. При этом последний будет поставлен в условия одновременного движения сразу вокруг двух осей: АА1 и CC1 с угловыми скоростями Ω и ω. В этом случае гироскоп начнет вращаться вокруг оси ВВ1 стремясь совместить свою главную ось АА1 с осью CC1 вынужденного поворота.
Вместе с гироскопом вокруг оси В1, будет поворачиваться и стержень D, шаровой наконечник которого начнет воздействовать на пружины а и b. Одна из пружин при этом будет растягиваться на величину z, вторая - на столько же сжиматься. В результате указанной деформации возникнет сила F упругости пружин, которая будет стремиться возвратить гироскоп к нулевому положению. С увеличением угла поворота ξ гироскопа вокруг оси ВВ1 деформация z пружин будет возрастать увеличивая силу F их упругости.
















