150210 (598859), страница 7
Текст из файла (страница 7)
С этой целью для обеспечения требуемой точности прибора приходится утяжелять ротор, что влечет за собой и увеличение общих размеров прибора. При малых же размерах ротора и малом его весе момент, возникающий при отклонении гироскопа от истинной вертикали, оказывается недостаточным для противодействия возмущения, порождающим ошибки маятниковой гироскопической вертикали.
Рис. 33. Принципиальная схема устройства гирогоризонта
По этим причинам маятниковая гировертикаль не могла быть использована в авиации, найдя себе применение только в морском флоте. В авиации для сохранения вертикального положения главной оси небольшого по размерам гироскопа применяются различные методы. На рис.33 приведена схема гироскопа с тремя степенями свободы, центр тяжести которого совмещен с точкой подвеса, а его главная ось ЛЛ, расположена вертикально. На гироскопической камере ВК, которая, как известно, выполняет роль внутреннего кольца подвеса, установлено два цилиндра из немагнитного материала. Эти цилиндры расположены взаимно-перпендикулярно, причем каждый из них установлен симметрично по отношению к соответствующим осям ВВ1 и CC1 подвеса гироскопа.
С обоих концов цилиндров располагаются катушки соленоидов N1, L1 и N2; L2, включаемые в сеть электрического тока посредством маятникового М, и М2, оси подвесов которых параллельны осям ВВ1 и CC1 гирокамеры. Предположим, что отклонение главной оси ЛЛ) гироскопа от направления истинной вертикали OZ произошло в результате поворота гироскопа вокруг оси CC1 в направлении, показанном стрелкой. При этом маятник М2, сохраняя отвесное положение, замкнет ламель K2, расположенную совместно со второй ламелью К1 на изолированном основании, укрепленном на корпусе гирокамеры.
Замыкая контактную ламель К2, маятник М2 включит ток в катушку L1 соленоида, расположенного перпендикулярно оси СС1. Воздействие электромагнитного поля соленоида на помещенный внутри цилиндра якорек Я вызовет перемещение последнего вдоль оси СС1 вправо. Вес Р якорька Я создаст на плече момент Мв = Рl, направление которого на схеме показано вектором, совпадающим с осью ВВ1.
Момент Рl вызовет прецессионное движение гироскопа вокруг оси СС1 в результате чего его главная ось AAl будет идти на совмещение с истинной вертикалью 0Z. Как видим, направление перемещения якорьков зависит от того, какую ламель замкнут соответствующие маятники М1 или М2, которые и управляют системой удерживания гироскопа в вертикальном положении, получившей название корректирующего устройства.
Корректирующие устройства гироскопических приборов выполняются в самых различных вариантах, с которыми читатель может познакомиться в литературе, указанной в конце книги.
Однако вне зависимости от их конструктивной разновидности принципиальная сущность корректирующих устройств остается одной и той же.
Маятники той или иной конструкции фиксируют отклонение главной оси гироскопа от направления истинной вертикали и включают в работу устройства, создающие внешние, воздействующие на гироскоп, моменты. Под воздействием этих моментов гироскоп получает прецессионное движение, в результате которого его главная ось и приходит к совмещению с истинной вертикалью.
Гироскопические приборы, оборудованные корректирующими устройствами для выдерживания их главной оси в вертикальном направлении, в отличие от маятниковых гироскопических вертикалей, получили название авиационных гироскопических горизонтов, пользуясь которыми летчики во время полета получают возможность фиксировать величины углов как продольного, так и поперечного крена самолета.
Часто в целях экономии места на приборной доске самолета, которая занята большим количеством приборов, авиационные гироскопические горизонты монтируют в одном корпусе с гироскопическим указателем поворотов. Такой комбинированный прибор (рис.34) совмещает гироскопический горизонт ГГ, гироскопический указатель поворотов УП и маятниковый креномер МК.
Рис.34. Комбинированный гирогоризонт
Для большей наглядности приведена фотография одновременно трех экземпляров одного и того же гироскопического комбинированного прибора. Каждый экземпляр с предварительно снятой защитной крышкой установлен под различным углом зрения к объективу, благодаря чему читатель может составить представление и о компановке прибора, и о его наружном виде со стороны шкалы.
7.7. Автоматический штурман
В связи с непрерывным ростом скорости и дальности беспосадочных полетов усложнилась работа по определению местоположения летящего самолета, который на протяжении большого участка пути совершает движение в условиях отсутствия видимости земных ориентиров. Возникла необходимость в приборе, автоматически вычисляющим пройденный самолетом путь.
Наличие гироскопа позволило создать такой прибор. Он был назван автоматическим штурманом, который непрерывно записывал пройденный самолетом путь (подобно автоматическому курсографу, регистрирующему направления движения корабля). Прообразом современных автоматических приборов, непрерывно регистрирующих на бумажной ленте курс корабля, самолета или любой другой подвижной платформы явился самопишущий магнитный компас, разработанный М.В. Ломоносовым еще в 1759 г. Отечественный навигационный полуавтомат курсограф был разработан В.Ю. Поляком в 1929 г. Позже решению этой задачи посвятили свой труд Н.А. Гриценко, В.А. Шефов, С.А. Кондратюк и многие другие советские специалисты.
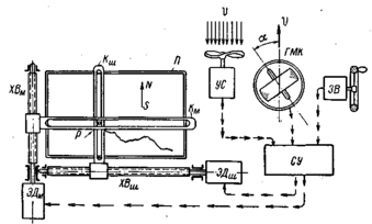
В общих чертах сущность устройства автоматического штурмана может быть рассмотрена по схеме (рис.35). На планшете П закреплена карта с предстоящим маршрутом перелета. Над картой располагаются две взаимно-перпендикулярные кулисы Км и Кш, в прорезях которых установлен соединяющий их между собой ползунок Р, несущий карандаш, соприкасающийся острием с плоскостью карты.
Каждая кулиса заканчивается гайкой, связывающей их с ходовыми винтами ХВШ или ХВМ, приводимыми во вращение электродвигателями. С помощью электродвигателя ЭДМ вращают ходовой винт ХВМ, перемещающий кулису Км.
Рис.35. Принципиальная схема устройства автоштурмана
В результате ползунок Р приходит в движение вдоль меридиана карты, и карандаш начинает чертить след перемещения ползунка. Если ток подать на второй электродвигатель ЭДШ, карандаш начнет чертить линию перемещения ползунка вдоль параллели карты.
Для вычерчивания на карте линии проходимого самолетом пути необходимо перемещение ползунка производить со скоростью, пропорциональной скорости самолета. С этой целью в системе автоштурмана используется указатель скорости УС, показания которого передаются в счетно-решающее устройство СУ, автоматически подбирающее необходимое напряжение, подаваемое на электродвигатели ЭДМ и ЭДШ.
Однако показаний одного указателя скорости самолета еще недостаточно для работы автоматического штурмана. Дело в том, что в общем случае направление воздушной скорости v самолета может занимать любое положение по отношению к плоскости меридиана MS (рис.36, а). Поэтому для правильной записи на карте проходимого самолетом пути его воздушную скорость v раскладывают на две составляющие: uм - вдоль меридиана и uш - вдоль параллели.
Так как величины uм и uш зависят от курсового угла а, по которому самолет движется по отношению к плоскости меридиана, то для автоматического их определения в счетно-решающее устройство СУ автоштурмана непрерывно подаются показания гиромагнитного компаса ГМК.
В счетно-решающем устройстве, куда непрерывно подаются значения величин воздушной скорости u самолета и курсового угла а, происходит разделение скорости v на составляющие uм и uш
Рис.36. Схема, показывающая снос самолета с заданного курса под воздействием сил ветра
На величину скорости движения самолета относительно земной поверхности большое влияние оказывают ветры. Если скорость ветра, совпадает с воздушной скоростью самолета, то его суммарная (путевая) скорость относительно земной поверхности увеличивается. Когда воздушная скорость самолета и скорость ветра противоположны, путевая соответственно уменьшается. В общем случае скорость ветра vB порождает боковой снос самолета, вызывая его отклонение от заданного направления полета. В итоге путевая скорость vn самолета будет определяться геометрической суммой двух скоростей: воздушной скорости v самолета и скорости ветра uв (рис.36, б).
Проекции путевой скорости v" на направления вдоль меридиана un, м и вдоль параллели un, ш будут уже отличны от. проекций uм и uш на те же направления воздушной скорости v. При большом протяжении маршрута, так же как и при больших скоростях ветра ошибки записи пройденного пути вследствие сноса самолета могут достигать значительных размеров. Поэтому в автоштурманах предусматривается специальное устройство, так называемый задатчик скорости и направления ветра ЗВ, пользуясь которым штурман вручную вводит соответствующую поправку. Эта поправка суммируется в счетно-решающем устройстве СУ с показаниями указателя воздушной скорости УС и гиромагнитного компаса ГМК. В результате из счетно-решающего устройства на электродвигатели ЭДМ и ЭДШ подается напряжение, обеспечивающее перемещение кулис Ки и Кш строго в соответствии с путевыми скоростями самолета: уп м - вдоль меридиана и vn ш - вдоль параллели (рис.36, б).
Рис.37. Внешний вид планшета автоштурмана
Таков в самых кратких чертах принцип работы авиационного автоматического штурмана, внешний вид планшета которого показан на рис.37.
















