150210 (598859), страница 3
Текст из файла (страница 3)
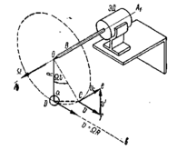
Рис.8. Отклонение гироскопа с течением времени от плоскости горизонта
Предположим также, что в начальный момент времени мы увидели волчок установленным на экваторе в точке Во, причем его главная ось АА1 направлена с запада на восток и расположена горизонтально. Вследствие суточного вращения Земли точка В0 непрерывно изменяет свое положение. По прошествии трех часов она переместится в точку В3, через шесть часов - в точку В6, через двенадцать - в точку В12 и т.д. пока вновь не вернется в исходное положение по истечении 24 часов. Известно, что в любой точке на земной поверхности плоскость горизонта перпендикулярна радиусу земного шара (т.е. плоскость горизонта изменяет с течением времени свое положение в мировом пространстве). Поэтому для наблюдающего из мирового пространства ее положение для точки земной поверхности, расположенной на экваторе, будет казаться прямой линией. Так, в точке В0 это будет прямая а0b0, в точке В3 - прямая а3b3, в точке В3 - прямая а6b6 и т.д.
В суточном вращении Земли участвует и точка подвеса волчка, закрепленная с помощью кардановых колец неподвижно на земной поверхности.
Главная ось такого волчка не сохранит неизменного положения относительно плоскости горизонта. Оставаясь стабильной и мировом пространстве, главная ось АА1 волчка отклонится от плоскости горизонта. Причем угол этого отклонения будет равен углу поворота земного шара.
Следовательно, наблюдатель, находящийся на земной поверхности рядом с волчком в кардановом подвесе, сможет по отклонению его главной оси от плоскости горизонта определить угол поворота земного шара около своей оси.
Прибор Фуко дал возможность непосредственно наблюдать суточное вращение Земли, поэтому и был назван гироскопом.
Быстро вращающийся гироскоп оказывает значительное сопротивление любым попыткам изменить его положение в пространстве. Если воздействовать на его наружное кольцо НК (рис.9) силой F, пытаясь повернуть гироскоп вокруг оси СС1, то можно убедиться в сопротивлении гироскопа внешнему усилию.
Гироскоп начнет поворачиваться не вокруг оси СС1 а вокруг оси ВВ1. в направлении, указанном стрелкой. Скорость вращения гироскопа вокруг оси ВВ1 будет тем больше, чем больше сила F.
Рис.9. Сопротивляемость гироскопа внешним усилиям
Одновременно были обнаружены и другие интересные свойства гироскопа. Опыты показали, что, затягивая винты d, расположенные на наружном кольце НК, и лишая тем самым гироскоп свободы вращения вокруг оси ВВ1, создают условия, при которых гироскоп будет стремиться совместить свою главную ось АА1 с плоскостью меридиана. Для этого необходимо главную ось гироскопа предварительно установить в плоскость горизонта. Если же затянуть винт d1, расположенный на корпусе К прибора, и лишить тем самым гироскоп свободы вращения вокруг оси СС1 то главная ось АА1 при условии ее предварительного совмещения с плоскостью меридиана, будет стремиться к совмещению с линией, параллельной оси мира.
Для уяснения природы многообразных свойств гироскопа обратимся к некоторым основным понятиям и законам механики.
6. Некоторые сведения из механики
Удивительное на первый взгляд свойство гироскопа двигаться в направлении, перпендикулярном действующему на него усилию, полностью подчинено законам механики. Оно объясняется инертностью массы гироскопа, присущей ему, как и любому другому телу.
Наблюдения и опыты показывают, что изменение скорости и направления движения любого тела не может происходить само по себе без воздействия на него внешних сил. Согласно закону Ньютона любое тело, если на него не действуют другие тела, сохраняет состояние покоя или прямолинейного и равномерного движения.
Рис.10. Различные виды движения тел
Свободно движущееся тело А (рис.10) стремится сохранить свое движение с постоянной скоростью v в прямолинейном направлении аb. На схеме скорость v изображена вектором в виде отрезка прямой nl, совпадающей с направлением движения ab. Стрелка на конце вектора указывает, в какую сторону по этому направлению движется тело. Длина nl вектора в условном масштабе изображает величину скорости v.
Ньютон установил также, что ускорение w тела, характеризующее изменение скорости его движения, пропорционально действующей на тело силе F и обратно пропорционально массе этого тела т, равной весу тела G, деленному на ускорение свободного падения g. Этот вывод, имеющий всеобщий характер, носит название второго закона Ньютона и может быть выражен формулой
из которой следует, что сила F, необходимая для сообщения телу ускорения до, равна массе т тела, умноженной на ускорение,
F = mw (1)
Из уравнения (1) следует, что для изменения скорости и направления движения тела необходимое внешнее усилие должно быть тем больше, чем больше масса тела и чем больше ускорение последнему должно быть сообщено.
Таким образом, именно масса тела обладает инертностью, или, иначе говоря, свойством сохранять свое состояние движения неизменным, которое может являться и состоянием покоя и состоянием равномерного и прямолинейного движения.
В описанном проявлении инертности массы и заключается сущность основного закона, которому движение гироскопа подчинено в такой же мере, как и движение любого другого тела.
Если на тело А, движущееся по прямой ab со скоростью у0 (рис.10), подействовать в направлении его движения силой F, то по истечении весьма малого промежутка времени оно будет продолжать двигаться в прежнем направлении ab, но уже с новой скоростью vt.
Изменение скорости движения тела за время At и характеризует его ускорение:
Измеряя скорость в сантиметрах в секунду (см/сек), ускорение будем оценивать в сантиметрах в секунду в квадрате (см/сек2).
В общем случае под воздействием внешней силы тело может изменить одновременно и скорость и направление своего движения. Представим себе, что на тело А, движущееся в направлении ab со скоростью v0, подействовала сила F2, направленная по линии cd, перпендикулярной ab. Под влиянием этого усилия тело получит ускорение в направлении cd, в результате чего по прошествии времени Δt оно, кроме скорости v0 в направлении ab, приобретет некоторую дополнительную скорость v2 в направлении cd.
Нетрудно определить новое направление и вычислить новую скорость v' движения рассматриваемого тела. Как известно, направление движения будет определяться направлением диагонали параллелограмма, стороны которого равны векторам v0 и и2, а значение суммарной скорости - длиной этой диагонали, вычисленной в соответствии с масштабом, принятым для построения векторов у0 и и2.
Для получения ясного представления о сущности проявления основного закона движения при опытах с гироскопическими приборами необходимо выяснить возможные перемещения гироскопа в пространстве.
Движение гироскопа можно рассматривать состоящим из его вращения вокруг трех осей подвеса (рис.11). В этом случае необходимо знать величину и направление скоростей его вращения вокруг каждой из этих осей в отдельности.
Скорость вращения тел измеряют обычно либо числом оборотов в минуту, либо числом, радианов 1 в секунду. Скорость вращения в один радиан в секунду соответствует повороту рассматриваемого тела (рис.14) на угол φR, равный центральному углу, опирающемуся на дугу ab, длина которой равна радиусу окружности R.
Рис.11. Схема вращения тела вокруг оси
Так, если рассматриваемое тело в течение 1 сек. совершит один оборот, т.е. повернется на 360°, то угловая скорость его вращения, выраженная в радианах в секунду, будет равна:
Если же тело в течение 1 мин. совершает π оборотов, то величина угловой скорости определится равенством
Но одна величина угловой скорости еще не дает полного представление о характере вращательного движения. Необходимо знать положение оси в пространстве, вокруг которой происходит вращение и направление самого вращения.
Для записи этих характеристик наиболее удобно изображать угловые скорости с помощью векторов. Обозначая угловую скорость Q вектором, мы должны совместить его с осью AA1 вращения тела и направить по оси АА1 в такую сторону, чтобы со стороны его конца вращение тела представлялось происходящим против часовой стрелки. Что касается величины угловой скорости Q, то она характеризуется длиной вектора, которая определяет в некотором масштабе ее численное значение.
Важно обратить внимание на тот факт, что ускорение, вызванное воздействием сил, оценивает изменение скорости не только по величине, но и по направлению. Для пояснения сказанного обратимся к рис.12, на котором материальная частица в виде шарика D соединена с помощью нерастяжимой нити OD длиной R с валом В электродвигателя ЭД, корпус которого неподвижно закреплен на фундаменте.
Рис.12. Схема для определения центростремительного ускорения
Как только вал двигателя начнет вращаться вокруг оси ААХ, шарик D также начнет перемещаться вокруг этой оси. Если вал двигателя вращается с постоянной угловой скоростью 2, то и шарик D будет двигаться с такой же по величине скоростью. Окружная скорость v = ΩR шарика D в этом случае постоянна, но все же его движение не остается равномерным и прямолинейным, так как изменяется направление его движения.
Действительно, если бы шарик D двигался равномерно с постоянной по величине скоростью v и прямолинейно, то, начиная, например, с момента совмещения центра шарика с точкой а, произошло бы его перемещение вдоль прямой ab. Но шарик движется по дуге окружности радиуса R. Поэтому в точке С направление скорости vc его движения будет уже отличным от направления скорости v, хотя численные их значения останутся равными.
Так как v и vc являются скоростями одного и того же непрерывно движущегося тела D, то очевидно, что скорость vc образовалась из первоначальной скорости v, получившей вследствие тех или иных причин некоторое изменение на величину v'. Скорости v и и' дают в геометрической сумме ту результирующую скорость vc, которой тело D будет обладать в точке С.
Учитывая, что треугольник Cfe (благодаря равенству скоростей v и vc) является равнобедренным и подобным треугольнику ОаС, у которого стороны Оа и ОС равны между собой и одновременно равны радиусу R, можно составить отношение между сторонами этих двух треугольников
Отрезки Сf и fe в выбранном масштабе выражают численные значения скоростей v и v'. Величина Оа равна радиусу R окружности, по которой происходит перемещение тела D. Кроме того, при малом значении угла Ωt поворота тела D вокруг оси ААХ длина дуги аС = RΩt будет практически равна длине хорды аС Учитывая сказанное, перепишем последнее отношение в следующем виде:
Таково значение той дополнительной скорости, которая была сообщена движущемуся шарику при повороте двигателя на угол Ωt. Эта дополнительная скорость v' и повлекла за собой изменение первоначальной скорости v. Относя величину v' изменения скорости движения ко времени t в течение которого это изменение произошло, мы найдем величину ускорения тела при его движении. Если угол поворота Ωt уменьшить до очень малого значения, близкого к нулю (т.е. рассматривать поворот тела за весьма малый промежуток времени kt), то нетрудно убедиться в том, что дополнительная скорость v' направлена вдоль радиуса R, иными словами к центру, поэтому рассматриваемое ускорение и получило название центростремительного.
















