147347 (594335), страница 2
Текст из файла (страница 2)
1 – гидроцилиндр подъема пути; 2 – реактивный кронштейн; 3 – гидроцилиндр сдвига пути; 4 – электромагнитные роликовые захваты; 5 – рихтующие ролики; 6 – траверса; 7 – центральная балка; 8 - шарнирный узел крепления центральной балки и реактивного кронштейна
Сброс решетки электромагнитным захватом происходит по нескольким причинам. На пути с асбестовым балластом происходит налипание металлических включений к магниту. Электромагнитное поле рассеивается, подъемная сила захвата уменьшается. Необходима очистка пространства в зоне рельса от балласта.
Рисунок 7 – Электромагнитный рельсовый захват
1 – электромагнитная катушка; 2 – опорный ролик; 3 – корпус электромагнита
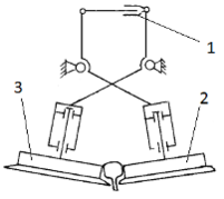
Рисунок 8 – Роликовый рельсовый захват
1 – гидроцилиндр привода захвата; 2 – рихтующий ролик; 3 – захватный ролик
Одной из причин сброса решетки является также неравномерность нагрузок на катушки по длине захвата. При изгибе решетки наибольший ее прогиб смещается в сторону более длинного свободного пролета и практически может находиться вне рельсового захвата. В результате задние катушки нагружаются больше, чем передние и это способствует отрыву от рельса всего магнита. Отрыву захвата способствует также неравномерность зазоров по его длине между нижней пластиной магнита и головкой рельса. По концам захвата они больше, чем в середине. Выравнивание нагрузок на катушки и равномерность зазоров можно обеспечить использованием секционных рельсовых захватов небольшой длины. При односекционном захвате эти недостатки можно устранить применением одноконсольного захвата. Консоль у захвата должна быть только с задней стороны.
Отрыв захвата от рельса происходит также вследствие неудачной конструкции подвески корпуса захвата к поперечной балке. Усилие на перемещение захвата вдоль рельса передается в верхней части его корпуса. При увеличении сопротивления перемещению захвата (особенно на стыках) создается дополнительный момент, разворачивающий магнит в вертикальной плоскости относительно переднего ролика. Это способствует отрыву захвата от рельса. Указанный недостаток можно устранить присоединением подвески к нижней части его корпуса. При такой конструкции существенно уменьшается момент, разворачивающий магнит. С этой же целью можно использовать захват с несимметричным расположением катушек относительно его подвески. Повышает надежность работы электромагнитного захвата также использование дублирующих рельсозахватных роликов.
Роликовые захваты используются в основном на машинах циклического действия. Они приводятся в действие при остановке машины во время рабочего цикла. В настоящее время делается попытка использования этих захватов на машинах непрерывного действия. Однако разработанные конструкции имеют ряд недостатков. В частности, не отработана конструкция, надежно удерживающая решетку в вывешенном состоянии при проходе рельсовых стыков. Не предусмотрены устройства для регулировки зазоров между роликами и рельсами в случае использования машин на путях с различным типом рельсов или при износе роликов. Как и в электромагнитных захватах, наиболее нагруженными являются ролики со стороны меньшего свободного пролета. В конструкции захвата должны быть предусмотрены устройства, выравнивающие нагрузки по его длине на захватных и рихтующих роликах. Нагрузки на один захватный ролик находятся в пределах 25...30 кН, на рихтующий ролик - 10...15 кН [10].
Надежность работы роликов зависит от их конструкции и взаимного расположения. Для свободного прохода захватами кривых участков пути и наибольшего вывешивания решетки с меньшим усилием необходимо захватывать рельс на небольшой длине. Однако сближение роликов может привести к тому, что оба комплекта захватных роликов будут находиться на рельсовой накладке. Надежность захвата и удержания решетки при этом резко снижается.
Конструкции захватов должны обеспечивать возможность прохода машиной кривых участков пути и участков с изменением ширины колеи, без заклинивания роликов. Особенно это важно в устройствах с электромеханическим приводом [4].
Следует отметить, что усовершенствование захватов делается с учетом типа машины и условий производства работ. Так, многосекционные захваты целесообразно применять на машинах с большими свободными пролетами (балластировочные и щебнеочистительные машины). На машинах с малой базой захваты должны быть небольшой длины и иметь дублирующие элементы.
2 РАЗРАБОТКА СТЕНДА
2.1 Геометрическая компоновка рабочего оборудования на раме
Основу стенда составляет удлиненная рама грузовой платформы (рисунок 9), состоящая из двух боковых балок и двух хребтовых изготовленных из двутавра № 60 с переменным по высоте сечением.
Рисунок 9 – Грузовая платформа
Длина рамы стандартной платформы была увеличена на 10250 мм и составляет 23650 мм, для того чтобы обеспечить базу стенда Lм=19950 мм.
ПРУ взято с выправочно-подбивочной машины ВПР-02 и смонтировано с опорой на раму стенда Кинематическая схема ПРУ представлена на рисунке 5.
Как уже говорилось в аналитическом обзоре, расположение подъемно-рихтовочного устройства в пролете путевых машин зависит от типа машины и ее назначения. У щебнеочистительных и балластировочных машин ПРУ расположено в середине пролета, а у выправочно-подбивочных машин ПРУ находится ближе к задней тележке. Схема компоновки подъемно-рихтовочного устройства на раме стенда изображена на рисунке 10.
Рисунок 10 – Общая схема компоновки лабораторного стенда
Проектируемый мной в дипломном проекте лабораторный стенд будет иметь переднюю стационарную тележку и заднюю перемещаемою вдоль рамы стенда.
Задняя тележка фиксируется в одном из трех возможных положений, для этого на раме стенда дополнительно находятся еще две шкворневых балки. При максимальной базе платформы Lм = 19950 мм, ось ПРУ находится в середине пролета как у щебнеочистительных и балластировочных машин. При минимальной базе платформы Lм =14570 мм, ось ПРУ расположена на расстоянии 4595 мм, что равнозначно расположению ПРУ у машины ВПР-02.
2.2 Расчет усилий вывешивания и сдвига бесстыкового пути
2.2.1 Расчет усилий вывешивания
2.2.1.1 Расчетный случай №1
Исходные данные: длина защемленного рельса в пролете стенда L: 18,1м; расстояние от оси ПРУ до ближайшей точки защемления рельса колесной парой передней тележки ар : 9,05 м; расстояние от оси ПРУ до ближайшей точки защемления рельса колесной парой задней тележки bp: 9,05 м; величины вывешивания путевой решетки Hвыв , м: 0,01; 0,05; 0,1; 0,15; 0,2; 0,25.
Расчетная схема изображена на рисунке 11.
Рисунок 11 – Расчетная схема №1 к определению усилия вывешивания РШР
Суммарное усилие вывешивания Рсум , Н [10]:
, (1)
где Р - основное усилие вывешивания путевой решетки Р, Н [10]; Рдоп - дополнительное усилие вывешивания путевой решетки Рдоп , Н [10].
, (2)
где q - погонное сопротивление подъему путевой решетки q, Н/м [10]; Е – модуль упругости рельсовой стали,
Н/м2 [10]; Ix – момент инерции поперечных сечений двух рельсов относительно главных горизонтальных осей, Iх =
м4 [10].
, (3)
где qпр – погонный вес путевой решетки, qпр = 6500 Н/м [10]; qб – погонное сопротивление балласта подъему, qб = 9500 Н/м [10]; к – коэффициент, зависящий от типа верхнего строения пути, к = 196 Н/м [10].
Н/м.
Н.
, (4)
где кд – поправочный коэффициент, кд = 1,2 [10]; дополнительные изгибающие моменты Мда и Мдб ,
[10].
, (5)
, (6)
где Рпр - продольное усилие растяжения двух рельсовых нитей, Н [10];
- угол поворота рельсов, рад [10].
, (7)
.
, (8)
где М1 - реактивный изгибающий момент ,
[10]; R1 - реактивное усилие, Н [10].
, (9)
, (10)
.
.
.
.
Реактивное усилие R2, Н [10]:
, (11)
Н.
Расчет усилий вывешивания рельсошпальной решетки по формулам (1) – (11) при различных величинах Hвыв сведен в таблицу 1.
Таблица 1 – Усилия вывешивания РШР при величине L=18,1 м
| Величина вывешивания решетки Hвыв, м | 0,05 | 0,1 | 0,15 | 0,2 | 0,25 |
| Погонное сопротивление подъему q, Н/м | 15990,2 | 15980,4 | 15970,6 | 15960,8 | 15951 |
| Основное усилие подъема решетки Р, Н | 168376,8 | 191953,7 | 215530,5 | 239107,4 | 262684,2 |
| Реактивное усилие R1 , Н | -60522,9 | -48645,8 | -36768,7 | -24891,5 | -13014,4 |
| Реактивное усилие R2 , Н | -60522,9 | -48645,8 | -36768,7 | -24891,5 | 13014,4 |
| Граничный реактивный момент M1 , Н м | -55593,2 | 1983,1 | 51627,2 | 105237,3 | 158847,5 |
| Угол поворота рельсов в, рад | 0 | 0 | 0 | 0 | 0 |
| Продольное усилие растяжения Рпр, Н | 86328 | 184428 | 282528 | 380628 | 478728 |
| Дополнительный изгибающий моментМда, Н м | 4316,4 | 18442,8 | 42379,2 | 76125,6 | 119682 |
| Дополнительный изгибающий момент Мдб, Н м | 4316,4 | 18442,8 | 42379,2 | 76125,6 | 119682 |
| Дополнительное усилие подъема Рдоп, Н | 1144,7 | 4890,9 | 11238,7 | 20188 | 31738,9 |
| Суммарное усилие вывешивания Рсум, Н | 169521,5 | 196844,6 | 226769,2 | 259295,4 | 294423,1 |
Вывод: из расчетов, приведенных в таблице 1, видно, что при базе платформы 19950 мм, подъемно-рихтовочное устройство сможет произвести вывешивание решетки на величину меньше 200 мм при максимальном усилии на штоках гидроцилиндров вывешивания – 250 кН.
2.2.1.2 Расчетный случай №2
Исходные данные: длина защемленного рельса в пролете стенда L: 15,41 м; расстояние от оси ПРУ до ближайшей точки защемления рельса колесной парой передней тележки ар: 9,05 м; расстояние от оси ПРУ до ближайшей точки защемления рельса колесной парой задней тележки bp: 6,36 м; величины вывешивания путевой решетки Hвыв , м: 0,01; 0,05; 0,1; 0,15; 0,2, 0,25.















